SPIRIT SP-3515 Standing Calf

INTRODUCTION
This manual will acquaint you with the assembly, operation, and maintenance of your strength equipment. SPIRIT Series – SP-3515 Standing Calf manufactured by Spirit Fitness® Be sure to read and follow the information and instructions before assembling, using or servicing SPIRIT strength equipment.
MANUFACTURER
Dyaco International Inc.
Taipei HQ Office
12F, No.111, Songjiang
Rd. Taipei City, Taiwan, 10486
TEL: +886-2-2515-2288
FAX: +886-2-2515-9963
Email: [email protected]
INTERNATIONAL OFFICES
IMPORTANT SAFETY INSTRUCTIONS
Read the Owner’s Manual carefully before assembling, servicing or using the equipment. It is the responsibility of the facility owner and/or owner of the equipment to instruct users on proper operation of the equipment and review all labels.
WARNING: Serious injury could occur if these safety precautions are not observed:
USER SAFETY PRECAUTIONS
- Obtain a medical exam before beginning any exercise program.
- Stop exercising if feeling faint, dizzy or experiencing pain and consult your physician.
- Obtain instructions before using.
- Read and understand the owner’s manual and all warnings posted on the machine before using.
- Keep all children (12 and under) away. Teenagers (13 and over) and disabled must be supervised.
- Keep body and clothing free from and clear of all moving parts.
- Use the machine only for the intended use. DO NOT modify the machine.
- Inspect the machine prior to use. DO NOT use if it appears damaged or inoperable.
- Inspect all cables and connections prior to use. DO NOT use if any components are worn, frayed or damaged.
- DO NOT attempt to fix a broken or jammed machine. Notify floor staff.
- DO NOT use if guards are missing or damaged.
- Be sure that the weight pin is completely inserted. Use only the pin provided by the manufacturer. If unsure seek assistance.
- Never pin the weights in an elevated position. DO NOT use this machine if found in this condition. Seek assistance from floor staff.
- DO NOT use dumbbells or other incremental weights, except those provided by the manufacturer.
- Report any malfunctions, damage or repairs to the facility.
- Replace any warning labels if damaged, worn or illegible.
- DO NOT use this machine outdoors.
FACILITY SAFETY PRECAUTIONS
- Read the Owner’s Manual carefully before assembling, servicing or using the equipment.
- Make sure that each machine is set up and operated on a solid level surface.
- Make sure that all users are properly trained on how to use the equipment.
- Make sure there is enough room for safe access and operation of the equipment.
- Perform regular maintenance checks on the equipment. Also pay close attention to all areas most susceptible to wear, including (but not limited to) cables, pulleys, belts, and grips.
- Immediately replace worn or damaged components. If unable to immediately replace worn or damaged components then remove from service until the repair is made.
- Use only Spirit Fitness supplied components to maintain/repair the equipment.
- Keep a repair log of all maintenance activities.
- Inspect all cables and belts and connections prior to use. DO NOT use if any components are worn, frayed, or damaged.
NOTE: It is the sole responsibility of the user/owner or facility operator to ensure that regular maintenance is performed.
SECURING EQUIPMENT
The machine has holes in the feet, which allow for ease in anchoring to the floor. Spirit Fitness strongly recommends that to eliminate rocking, tipping or falling over due to incorrect usage and misuse, the equipment be secured to a solid, level surface. The solid, level surface should not deviate more than 1/8” over a 10’ distance or as defined and required by local building and architectural codes.
Anchoring of equipment must be completed by a qualified licensed contractor. Anchoring holes are provided on the feet of the frame. All anchoring locations must be used when anchoring the equipment to the floor. Due to the wide variation of flooring on which machines may be anchored or installed, verify anchoring method and anchoring fasteners with a qualified and licensed contractor. All anchor points must be able to withstand 750 lbs. (3.3 kN) pull-out force. Do not use the machine until it is properly anchored.
SAFETY GUIDELINES AND PRACTICES
Spirit Fitness recommends that all fitness equipment be used in a supervised area. It is recommended that the equipment be located in an access-controlled area. Control is the responsibility of the owner. The extent of control is at the discretion of the owner. It is the responsibility of the purchaser/user of Spirit Fitness products to read and understand the owner’s manual, and warning labels; as well as instruct all individuals, whether end-users or supervising personnel, on proper usage of the equipment.
PROPER USAGE
- Use the machine only as described in the manual. Failing to follow proper instructions may result in injury.
- Do not lean against or pull on the framework or any component, whether the machine is at rest or in use. Inappropriate or improper use may result in injury to users or third parties (bystanders).
- Do not use the machine if it is not located on a solid level surface or is improperly installed.
- Provide an adequate safety perimeter between the machine, walls, and other equipment to ensure that the facility has the proper clearance for usage and training.
Live area and Training area
The live area shall be not less than 600mm (23.62”) greater than the training area in the directions from which the equipment is accessed. The live area must also include the area for the emergency dismount.

California Prop 65 Warning
WARNING: This product can expose you to chemicals including Toluene and Acrylamide, which are known to the State of California to cause cancer and birth defects or other reproductive harm.
For more information go to www.P65Warnings.ca.gov.
PRECAUTIONS
These safety notes are directed to you as the owner of the Strength Equipment manufactured by Spirit Fitness. Please train all your users and fitness staff to follow these safety instructions. DO
- Do encourage each of your users to discuss their health program or fitness regimen with a healthcare professional.
- Do stop operating your Strength Equipment if you feel dizzy or faint.
- Do perform regular preventative maintenance.
- Do the exercise slowly until you reach a level of comfort.
DO NOT
- Do not let unsupervised children operate the Strength Equipment.
- Do not use without proper athletic shoes.
- Do not use in rainy weather outdoors, or in an enclosed pool environment.
- Do not drop or insert any object, hands, or feet into any opening or within the area of the product.
- Do not attempt to remove any shrouds or modify the Strength Equipment.
WARNING
- Your Strength Equipment manufactured by Spirit Fitness is designed for exercise in a commercial or consumer environment.
- Please check with your physician prior to beginning any exercise program.
- Do not push yourself to excess. Stop if you are feeling faint, dizzy, or exhausted. Use common sense during workouts.
- Read the owner’s manual in its entirety before operating the Strength Equipment.
- Failure to obey this warning can result in injury or death.
SPIRIT FITNESS® and the Spirit Fitness logo are registered trademarks of Dyaco International.
WARNING LABELS AND COMMUNICATION STICKERS
The following pages show examples of Spirit® Fitness warning labels and communication stickers placed on the equipment as part of the manufacturing process. It is critical that owners maintain the integrity and placement of these stickers. If you find any stickers missing or damaged contact your local dealer or distributor for a replacement. If any instructions or information are not clear, please contact SPIRIT FITNESS customer service right away.
NOTE: STICKERS AND LABELS ARE NOT SHOWN TO SCALE

SAFEGUARDS
The following fitness safeguards and operating precautions are directed to purchasers and users of the Strength Equipment. Club Managers should ensure that members and fitness staff are trained to follow these same instructions. Failure to follow these safeguards may result in injury or serious health risks.
Proper Usage
- DO NOT use any equipment in any way other than designed or intended by the manufacturer. It is imperative that SPIRIT FITNESS equipment is used properly to avoid injury.
- Injuries may result if exercising improperly or excessively. It is recommended that all individuals consult a physician prior to commencing an exercise program. If at any time during exercise you feel faint, dizzy or experience pain, STOP EXERCISING and consult your physician.
- Keep body parts (hands, feet, hair, etc.), clothing, and jewelry away from moving parts to avoid injury.
- Follow instructions provided in this manual for correct foot position and basic techniques.
- The maximum weight for individuals using the Strength Equipment should not exceed 330 pounds (150 kilograms).
Inspection
- DO NOT use or permit use of any equipment that is damaged and/or has worn or broken parts. For all SPIRIT FITNESS equipment use only replacement parts supplied by SPIRIT FITNESS.
- Cables and belts pose an extreme liability if used when frayed. Always replace any cable or belt at the first sign of wear (consult SPIRIT FITNESS if uncertain).
- EQUIPMENT MAINTENANCE – Preventative maintenance is the key to smooth operating equipment as well as to keeping your liability to a minimum. Equipment needs to be inspected at regular intervals.
- Ensure that any person(s) making adjustments or performing maintenance or repair of any kind is qualified to do so.
- DO NOT ATTEMPT TO USE OR REPAIR ANY ACCESSORY APPROVED FOR USE WITH THE SPIRIT FITNESS EQUIPMENT THAT APPEARS TO BE DAMAGED OR WORN.
- Check all belts, pulleys and bungee cords regularly for signs of wear, and replace if needed.
- Check regularly and follow all instructions for maintenance as specified in this manual.
- Replace immediately any defective parts and do not operate the unit until all repairs are complete.
Operating Warnings
- Keep children away from the equipment. Parents or others supervising children must provide close supervision of children if the equipment is used in the presence of children.
- Do not allow users to wear loose-fitting clothing or jewelry while using the equipment. It is also recommended to have users secure long hair back and up to avoid contact with moving parts.
- All bystanders must stay clear of all users, moving parts, and attached accessories and components while the machine is in operation.
Note: This Strength Equipment is not suitable for therapeutic purposes.
ASSEMBLY & SETUP
\Use the following procedures to unpack and assemble your Strength Equipment manufactured by Spirit Fitness.
UNPACKING & PARTS
- Position the shipping carton so the Heavy End is located at the bottom.
- Cut the straps then lift the box over the unit and unpack. Remove all parts from the shipping carton and foam inserts, and verify that all parts are included in your shipment:
- Locate the hardware package. The hardware is separated into four steps. Remove the tools first. Remove the hardware for each step as needed to avoid confusion. The numbers in the instructions that are in parenthesis (#) are the item number from the assembly drawing for reference.
NOTE: All tools required to assemble the Strength Equipment are included within the packaging.
Take time now to enter your Strength Equipment serial number in the space below.
(Serial number is located on the center tube, see page 7).
Serial No._____________________________________________
NOTE: If you are missing any of the parts listed above, inspect the packing material and the box for items that may have been overlooked.
If parts are missing, or if you have any operational questions, please call your local Spirit Fitness Service department or the distributor who sold you the product. Please see page 4 for a listing of international corporate offices and locate the office nearest you. Have your serial number ready.
CAUTION: Damage to the Strength Equipment during assembly is not covered as part of the limited Spirit Fitness warranty. Take care not to drop or lean the Strength Equipment on its side. Carefully stand the Strength Equipment up in the normal upright position on a stable surface so it will not tip over during assembly. Protect the environment by not disposing of this product with household waste. Check your local authority or approved waste center for recycling advice and facilities.
PRODUCT SPECIFICATIONS
- Maximum Training 109KG/240LBS
- Weight Products Weight 236KG/520LBS
- Overall Dimensions 846*776*1622M
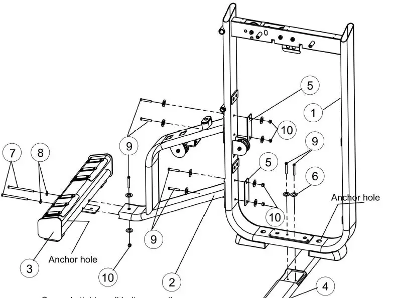
PARTS LIST





- Securely tighten all bolt connections.
- Stabilize the machine firmly on the floor with the anchor hole.
- Note: For the accurate assembling details please consult the professional agent.
- Note: No.6 flat washer images were magnified 2 times, it will not be marked again after here


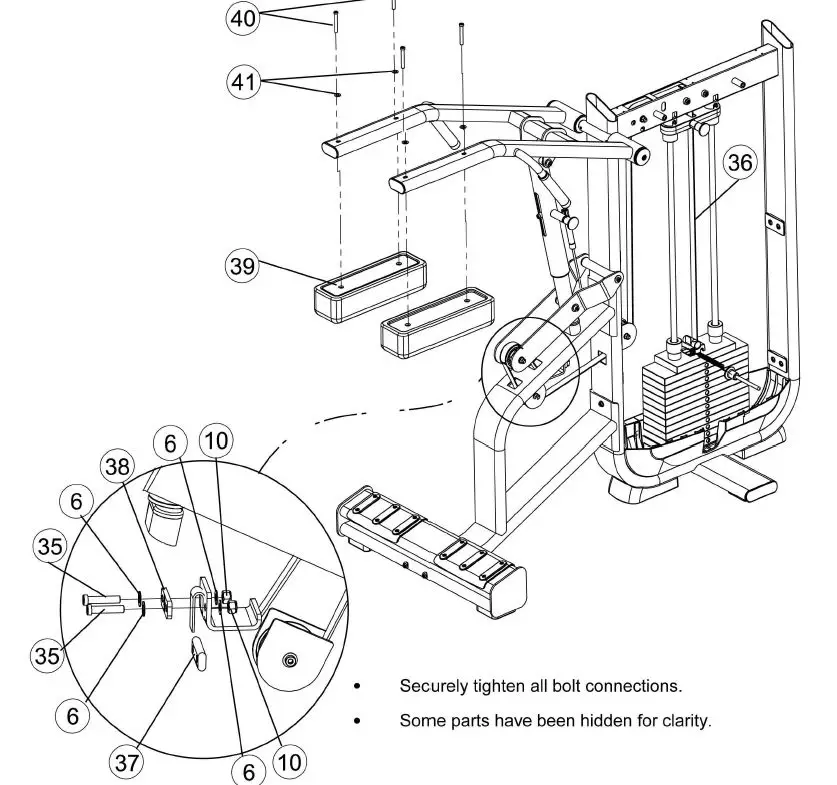
- Securely tighten all bolt connections




- Securely tighten all bolt connections.
- Some parts have been hidden for clarity.
- BELT ROUTING
Follow these steps to assemble the Belt to the head Plate: - Loosen the bolts that hold the Belt Tensioner to the Belt Retainer
- Slide the Belt underneath the Belt Tensioner between the Bolts leaving approximately 1″ of Belt exposed on the other side.
- Securely tighten the Bolts and Belt Tensioner to the Belt Retainer.

- Securely tighten all bolt connection~·
- Some parts have been hidden for clarity







START WORKOUT
Warning: Improper use and form on the product might cause injury


MAINTENANCE
A regular preventative maintenance schedule with all fitness equipment ensures that products are working at an optimal condition without affecting the end-user exercise experience. To assist in the maintenance regiment, it is recommended to break service into Daily, Weekly, & Monthly activities. Details on each activity can be found in the “Maintenance” section of this document. All preventive maintenance activities must be performed on a regular basis. Performing routine preventive maintenance actions can aid in providing safe, trouble-free operation of all SPIRIT equipment. SPIRIT is not responsible for performing regular inspection and maintenance actions for your machines. Instruct all personnel in equipment inspection and maintenance actions and also in accident reporting and recording.
| Item | Time Frame | Instructions |
| Belt & Cable | Daily | Make sure terminals of cables are fixed securely. |
| Upholstery | Daily | Make sure the Upholstery is clean and without broken.. |
| Bolts & Screw | Daily | Make sure joints of frames are fixed securely |
| Weight Stacks | Every two weeks | To spread grease or silicon on posts of weight stacks every 2 weeks if it moves not smoothly. |
| Movement part | Every two weeks | To spread grease or silicon on the contact surface of all moving parts every 2 weeks if they move not smoothly (Too much grease or silicon may cause splashes and dirt). |
| Frame | Every month | To make sure security of all joints. |
| Machine | As Needed | Regularly checking the condition of fasteners, cables, and belts are needed. |
Spirit Fitness
3000 Nestle Rd.
Jonesboro, AR 72401
TEL: +1-870-935-1107 (Local)
TOLL FREE: +1-800-258-8511 EMAIL: [email protected]
Dyaco Japan
Nishi Kasai Medical Bldg. 3F,
6-24-7 Nishi Kasai, Edogawa, Tokyo, 134-0088 JAPAN
Tel: +81-3- 6808-3385
Fax: +81-3- 6808-3386
Email: [email protected]
Dyaco Shanghai
Room 1001, Building C,
No.728, Shuguang Road,
Yangpu District,
Shanghai, China
Tel: (86) 21-65068300
Fax: (86) 21-65068150
Dyaco UK Ltd
Unit 5 Mill Square
Featherstone Road
Wolverton Mill South
Milton Keynes,
MK12 5ZD, UK
Tel: +44 (0)800 029 3865
Email: [email protected]
Dyaco Germany Friedrich-Ebert-Straße 75 51429 Bergisch Gladbachß Tel: +49 (0)2204 844 340 Fax: +49 (0)2204 844 333 Email: [email protected]
Dyaco Canada
5955 Don Murie Street Niagara Falls, ONL2G 0A9 Canada
Tel: +1 888-707-1880 Fax: +1 905-353-8968 Email: [email protected]



















