poly B10 IP Desk Phone

Management Software

Tools for Wall Mount

Contents

Required

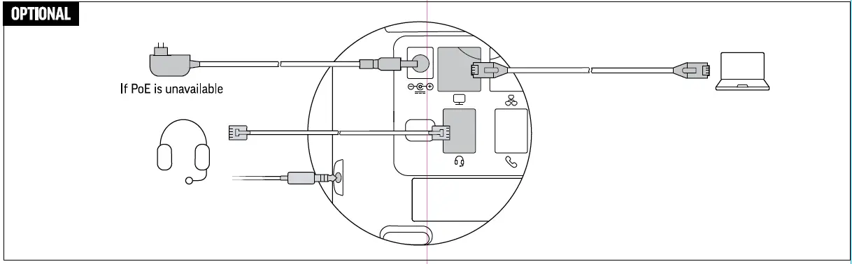
Optional

Desk

Wall Mount



UKCA
UK representative: Plantronics Ltd, Building 4, Foundation Park,
Cannon Lane, Part 1st Floor, Maidenhead, SL6 3UD
© 2021 Poly. All trademarks are the property of their respective owners.




















