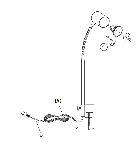
Home » Blog » Paul Neuhaus 997501 Tarik Led Clamp Light Instruction Manual Paul Neuhaus 997501 Tarik Led Clamp Light Instruction Manual Contents hide1 Paul Neuhaus 997501 Tarik LED Clamp Light2 SPECIFICATION3 INSTALLATION4 Documents / Resources5 Related PostsPaul Neuhaus 997501 Tarik LED Clamp LightSPECIFICATIONINSTALLATION Documents / Resouces Download manual Here you can download full pdf version of manual, it may contain additional safety instructions, warranty information, FCC rules, etc. To access the pdf donwload links, solve the captcha. Related Manuals Paul Neuhaus 4132 Juby Led Lamp With Clamp Instruction Manual Anslut 019951 Led Clamp Spotlight Instruction Manual Lucci Decor 259991 Izzy Led Clamp Lamp Instruction Manual Ikea Naevlinge Led Clamp Spotlight Instruction Manual Paul Neuhaus 835798 Led Light Instruction Manual Paul Neuhaus 270314 Selltec20 Led Light Instruction Manual Ryobi Pcl663 18 V Led Clamp Light Instruction Manual Leuchtendirekt 99731 Led Light Instruction Manual Paul Neuhaus 270342 Hans Led Light Lamp Instruction Manual Ikea 70449888 Navlinge Led Clamp Spotlight Instruction Manual Leuchtendirekt 997288 Led Light Instruction Manual Paul Neuhaus 834943 Led Lamp User Manual Ikea 104.899.62 Skurup Clamp Spotlight Instruction Manual Paul Neuhaus 836614 Led Table Lamp Instruction Manual Paul Neuhaus 9488 Led Wall Light Instruction Manual Paul Neuhaus 9030 Led Wall Light Instruction Manual Paul Neuhaus 9489 Led Wall Light Instruction Manual Lezyne Led Light User Manual Paul Neuhaus 8059 Led Light And Bulb Instruction Manual Rihuida Cl33rgbv2 Led Light Instruction Manual