Eastern Tabletop Outdoor Portable Patio Heaters User Manual

WARNING SAFETY RULES
PLEASE READ THE FOLLOWING SAFETY RULES PRIOR TO OPERATION OF THE HEATER
FOR YOUR SAFETY
If you smell gas:
- Shut off gas to the appliance.
- Extinguish any open flame.
- If odor continues, immediately call your gas supplier or your fire Department.
FOR YOUR SAFETY
- Do not store or use gasoline or other flammable vapors and liquids in the vicinity of this or any other appliance.
- An LP cylinder not connected for use shall not be stored in the vicinity of this or any other appliance.
WARNING
- For use outdoors or in amply ventilated areas.
- An amply ventilated area must have a minimum of 25 % of the surface area open.
- The surface area is the sum of the walls surface.

WARNING: Improper installation, adjustment, alteration, service or maintenance Can cause injury or property damage. Read the installation, operating and maintenance instructions thoroughly before installing or servicing this equipment.
WARNING
Read the instructions before installation and use.
- This appliance must be installed and the gas cylinder stored in accordance with the regulations in force;
- Do not obstruct the ventilation holes of the cylinder housing;
- Do not move the appliance when in operation;
- Shut off the valve at the gas cylinder or the regulator before moving the appliance;
- The tubing or the flexible hose must be changed within the prescribed intervals;
- Use only the type of gas and the type of cylinder specified by the manufacturer;
The LP tank used with your patio heater must meet the following requirements:
Purchase LP tanks only with these required measurements:
(30.5cm) (diameter) x 57.1 cm) (tall) with 23kg capacity maximum. - In case of violent wind particular attention must be taken against tilting of the appliance;
CAUTION
PLEASE READ CAREFULLY THE FOLLOWING SAFETY GUIDELINES BEFORE OPERATION.
- Do not use the patio heater for indoors, as it may cause personal injury or property damage.
- This outdoor heater is not intended to be installed on recreational vehicles and/or boats.
- Installation and repair should be done by a qualified service person.
- Improper installation, adjustment, alteration can cause personal injury or property damage.
- Do not attempt to alter the unit in any manner.
- Never replace or substitute the regulator with any regulator other than the factory-suggested replacement.
- Do not store or use gasoline or other flammable vapors or liquids in the heater unit.
- The whole gas system, hose, regulator, pilot or burner should be inspected for leaks or damage before use, and at least annually by a qualified service person.
- All leak tests should be done with a soap solution. Never use an open flame to check for leaks.
- Do not use the heater until all connections have been leak tested.
- Turn off the gas valve immediately if smell of gas is detected. Turn Cylinder Valve OFF. If leak is at Hose/ Regulator connection: tighten connection and perform another leak test. If bubbles continue appearing should be returned to hose’s place of purchase. If leak is at Regulator/Cylinder Valve connection: disconnect, reconnect, and perform another leak check. If you continue to see bubbles after several attempts, cylinder valve is defective and should be returned to cylinder’s place of purchase.
- Do not transport heater while it’s operating.
- Do not move the heater after it has been turned off until the temperature has cooled down.
- Keep the ventilation opening of the cylinder enclosure free and clear of debris.
- Do not paint the radiant screen, control panel or top canopy reflector.
- Control compartment, burner and circulation air passageways of the heater must be kept clean.
- Frequent cleaning may be required as necessary.
- The LP tank should be turned off when the heater is not in use.
- Check the heater immediately if any of the following occurs:
– The heater does not reach temperature.
– The burner makes popping noise during use (a slight noise is normal when the burner is extinguished).
– Smell of gas in conjunction with extreme yellow tipping of the burner flames. - The LP regulator/hose assembly must be located out of pathways where people may trip over it or in area where the hose will not be subject to accidental damage.
- Any guard or other protective device removed for servicing the heater must be replaced before operating the heater.
- Adults and children should stay away from high temperature surface to avoid burns or clothing ignition.
- Children should be carefully supervised when they are in the area of the heater.
- Clothing or other flammable materials should not be hung on the heater or placed on or near the heater.
- To change the gas cylinder in a amply ventilated area, away from any ignition source (candle, cigarettes, other flame producing appliances, …);
- To check that the regulator seal is correctly fitted and able to fulfill its function showed as photo right;
- To not obstruct the ventilation holes of the cylinder housing;
- To close the gas supply at the valve of the gas cylinder or the regulator after use;
- In the event of gas leakage, the appliance shall not be used or if alight, the gas supply shall be shut off and the appliance shall be investigated and rectified before it is used again;
- To check the hose at least once per month, each time the cylinder is changed, or each time before long time no use. If it shows signs of cracking, splitting or other deterioration it shall be exchanged for new hose of the same length and of the equivalent quality;
- The use of this appliance in enclosed areas can be dangerous and is PROHIBITED;
- Read the instructions before using this appliance. The appliance must be installed in accordance with the instructions and local regulations.
- For connection of hose and regulator, and connection of regulator and hose, please refer to photo showed above.
HEATER STAND AND LOCATION

- The heater is primarily for outdoor use only. Always ensure that adequate fresh air ventilation is provided.
- Always maintain proper clearance to non protected combustible materials i.e. top 100 cm and sides 100 cm minimum.
- Heater must be placed on level firm ground.
- Never operate heater in an explosive atmosphere like in areas where gasoline or other flammable liquids or vapors are stored.
- To protect heater from strong wind, anchor the base securely to the ground with screws.
GAS REQUIREMENTS
- Use propane, butane or their mixtures gas only.
- The pressure regulator and hose assembly to be used must conform to local standard codes.
- The installation must conform to local codes, or in the absence of local codes, with the standard for the storage and handling of liquid petroleum gases.
- A dented, rusted or damaged tank may be hazardous and should be checked by your tank supplier. Never use a tank with a damaged valve connection.
- The tank must be arranged to provide for vapor withdrawal from the operating cylinder.
- Never connect an unregulated tank to the heater.
LEAKAGE TEST
Gas connections on the heater are leak tested at the factory prior to shipment. A complete gas tightness check must be performed at the installation site due to possible mishandling in shipment or excessive pressure being applied to the heater.
- Make a soap solution of one part liquid detergent and one part water. The soap solution can be applied with a spray bottle, brush or rag. Soap bubbles will appear in case of a leak.
- The heater must be checked with a full cylinder.
- Make sure the safety control valve is in the OFF position.
- Turn the gas supply ON.
- In case of a leak, turn off the gas supply. Tighten any leaking fittings, then turn the gas supply on and re- check.
- Never leak test while smoking.
Operation and Storage


Construction and characteristics
- Transportable terrace/garden heater with tank housing
- Casing in steel with powder-coating(BSH-B) or in stainless steel(BSH-A).
- Gas hose connections with metal clamp (screw caps for Germany)
- Heat emission from reflector
Specifications
- Use propane, butane or their mixtures gas only.
- Max. wattage: 13000 watts
- Min. wattage: 5000 watts
- Consumption:

- Using the proper regulator according to outlet pressure of regulator as showed in the table above.
Table of injector

- The hose and regulator assembly must conform to local standard codes.
- Regulator outlet pressure should meet the corresponding appliance category in B. Specification.
- The appliance requires approved hose in 1.4m length.
ASSEMBLY PARTS
Tools needed:
- Philips screwdriver w/ medium blade
- Spray bottle of soap solution for leakage test
Parts List:


ASSEMBLY PROCEDURES
STEP 1
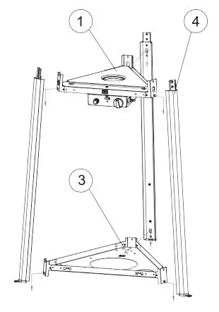
1-1. Insert the pin of bottom plate (3) to the lower holes of lower support (4).
1-2. Insert the pin of control box assy (1) to the upper holes of lower support.

Note: The side of control box assy which has the magnet should be the same side of bottom plate which has the holes for front panel.
STEP 2
Insert three upper support (5) to the three lower support.

STEP 3

3-1. Assembly the top plate (6). Insert the pin of top plate to the upper hole of upper support.
3-2. Secure the top plate, control box assy and bottom plate with 9pcs M5X12 screw.

STEP 4

Assemble the wheel assy (2) to the bottom plate using 8pcs M6x10 bolts (21).

STEP 5

Secure the block belt (15) to the lower supports with 2pcs M5x12 screws (16).

STEP 6
Install the glass tube(7). Carefully install the glass tube between central of top plate and control box assy. Make sure to place the lower end of the glass tube between the three clips on the control box assembly.

STEP 7

7-1. Assembly the damper (8). Put the damper on the quartz tube, press it and make sure the ceramic fibre in the damper is in the outside of quartz tube.
7-2. Secure the damper with 3pcs M5X12 screws (16).

STEP 8

Install 2pcs side panels (12) with 8pcs M5x12 screws.
Note : Do not cover the front panel where the control knob is located.

STEP 9

Assemble the chain (25) and wafer (26) to the inside of front panel (13) with M4x10 screw (23) and M4 nut (22) and then install the knob (24) to M4x10 screw. Hang the chain to the hole on the control box assembly and attach the pothook on front panel to the holes of bottom plate.

STEP 10
Install the protective guard(10). Hang the 3pcs protective guards on upper supports.

STEP 11

11-1. Insert the mesh (11) on the top plate. Align the holes to the holes of top plate.
11-2. Secure the mesh on the top plate with 3pcs M5X12 screws and 3pcs fixing brackets (20).

STEP 12

12-1. Install the reflector(9) with 3pcs studs (18), lean the heater carefully and attach the 3pcs small flat washer Φ8(19) on top of the heater.
12-2. Put washer on each stud and fasten the reflector with another washer and wing nut (17). Return the heater carefully to upright position.

STEP 13

STEP 14

PROBLEMS CHECK LIST

If the appliance is in case of any defaults or problems of assembly or use, please don’t try to modify it by yourself, contact your supplier or distributor to solve it.
Eastern Tabletop Outdoor Portable Patio Heaters User Manual – Optimized PDF
Eastern Tabletop Outdoor Portable Patio Heaters User Manual – Original PDF





















