User Manual
For Windows and Macintosh OS
KAMVAS® 20 | Model: GS1901

Precautions
1. Please read this manual carefully before using, and keep it well for future reference.
2. Before cleaning the display please unplug the USB cable and wipe with a soft damp cloth, do not use any kind of detergents.
3. Please don’t place the display near water sources such as bathtub, washbasin, sinks, washing machine, damp basement, swimming pool, etc.
4. Do not place the display on where is unstable or a height for children reaching easily in order to avoid danger.
5. Do not place the display and digital pen close to the magnetic field.
6. The grooves and holes on the back case is designed for ventilation to prevent the monitor from overheating. Please don’t place the display on beds, sofas, carpets or in embedded device.
7. Only power supplies shown on the nameplate can be used for the display. If you have questions about the power supply which you are using, please consult the distributor of your display.
8. To protect your display, please switch off the power when it is not in use. During blackouts or not using for long time, please unplug the display from the socket.
9. Don’t overload the socket or lengthen the power wire, which may lead to electric shocks.
10. Make sure no foreign bodies get inside the monitor through grooves and prevent liquid from splashing on the display as to prevent short-circuit or fire.
11. If the display has a breakdown, do not open the main case and try to repair it by yourself. Please ask for a service for proper repair and maintenance.
12. When the following situations occur, please unplug the power adapter and you may need a service for full repair and maintenance:
A. The power wire or plug is damaged or worn out;
B. There is liquid splashed inside of the display;
C. The display has fallen or the LCD is broken;
D. When obvious abnormalities occur to the display.
13. While getting the components replaced, you are supposed to guarantee that the repairman is using the substitute components specified by the manufacturer. Unauthorized component replacement might cause fire, electric shocks or other dangers.
Product Overview
Display Introduction
Thanks for choosing HUION® KAMVAS® 20 graphics display. This is a new generation of desktop-level professional drawing display, which can greatly improve your work efficiency of painting and creation, and full of fun. You can freely painting and writing, depicting different lines and colors, just as the pen writes on the paper, which brings you a real shock experience. To give you a better understanding and using of your KAMVAS, please read this user manual carefully. The user manual only shows the information under Windows, unless otherwise specified, this information applies to both Windows and Macintosh systems.
Product and Accessories
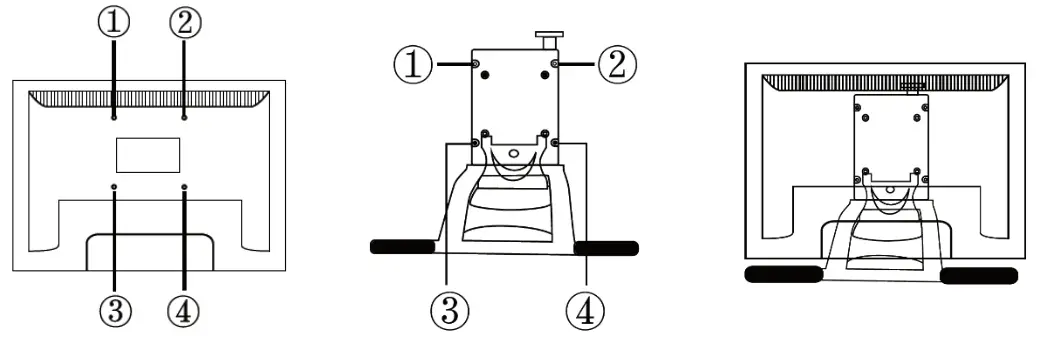
Display Overview

Adjustable Stand
We designed this ergonomic adjustable stand especially for your KAMVAS display, you can adjust the angle of the display according to your usage habit, and make you feel more comfortable when painting and creating.
Setting up Display
1. Take out the pen display and stand from the package, then assemble the stand to the back of the display with attached screwdriver according to the following instruction.

2. As shown on below, connect the pen display to your computer with attached power adapter, HDMI cable and USB Cable.
3. Press the power button on the bottom of the display to power on the display

Installing the Driver
OS Support
Windows 7 or later,macOS 10.12 or later
Install via Download
Please download the driver from our website: www.huion.com/download After finishing the installation, you can find the driver icon
in the system tray area, which means the driver was installed successfully; when you connect the tablet to computer, the icon will change to color
, which means the driver has already recognized the tablet and you can start using it now.
Notice:
1. Before installing, you need to uninstall another driver of similar products, including the old driver of this product.
2. Before installing, please close all graphics software and anti-virus software to avoid unnecessary mistake.
Pen Nib Replacement
The nib will be worn out after using for a long time, then you need to replace a new nib.

Product Basic Operation
Using The Pen
Hold the pen
Hold the pen as you hold a normal pen or pencil. Adjust your grip so that you can toggle the side switch easily with your thumb or forefinger. Be careful not to accidentally press the switch while drawing or positioning with the pen.

Notice: When not in use, place the pen in the pen case or on the desk. Do not place the pen on the surface of screen, which may interfere with the use of other screen cursor positioning equipment, it may also cause your computer unable to enter the sleep mode.
Position the cursor
Move the pen slightly above the active area without touching the screen surface, the cursor will move to the new position accordingly. Press the pen tip on the screen to make a selection. Tap the screen once with the pen tip, or touch it to the screen with enough pressure to register a click.

Click
Use the pen tip to tap on the screen once to produce a click. Tap to highlight or select an item on the screen and double-click to open it.

Move
Select the object, then slide the pen tip across the screen to move it.

The side buttons of the pen can be set to two different customizable functions. You can use the buttons whenever the pen tip is within 10mm of the display active area. You do not have to touch the pen tip to the display in order to use the switch.

OSD Setting

POWER — Power on/off the display.
MENU —- Press to call up the menu, after entering menu, it’s function is confirm.
+ —– After entering menu, it’s function is to up/right/increase.
– —– After entering menu, it’s function is to down/left/decrease.
AUTO —– Before entering menu, it’s function is auto adjustment. After entering menu, it’s function is back to previous menu.
Brightness Setting

1. BRIGHTNESS: Adjusting background brightness of the screen images.press the buttons“+”and“-”to increase and decrease brightness.
2. CONTRAST: Adjusting difference between darkness and brightness of the screen. Press the buttons“+”and“-”to increase and decrease contrast.
3. ECO: There are four eco modes of“STANDARD, TEXT, GAME, MOIVE”.
4. DCR: Choosing“on/off”to on/off Dynamic Contrast Ratio.
Image Setting

1. H.POSITION: Adjusting images left and right by using the buttons“+”and“-”.
2. V.POSITION: Adjusting images downward and upward by using the buttons“+”and“-”.
3. CLOCK: Adjusting the vertical blinking of characters on the screen.
4. PHASE: Adjusting the horizontal blinking of characters on the screen.
5. ASPECT: There are“WIDE”and“4:3”two modes for you to adjust the aspect of the screen.
Color Temp. Setting

COLOR TEMP.: There are three color modes of “WARM, COOL, USER “.
OSD Setting

1. LANGUAGE: There are 12 languages for your choice.
2. OSD H. POS.: Adjusting the OSD position left and right by using the buttons “+”and“-”
3. OSD V. POS.: Adjusting the OSD position downward and upward by using the buttons“+”and“-”
4. OSD TIMER: Increase and decrease the residence time of the OSD menu by using the buttons“+”and“-”.
5. TRANSPARENCY: Press “MENU”, then“+”and“-”to adjust the transparency of the OSD menu.
Reset

1. IMAGE AUTO ADJUST: Automatically adjust the image’s horizontal/vertical position, focus and clock.
2. COLOR AUTO ADJUST: Automatically adjust the image color balance.
3. RESET: All the setting options will be restored to the default setting.
MISC

MISC: Display the current adjustment information.
Function Setting
Device Connection Prompt
1. Device disconnected: The computer does not recognize the tablet.
2. Device connected: The computer has recognized the tablet.

Working Area Setting
Using Multiple Monitors
When the KAMVAS and other monitors are used in the same system, the movement of the screen cursor on the standard display depends on the system configuration. If the secondary display is a mirrored mode connection, KAMVAS and another monitor will display exactly the same image and screen cursor movement. If you are in the extended display mode, you need to set the display on the driver that which portion of the display screen your KAMVAS will map to.

Working Area Setting
Define the display area that will be mapped to the screen area.
1. Full Area: the entire active area of the Display. This is the default setting.
2. Same Ratio with LCD.
3. Customized Area: 1.> Enter coordinate values. or2>. Drag the corners of the foreground graphic to select the screen area.

Rotate Working Area
By changing the direction of the tablet to adapt to the left and right hand operation. You can rotate the tablet by 0°,90°,180° or 270°.

Select the function to be achieved on the pop-up dialog box, then click APPLY or OK to take effect.

Pressure Sensitivity Setting
The pressure sensitivity will be changed by dragging the slider up and down, the smaller the value, the more sensitive the pressure.

Pen Pressure Testing
You can gradually apply pressure to the stylus on the screen to test the pressure level. Click “Clear” button to clear all the ink.

Calibration
Screen Calibration: Click the red point of the cross center appearing on the screen to complete the calibration. Restore Factory Settings: Click “Restore Default” to restore to the factory settings. Cancel Calibration: Click”Cancel calibration” or press ESC on the keyboard to cancel the calibration.

Enable the Windows Ink feature
Microsoft Windows provides extensive support for pen input. Pen features are supported in such as Microsoft Office、Windows Journal、Adobe Photoshop CC、 SketchBook 6 and so on.

Data Export and Import
The driver supports exporting and importing your customized configuration data of the product, which is convenient for you to use different software and avoid the trouble of repeated settings.

Specifications
| ITEM | GS1901 | |
| Screen | Panel Size | 19.5 inch |
| Resolution | 1920 x 1080 (16:9) | |
| LCD Type | TFT LCD IPS | |
| Active Area | 434.88 x 238.68mm | |
| Brightness | 250cd/m2 | |
| Response Time | 25ms | |
| View Angle | 89*/89*(H)/89°/89°(V) (Typ.)(CR > 10) | |
| Gamut | 120% sRGB | |
| Display Color | 16.7M | |
| Touch | Touch Type | Battery-Free Electromagnetic Resonance |
| Resolution | 5080LPI | |
| Pressure Level | 8192 | |
| Accuracy | ±0.5mm (Center) ±3mm (Corner) | |
| Sensing Height | 10mm | |
| Report Rate | 266PPS | |
| Pen | Model | PW507 |
| Net Weight | 14 g | |
| Dimension | 163.7 x 014.3mm | |
| General | Working Power Consumption | 36W |
| Input Voltage | 100-240VAC, 50/60Hz | |
| Output Voltage | DC12V 3A | |
| Video Interface | 1-IDMI, DP, VGA | |
| Dimension | 475 x 298 x 35mm (Without Stand) | |
| Net Weight | 3.3KG(without stand) | |
| Adjustable Stand | 20°-80° | |
| OS Support | Windows 7 or later, macOS 10.12 or later | |
Trouble Shooting
| Abnormal Phenomena | Possible Solutions |
| Power indicator does not flash | ‘Make sure power is on ‘Check the socket and power cable |
| No display on the screen | 1.Make sure power is on. 2.Correctly connect the cable. 3.If you connect the display with a laptop, please make sure the display is on the right display mode: extend or duplicate mode. 4.Check whether the side indicator shows green, if not, it means no signal in. Please reboot your computer or reconnect the cable. 5.Is the signal wire broken or bent? If so, please replace the signal wire. |
| Images are blurred | Please set the display resolution with 1920 x 1080. |
| Lack of colors | Check the pins of the signal wire are not bent or fractured. |
| There is chromatic aberration | As the regional color temperature is different so minor chromatic aberration is a normal phenomenon. |
| Images jitter or ripple images appear | It is likely that there is electric equipment nearby that brings about electronic interference. |
| Abnormal Phenomena | Possible Solutions |
| Pen doesn’t work and no pressure in the graphics software | 1.If the driver is damaged or is not properly installed, please uninstall the driver and reinstall it. 2.Try restarting your computer. 3.Try re-inserting the USB cable. |
| Cursor movement is abnormal | Try re-inserting the USB cable or restarting your computer. |
| The side button of the pen doesn’t work | When pressing the side button, please make sure that the nib didn’ t touch the glass surface and the distance between the nib and surface is within 10mm |
| There is a deviation between the tip and the cursor | Try calibration |
After-service Contact
SHENZHEN HUION ANIMATION TECHNOLOGY CO.,LTD.
Building 28, Quarter 4, HuaiDeCuiGang Industrial Park, Fuyong Street, Bao’an District, Shenzhen, 518106, China
Note: Information in this manual is subject to change without further notice. For more information, please contact us with our email: [email protected] Or go to our website (www.huion.com) to get the latest driver and user manual.




















