NORTRAC BE-LRMXG 3 Pt Heavy Duty Landscape Rake Instruction Manual
EXPLODED VIEW & PARTS BREAKDOWN

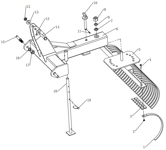
| REF | PART NO. | DESCRIPTION | QTY | |
| 1 | 650501 | Tooth | 5′ | 30 |
| 650601 | 6′ | 36 | ||
| 650701 | 7′ | 42 | ||
| 2 | 650502 | Lock Nut M10 | 5′ | 30 |
| 650602 | 6′ | 36 | ||
| 650702 | 7′ | 42 | ||
| 3 | 650503 | Tooth Support | 5′ | 5 |
| 650603 | 6′ | 6 | ||
| 650703 | 7′ | 7 | ||
| 4 | 650504 | Hex Bolt M10x35 | 5′ | 30 |
| 650604 | 6′ | 36 | ||
| 650704 | 7′ | 42 | ||
| 5 | 650505 | Tinebar Weldment | 5′ | 1 |
| 650605 | 6′ | 1 | ||
| 650705 | 7′ | 1 | ||
| REF | PART NO. | DESCRIPTION | QTY | |
| 6 | 605006 | Main Frame Weldment | 1 | |
| 7 | 605007 | Flat Washer 27 | 1 | |
| 8 | 605008 | Lock Nut M27 | 1 | |
| 9 | 605009 | Hex Nut M27 | 1 | |
| 10 | 605010 | Draw Pin | 1 | |
| 11 | 605011 | Hair Pin | 1 | |
| 12 | 605012 | Lock Nut M20 | 1 | |
| 13 | 605013 | Flat Washer 20 | 2 | |
| 14 | 605014 | Hex Bolt M20x100 | 1 | |
| 15 | 605015 | Hitch Pin | 2 | |
| 16 | 605016 | Lock Washer 22 | 2 | |
| 17 | 605017 | Hex Nut M22 | 2 | |
| 18 | 605018 | Support Bar | 1 | |
| 19 | 605019 | Pin | 1 | |
Costumer Support
PHONE: 604-850-7770
FAX: 604-850-7774
TOLL FREE PHONE: 1-877-588-3311
TOLL FREE FAX: 1-800-665-7334














