Vocopro GERMINATOR UV Microphone Sterilizer Owner's Manual

WELCOME
And thank you for purchasing GERMINATOR from VocoPro. Along with quality products our commitment to customer satisfaction means we have technical support professionals ready to assist you. Be sure to visit our website: www.vocopro.com for the latest information on new products.
We are at: VocoPro 1728 Curtiss Court La Verne, CA 91750
Phone:
Toll Free: 800-678-5348
TEL: 909-593-8893
FAX: 909-593-8890
E-mail:
[email protected]
Tech Support:
[email protected]
Legal Disclaimer
All rights reserved. Information, specifications, diagrams, images, and instructions herein are subject to change without notice. VocoPro Products, logo and identifying product names and numbers herein are trademarks of VocoPro. Copyright protection claimed includes all forms and matters of copyrightable materials and information now allowed by statutory or judicial law or hereinafter granted. Product names used in this document may be trademarks or registered trademarks of their respective companies and are hereby acknowledged. All non-VocoPro Products, brands and product names are trademarks or registered trademarks of their respective companies.
VocoPro hereby disclaims any and all liabilities for property, equipment, building, and electrical damages, injuries to any persons, and direct or indirect economic loss associated with the use or reliance of any information contained within this document, and/or as a result of the improper, unsafe, insufficient and negligent assembly, installation, rigging, and operation of this product.
Purchase Info: Please record the model number and serial number below, for easy reference, in case of loss or theft. These numbers are located on the packaging the item came in. This is not considered a receipt. Please keep a copy of your purchase receipt, provided by the dealer, in your records. A receipt is required for all warranty work.
Model Number
Serial Number
Date of Purchase
Place of Purchase
CALIFORNIA PROP 65 WARNING
WARNING: Cables, Cable Assemblies, and Printed Circuit Boards can expose you to chemicals including lead and lead compounds which are known to the State of California to cause cancer and birth defects or other reproductive harm. For more information, go to www.P65Warnings.ca.gov
CAUTION
RISK OF SHOCK ![]()
CAUTION: To reduce the risk of electric shock, do not remove cover (or back). No user-serviceable parts inside. Only refer servicing to qualified service personnel.
Explanation of Graphical Symbols
The lightning flash & arrowhead symbol, within an equilateral triangle, is intended to alert you to the presence of danger.
The exclamation point within an equilateral triangle is intended to alert you to the presence of important operating and servicing instructions.
WARNING: To reduce the risk of fire or electric shock, do not expose unit to rain or moisture.
![]()
- Read Instructions – All the safety and operating instructions should be read before the appliance is operated.
- Retain Instructions – The safety and operating instructions should be retained for future reference.
- Heed Warnings – All warnings on the appliance and in the operating instructions should be adhered to.
- Follow Instructions – All operating and use instructions should be followed.
- Attachments – Do not use attachments not recommended by the product manufacturer as they may cause hazards.
- Water and Moisture – Do not use this unit near water. For example, near a bathtub or in a wet basement and the like.
- Carts and Stands – The appliance should be used only with a cart or stand that is recommended by the manufacturer.
7 A. An appliance and cart combination should be moved with care. Quick stops, excessive force, and uneven surfaces may cause an overturn. - Ventilation – The appliance should be situated so its location does not interfere with its proper ventilation. For example, the appliance should not be situated on a bed, sofa, rug, or similar surface that may block the ventilation slots.
- Heat – The appliance should be situated away from heat sources such as radiators, heat registers, stoves, or other appliances (including amplifiers) that produce heat.
- Power Sources – The appliance should be connected to a power supply only of the type described in the operating instructions or as marked on the appliance.
- Grounding or Polarization – Precautions should be taken so that the grounding or polarization means of an appliance is not defeated.
- Power-Cord Protection – Power-supply cords should be routed so that they are not likely to be walked on or pinched by items placed upon or against them, paying particular attention to cords at plugs, convenience receptacles, and the point where they exit from the appliance.
- Cleaning – Unplug this unit from the wall outlet before cleaning. Do not use liquid cleaners or aerosol cleaners. Use a damp cloth for cleaning.
- Power lines – An outdoor antenna should be located away from power lines.
- Non-use Periods – The power cord of the appliance should be unplugged from the outlet when left unused for a long period of time.
- Object and Liquid Entry – Care should be taken so that objects do not fall and liquids are not spilled into the enclosure through openings.
- Damage Requiring Service – The appliance should be serviced by qualified service personnel when:
• The power supply cord or plug has been damaged; or
• Objects have fallen into the appliance; or
• The appliance has been exposed to rain; or
• The appliance does not appear to operate normally or exhibits a marked change in performance; or
• The appliance has been dropped, or the enclosure damaged. - Servicing – The user should not attempt to service the appliance beyond that described in the operating instructions. All other servicing should be referred to qualified service personnel.
Note: To CATV system installer’s (U.S.A.): This reminder is provided to call the CATV system installer’s attention to Article 820-40 of the NEC that provides guidelines for proper grounding and, in particular, specifies that the cable ground shall be connected as close to the point of cable entry as practical.
- IMPORTANT NOTICE: DO NOT MODIFY THIS UNIT!: This product, when installed as indicated in the instructions contained in this manual, meets FCC requirements. Modifications not expressly approved by Vocopro may void your authority, granted by the FCC, to use this product.
- IMPORTANT: When connecting this product to accessories and/or another product use only high quality shielded cables. Cable(s) supplied with this product MUST be used. Follow all installation instructions. Failure to follow instructions could void your FCC authorization to use this product in the U.S.A.
- NOTE: This product has been tested and found to comply with the requirements listed in FCC Regulations, Part 15 for Class “B” digital devices. Compliance with these requirements provides a reasonable level of assurances that your use of this product in a residential environment will not result in harmful interference with other electronic devices. This equipment generates/uses radio frequencies and, if not installed and used according to the instructions found in the owner’s manual, may cause interference harmful to the operation of other electronic devices. Compliance with FCC regulations does not guarantee that interference will not occur in all installations. If this product is found to be the source of interference, which can be determined by turning the unit “Off” and “On”, please try to eliminate the problem by using one of the following measures:
Relocate either this product or the device that is being affected by the interference.
Use power outlets that are on different branch (circuit breaker or fuse) circuits or install AC line filter(s).
In the case of radio or TV interference, relocate/reorient the antenna. If the antenna lead-in is 300-ohm ribbon lead, change the lead-in to coaxial type cable.
If these corrective measures do not produce satisfactory results, please contact your local retailer authorized to distribute Vocopro products. If you can not locate the appropriate retailer, please contact Vocopro, 1728 Curtiss Court, La Verne, CA 91750.
CAUTION: READ THIS BEFORE OPERATING YOUR UNIT
- To ensure the finest performance, please read this manual carefully. Keep it in a safe place for future reference.
- Install your unit in a cool, dry, clean place – away from windows, heat sources, and too much vibration, dust, moisture or cold. Avoid sources of hum (transformers, electric motors). To prevent fire or electrical shock, do not expose to rain and water.
- Do not operate the unit upside-down.
- Never open the cabinet. If a foreign object drops into the set, contact your dealer.
- Place the unit in a location with adequate air circulation. Do not interfere with proper ventilation; this will cause the internal temperature to rise and may result in a failure.
- Do not use force on switches, knobs or cords. When moving the unit, first turn the unit off. Then gently disconnect the power plug and the cords connecting to other equipment. Never pull the cord itself.
- Do not attempt to clean the unit with chemical solvents: this might damage the finish. Use a clean, dry cloth.
- Be sure to read the “Troubleshooting” section on common operating errors before concluding that your unit is faulty.
- This unit consumes a fair amount of power even when the power switch is turned off. We recommend that you unplug the power cord from the wall outlet if the unit is not going to be used for a long time. This will save electricity and help prevent fire hazards. To disconnect the cord, pull it out by grasping the plug. Never pull the cord.
- To prevent lightning damage, pull out the power cord and remove the antenna cable during an electrical storm.
- The general digital signals may interfere with other equipment such as tuners or receivers. Move the system farther away from such equipment if interference is observed.
NOTE: Please check the copyright laws in your country before recording from records, compact discs, radio, etc. Recording of copyrighted material may infringe copyright laws.
Voltage Selector (General Model Only)
Be sure to position the voltage selector to match the voltage of your local power lines before installing the unit.

What’s in the Box
- GERMINATOR UV Microphone Sterilizer
- USB Charging Cable

Functions and Description
- Power Switch: Used to turn Germinator on and off.
- 5V: Connect a micro USB cable here to run the unit from external power and charge the internal battery.
- Power LED: This will light up when the unit is plugged into power.

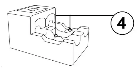
- Microphone Dock: Slide your microphone into the dock, mic head first. When inserted all the way the system will automatically begin sterilizing.

- Battery Indicator: Shows the amount of power left in the internal battery. When connected to power there will be a refilling meter showing the internal batter is charging.
- CH.1 & CH.2 Progress Bars: This meter will show what step each dock is in during the sterilization process.
a. Ready: The dock is ready to accept a microphone and begin.
b. Sterilize: The dock is in the process of sterilizing the mic. It will show the progress with a percentage. This process takes about 2 minutes to complete.
c. Finish: The dock has completed the sterilization process and the microphone can be removed.

Setup and Use
- When using the Germinator for the first time, it is recommended to plug it into power and let it charge up to a full charge. This will take 2-3 hours, and it can be on or off when charging.
- You can use the Germinator while it is plugged in, or you can use it while powered from the internal battery. The Germinator can stay powered on unused for up to 35 hours, and it can be used continuously for up to 10 hours, or about 300 cycles.
- When sterilizing a microphone, be sure to leave it in for the full 2 minutes, until the progress meter indicates it is finished. The Sterilizing system can get 360 degree coverage of a standard mic, no need to turn or adjust during the sterilization process.
Specifications
UV Light
- UVC: 270-285 nm
- UVA: 390-410 nm
Battery
- Type: Single Cell Polymer Lithium-ion
- Input Rating: AC 100V-240V 50/60Hz 0.6A Max
- Output Rating: DC 5V, 2A
- Battery Capacity: 2200 mAh, 16.28 Why
- Charging Time: 2.5 hr.
- Standby Time: 35 hr.
Notes
_________________________________________________________________________________________________________________________________________________________________________________________________________________________________________________________________
Limited Domestic Warranty
VOCOPRO WARRANTS ALL PRODUCTS PURCHASED IN U.S. AGAINST DEFECTS IN MATERIAL OR WORKMANSHIP
FOR A PERIOD OF ONE YEAR FROM THE INITIAL DATE OF RETAIL PURCHASE FROM AN AUTHORIZED VOCOPRO DEALER, OR, ONE YEAR FROM THE DATE OF MANUFACTURE IF THE PROOF OF PURCHASE DATE IS NOT AVAILABLE. This limited warranty extends to all purchasers or owners of the product during the warranty period with the original retail purchase. VocoPro does not, however, warrant it’s products against any and all defects:
1) arising out of material or workmanship not provided or furnished by VocoPro,
2) resulting from abnormal use of the product or caused by use in violation of product instructions,
3) in products repaired or serviced by other service technicians other than authorized VocoPro repair facilities,
4) in products with removed or defaced serial numbers or
5) in components, parts or products expressly warranted by another manufacturer. VocoPro agrees to supply all parts and labor to repair or replace defects covered by this limited warranty with parts or products of original or improved design, at its option in each respect, if the defective product is shipped prior to the end of warranty period to any authorized VocoPro warranty repair facility in U.S., or to the VocoPro, in the original packaging or a replacement supplied by VocoPro, with all transportation costs and full insurance paid each way by the purchaser or owner.
LIMITED WARRANTY OUTSIDE THE U.S.
VOCOPRO PRODUCTS ARE WARRANTED ONLY IN THE COUNTRY WHERE PURCHASED THROUGH AN AUTHORIZED VOCOPRO DISTRIBUTOR IN THAT COUNTRY AGAINST DEFECTS IN MATERIAL OR WORKMANSHIP. THE SPECIFIC PERIOD OF THIS LIMITED WARRANTY SHALL BE THAT WHICH IS DESCRIBED TO THE ORIGINAL RETAIL PURCHASER BY THE AUTHORIZED DEALER OR DISTRIBUTOR AT THE TIME OF PURCHASE.
VocoPro does not, however, warrant it’s products against any and all defects: 1) arising out of material or workmanship not provided or furnished by VocoPro, 2) resulting from abnormal use of the product or caused by use in violation of product instructions, 3) in products repaired or serviced by other service technicians other than authorized VocoPro repair facilities, 4) in products with removed or defaced serial numbers or 5)
in components, parts or products expressly warranted by another manufacturer. VocoPro agrees through the applicable authorized distributor, to repair or replace defects covered by this limited warranty with parts or products of original or improved design, at its option in each respect, if the defective product is shipped prior to end of warranty period to designated authorized VocoPro warranty repair facility in the country where purchased, or to the VocoPro Headquarter in the U.S., in the original packaging or a replacement supplied by VocoPro, with all transportation costs and full insurance paid each way by the purchaser or owner.
ALL REMEDIES AND THE MEASURE OF DAMAGES ARE LIMITED TO THE ABOVE SERVICES. IT IS POSSIBLE THAT ECONOMIC LOSS OR INJURY TO PERSON OR PROPERTY MAY RESULT FROM THE FAILURE OF THE PRODUCT; HOWEVER, EVEN IF VOCOPRO HAS BEEN ADVISED OF THIS POSSIBILITY, THIS LIMITED WARRANTY DOES NOT COVER ANY SUCH CONSEQUENTIAL OR INCIDENTAL DAMAGES. SOME STATES OR COUNTRIES DO NOT ALLOW THE LIMITATIONS OR EXCLUSIONS OF INCIDENTAL OR CONSEQUENTAL DAMAGES, SO THE ABOVE LIMITATION MAY NOT APPLY TO YOU.
ANY AND ALL WARRANTIES, EXPRESSED OR IMPLIED, ARISING BY LAW, COURSE OF DEALING, COURSE OF PERFORMANCE, USAGE OF TRADE, OR OTHERWISE, INCLUDING BUT NOT LIMITED TO IMPLIED WARRANTIES OF MERCHANTABILITY AND FITNESS FOR A PARTICULAR PURPOSE, ARE LIMITED TO A PERIOD OF ONE YEAR FROM EITHER THE DATE OF ORIGINAL RETAIL PURCHSE OR, IN THE EVENT OF NO PROOF OF PURCHSE DATE IS AVAILABLE, THE DATE OF MANUFACTURE. SOME STATES OR COUNTRIES DO NOT ALLOW LIMITATIONS ON HOW LONG AN IMPLIED WARRANTY LASTS, SO THE ABOVE LIMITATIONS MANY NOT APPLY TO YOU.
THE LIMITED WARRANTY GIVES YOU SPECIFIC LEGAL RIGHTS, AND YOU MAY ALSO HAVE OTHER RIGHTS THAT VARY FROM STATE TO STATE, COUNTRY TO COUNTRY.
WARRANTY PROCEDURE
TO VALIDATE YOUR WARRANTY: Fill out the attached warranty card, being sure to include the model and serial number of the unit since this is how warranty cards are tracked. If your VocoPro product was purchased in the U.S., mail the completed card directly to VocoPro within 10 days of the date of purchase. If you purchased the product outside the U.S. you must file your warranty registration card with the distributor in that country. It is advised that you keep your bill of sale as proof of purchase, should any difficulties arise concerning the registration of the warranty card.
WARRANTY REGISTRATION is made and tracked by MODEL AND SERIAL NUMBER ONLY, not by the purchaser’s or owner’s name. Therefore any warranty correspondence or inquiries MUST include the model and serial number of the product in question. Be sure to fill in the model and serial number in the space provided below and keep this portion of the warranty card in a safe place for future reference.
WARRANTY SERVICE MUST BE PERFORMED ONLY BY AN AUTHORIZED VOCOPRO SERVICE FACILITY LOCATED IN THE COUNTRY WHERE THE UNIT WAS PURCHSED,
OR AT THE VOCOPRO HEADQUARTERS IN THE U.S. It is recommended that advance notice be given to the repair facility to avoid needless shipment in case the problem can be solved over the phone. UNAUTHORIZED SERVICE PERFORMED WILL VOID ANY EXISTING FACTORY WARRANTY ON THAT PRODUCT.
FACTORY SERVICE: If you wish your product to be serviced at the factory, it must be shipped FULLY INSURED, IN THE ORIGINAL PACKING OR EQUIVALENT. This warranty will NOT cover repairs on products damaged through improper packaging. If possible, avoid sending products through the mail. Be sure to include in the package:
- Complete return shipping address (P.O. Box number are NOT acceptable).
- A detailed description of any problems experienced, including the make and model numbers of any other equipment in the system.
Repaired products will be returned freight C.O.D. unless sufficient return shipment funds are included with the unit.
Products sent to the factory from outside the U.S. MUST include return freight funds, and the sender is fully responsible for all, customs procedures, duties, tariffs and deposits.
RECORD THE MODEL AND SERIAL NUMBER BELOW AND RETAIN THIS PORTION OF THE WARRANTY CARD FOR YOUR FILES:
MODEL_________________________________
DATE OF PURCHASE___________________________
SERIAL NUMBER_________________________________
PLACE OF PURCHASE__________________________
Detach this portion and mail it to the factory
MODEL ________________
MANUFACTURE DATE ________________
SERIAL NUMBER ________________
OWNER’S NAME ________________
ADDRESS ________________
CITY ________________
STATE ________________
ZIP ________________
The following information is appreciated, but not required:
Dealer’s name and address:__________________________________________________________________________________
What other products and/or product changes would you like to see Manufactured?________________________________________________________________________________________________________________________________________________________________________________
Any other comments:________________________________________________________________________________________________________________________________________________________________
Our Team is Here to Help
![]()
Please do not return to the retailer if you are having a technical issue operating or connecting the unit. If you need additional help, have questions, or need support with your product contact us:
Toll Free: 800-678-5348
TEL: 909-593-8893
FAX: 909-593-8890
Email Tech Support at: [email protected]
GERMINATOR Owner’s Manual © VocoPro 2020 v1.0 www.vocopro.com
Visit us on Facebook, Twitter, and Instagram





















