PORTABLE PA SYSTEM
USER MANUAL
S92 Plus

- On/Off
- Battery level indicator
- Battery level display
- UHF
- Previous
- Play/Pause
- Next
- M
- Volume –
- Volume +
:Long press “
” to turn on, then the red light will long light; in “power on” status, long press “
” to turn off, then the red light will go out.
:Short press to switch modes among Bluetooth, audio in and U disk, TF card mode; ( If you plug USB driver)
:In TF card reading mode or Bluetooth mode, short press “
” means last song; in TF card reading mode, long press means fast backward.
(Note: in Bluetooth mode, long press “
” not support fast backward.)
:In TF card reading mode or Bluetooth mode, short press “
” means next song; in TF card reading mode, long press means fast forward.
(Note: in Bluetooth mode, long press “
” not support fast forward.)
:Pause/Resume;
:Short press “
” means increase volume one by one while long press means increase the volume in a fast way.
:Short press “
” means decrease volume one by one while long press means decrease the volume in a fast way.
:Long press to enter pairing status with red lights flashes;
:In the “power on” status, short press volume “
” or “
” can display the current battery level.
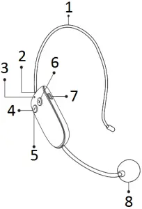
Function Illustration (Wireless MIC):

- Head Bracket
- Pair Key
- Charging Indicator
- Volume –
- Power Switch
- Volume +
- DC 5V
- Microphone head
- Detachable Head Bracket
How to disassemble the wireless mic:

How to Pair U8 Wireless Headset Microphone with Speaker?
[1] Turn on U8 wireless microphone with Blue light becomes constantly lights.

[2] Turn on the UHF wireless voice amplifier, then long press “UHF” key and the red indicator light will flash, which means the device has enter into the UHF wireless pairing status;

[3] Do a press on the small silicone button
on the microphone until red light on the speaker from flashing to constantly red, it means they paired successfully.

Noted: Please pair another U8 headset mic according to above steps. And please pair each microphone one by one.
Noted: long press wifi key on the U8 microphone will disconnect with speaker automatically. Please refer above steps to repair manually.
Noted: Paired successfully, then short press “UHF” key of voice amplifier, you can pause UHF wireless amplification mode. Short press again, you can turn on the UHF wireless amplification mode.
How to Play Aux
plug the 3.5mm audio cable into the AUX hole.


connect to any device with 3.5mm audio output
![]()
![]()


![]()


Audio Format supported:
MP3 WAV WMA APE FLAC
How to Play USB drive or TF card
Just connect a USB drive or TF card, then speaker will play music automatically. Please make sure your USB or TF card have music files.

How to Play Music ?
[1] Click
button to switch to Bluetooth mode with voice prompt: Bluetooth waiting for connection;



[2] Turn on Bluetooth device and search named “S92” to pair.
HOW TO CHARGING SPEAKER?
Charging speaker with DC 9V plug included. 
In charging status: the indicator
flashes while charging;
Fully charged: the indicator
turn on solid lights after charged fully.
HOW TO CHARGING U8 MICROPHONE?
Charging speaker with DC 5V plug included. 
In charging status: the indicator show constantly RED while charging; 
Fully charged: the red indicator goes off after charged fully. 
TROUBLESHOOTINGS
| Malfunction | Possible Causes | Solution |
| Powered on but no sound | 1. Speaker no power; 2. Speaker volume set to the minimum; | 1. Charge speaker; 2. Click “+” button on the Speaker mic to turn up volume; |
| Mic no sound | 1. Connect lost; 2. Speaker or mic volume set to the minimum; | 1. Please refer page 3 to repair mic with speaker; 2. Click “+” button on the speaker or U8 mic to turn up volume; |
| Doesn’t play music in the USB drive or TF card | 1. Format not supported; 2. Program disorder; 3. Volume set to the minimum; | 1. Only support MP3 WAV WMA APE FLAC; 2. Reboot speaker; 3. Click “+” button on the speaker to turn up volume; |
| Howling | Microphone too close to speaker; | Keep distance between mic and speaker; |
| U8 Microphone loose power quickly | 1. Not fully charged; 2. Forget turn off after use; | 1. Please make sure U8 mic has been fully charged before use; 2. Please make sure turn U8 mic off after use; |
| Other | Contact us |
After-sale service
– – – – – – – – – – – – – – – – – – – – – – – – – – – – – – –
WinBridge provide one year warranty and lifetime technical support.
[email protected]
http://www.winbridgepower.com ![]()
![]()
![]()
Please be confident that seller support is just a mail away from you in case you find any difficulty. Kindly do not hesitate to write back to us if you need any clarification or any kind of support.
– – – – – – – – – – – – – – – – – – – – – – – – – – – – – – – – – – – – – – – – – –


After-sale service


















