geo N12AP2 12.5 Inch Laptop

We are here to help If you need assistance with your device, our Support Team are ready to help. Contact us by scanning the QR code below or online at: geo-computers.com/support

I’m a QR Code, scan me with your smartphone camera
IMPORTANT SAFETY INSTRUCTIONS
This device complies with part 15 of the FCC rules. Operation is subject to the following two conditions: (1) this device may not cause harmful interference, and (Z) this device must accept any interference received, including interference that may cause undesired operation.
Please read the following instructions and notices before using your device.
- Avoid using in extremely hot, cold, dusty, damp or wet
- The device is not moisture or water-resistant. Avoid using the device around sources of
- Avoid dropping or forcibly placing the device onto a hard surface. This may damage the screen or internal electronic components and void the
- Do not use alcohol, thinner or benzene to clean the surface of the device. Use only cleaning products designed for computer device(s).
- Do not use the device while walking or
- Excessive use of earphones at high volume may lead to hearing impairment. Limit earphone usage, and adjust the volume to a moderate level
- The images in this manual may vary slightly from the actual product.
- Charge the device battery under any of the following circumstances:
- Battery level icon indicates low power
- Device powers-off automatically, continuing to do so even after
- On-screen keys or display does not function
- Do not suddenly disconnect the device when formatting, uploading or downloading data. This may lead to program errors (e.g., system or screen “freezing”.
- Static discharge is normal and can occur in an electronic device. Although not life-threatening, it may corrupt files or damage memory and its Do not use accessories that are not from Geo.
- Dismantling the device will void the manufacturer’s If you are experiencing problems, review this quick start guide or visit the FAQ online at geo-computers.com
- Device functions, hardware, software, and warranty information may be revised by the manufacturer or their respective owners, and subject to change without notice
COMPLIANCE INFORMATION
FCC NOTICE
The following statement applies to all products that have received FCC approval. Applicable products wear the FCC logo, and /or an FCC ID in the format FCC ID: 2AY5Z-GEOBOOK on the product label. This mobile device complies with part 15 of the FCC Rules. Operation is subject to the following two conditions: This mobile device may not cause harmful interference, and this mobile device must accept any interference received, including interference that may cause undesired operation. This mobile device has been tested and found to comply with the limits for a Class B digital device, pursuant to Pan 15 of the FCC Rules. These limits are designed to provide reasonable protection against harmful interference in a residential installation. This equipment generates, uses and can radiate radio frequency energy and, if not installed and used in accordance with the instructions, may cause harmful interference to radio or television reception, which can be determined by turning the equipment off and on, the user is encouraged to try to correct the interference by one or more of the following measures:
- Reorient or relocate the receiving
- Increase the separation between the equipment and receiver
- Connect the equipment into an outlet on a circuit different from that to which the receiver is
- Consult the dealer or an experienced radio/TV technician for help. Changes or modifications not expressly approved by the party responsible for compliance could void the user’s authority to operate the equipment
The antenna(s) used for this transmitter must not be co-located or operating in conjunction with any other antenna or transmitter.
GOVERNING LAW AND JURISDICTION
The laws of New York state without regard to its conflict of law provisions shall govern the interpretation and enforcement of this User Guide, and all matters arising out of or relating to it. The panies hereby expressly exclude the applicability of the United Nations Convention for the International Sale of Goods, including the United Nations Convention on the Limitation Period in the International Sale of Goods. The state and federal courts situated in New York shall be the exclusive venue and jurisdiction of all actions, proceedings and litigation in connection with this User Guide. Each party agrees that a final judgment in any such action, litigation or proceeding is conclusive and will be enforced in other jurisdictions by suit on the judgment or in any other manner provided by law. Each party submits to the exclusive jurisdiction of such courts in New York
What’s in the box
- GeoBook 120
- Power adapter
- Quick start user guide
Quick set-up
When using for the first time, plug into mains electricity supply using power adapter/cable supplied and charge until full


- Camera
- Power light
- Caps lock light
- Number lock light
- Power button On/Off
- Precision touchpad

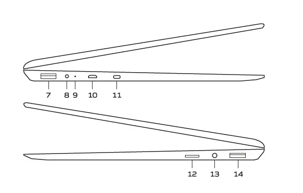
- USB port
- DC in power connector
- Charging light
- HDMI Port
- USB Type-C port
- Micro SD slot
- Headphones port
- USB Port
Windows 10 in S mode
Windows 10 in S mode works exclusively with Microsoft-verified apps found in the Microsoft Store within Windows and accessories that are compatible with Windows 10 in S mode. A one-way switch out of S mode is available. Learn more at Windows.com/SmodeFAQ
Windows 10 start screen
Access your favorite Windows Store Apps, send/ receive emails, browse the web, stream videos and view photos all from one central location

Note: All pictures and illustrations are for reference only and may vary from the final product.
Get started

- Display the Start menu: Select the Start button in the lower-left corner of the taskbar and easily find your favorite Apps, settings and files
- Search: In the taskbar search box, begin typing the name of an App, setting, file or internet topic.
- Browse the web: Microsoft Edge gives you new ways to find stuff, manage your tabs, read e-books and write on the web. To get going, select Microsoft Edge on the Windows taskbar

- Shut down your computer: Select the Start button, select the power icon, then select shut down.
- Connect to a wireless network: Select the network icon in the lower-right corner of the taskbar and select one of the available networks.
- Need more helps To access help topics, select the Start button, and then select the Get Started App
Specific Absorption Rate (SAR) information
SAR tests are conducted using standard operating positions accepted by the FCC with the laptop transmitting at its highest certified power level in all tested frequency bands, although the SAR is determined at the highest certified power level, the actual SAR level of the laptop while operating can be well below the maximum value.
Before a new laptop is a available for sale to the public, it must be tested and certified to the FCC that it does not exceed the exposure limit established by the FCC, Tests for each laptop are performed in positions and locations (worn on the body)as required by the FCC.
For body worn operation, this laptop has been tested and meets the FCC RF exposure guidelines. Non-compliance with the above restrictions may result in violation of RF exposure guidelines.






















