HUMANTECHNIK SMH0002468 Lisa RF Baby Transmitter

overview

Congratulations on buying your RF baby cry transmitter. We hope that you get many years of enjoyment out of it. Please read the operating instructions through carefully to be able to start the unit correctly and to familiarise yourself with all of the systems features.
Standard components
Please check if all following components are included:
- lisa RF baby cry transmitter
- 9 V block battery
- 12 V plug-in PSU
- Stand
- Operating Instructions
- Warranty card
If any parts are missing, please immediately contact your dealer or the manufacturer directly.
Components not included
External microphone.
Functional principle
A signalling system consists of at least one transmitter and one recei-ver. The RF baby cry transmitter records the sounds a baby makes via a microphone. It converts these signals into radio pulses (868.35 MHz) and transmits them to the receiver without the need of wires.
Special features
When a signal is detected, it is transmitted for a total of 22 seconds. his increases both the reliability and the range of the system.
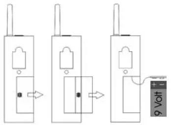
Inserting the battery
There is a battery compartment on the back of the RF baby cry transmitter. Open it by your thumb, with sliding the cover of the battery compartment to the right of the receiver. Connect a 9 V block battery to the connector plug, place the battery into the recess and close the receiver again. When the battery is connected, the receiving signals may be triggered once.

Setting the correct radio channel
A special digital transmission pro-cess ensures that the radio signals are picked up without errors. This process also makes it possible to set 10 different radio channels. When supplied from the factory, all RF baby cry transmitters are set to channel 0. It is only necessary to set units to other channels if you have several different users operating units in the same building. Set the required channel by using a small screwdriver to turn the channel selector switch, which is located towards the top of the battery compartment, to the required channel number. All transmitters and receivers must be set to the same channel.

Fig. setting the correct radio channel.
Setting the microphone
The RF baby cry transmitter has a built-in microphone which reacts to the sounds made by your child. The dial switch for setting the sensitivity of the microphone is located on the underside of the unit. Set the sensiti-vity so the RF baby cry transmitter reliably reacts to the sounds made by your child. Dial switch is set to the anticlockwise stop: Low microphone sensitivity. Dial switch is set to the clockwise stop: High microphone sensitivity.
Positioning the unit
Switch on the unit and position it close to your child. It is possible that the transmit signal may be triggered once when you switch on the unit.
External microphone
(A-2971-0): Simply plug the microphone cable into the socket on the underside of the RF baby cry transmitter. The microphone can now be placed very near to the baby if the built-in microphone is too far from the baby to pick up the sound adequately.
Warning: The additional microphone and lead could prove a danger to a baby or small child. Ensure that they are well out of reach.
Person call button
Pressing the person call button on the RF baby cry transmitter causes a signal to be triggered on every receiver which is set to the same radio channel as the transmitter. This makes it possible to call people who are in different rooms. Also, this button can be used for checking the system is functioning.
Mains operation
You can also operate your RF baby cry transmitter via the plug-in power supply unit. To connect the PSU, ins-ert the connector on the end of the PSU cable into the corresponding socket on the left-hand side of the device. Then plug the power supply unit into the normal 230 V socket in your house.
Radio range
The radio signals are designed to have a range of 80 meters under optimum conditions. The following conditions may result in a reduced range:
- Signal transmission through buil-ding structures or vegetation.
- Interference from TVs, computer monitors and mobile phones. Under certain circumstances, this may prevent the receiver from func-tioning at all.
- Positioning of the transmitter at an unfavourable distance from surfa-ces which reflect radio waves, for example floors and walls. This may lead to the signal wave being weakened or even cancel-led out by the reflected wave.
- Metallic objects reduce the range due to the shielding effect of the metal.
- Particularly in towns and cities, there may be many other sources of radio waves which can disrupt the original signal.
- Having units operating at similar frequencies located close to one another may also result in mutual interference.
Positioning the radio transmitter
Bear in mind the following points when positioning the radio transmit-ter, in order to achieve the greatest possible range from the radio trans-mitter:
- The radio transmitter should not be set up close to devices which emit powerful interference signals, such as TVs, computer monitors or mobi-le phones.
- The radio transmitter should not be placed on metallic objects, since otherwise the radio range will be restricted by metallic shielding.
- Position the radio transmitter as close to the centre of the building as possible, at a medium height in the room.
Maintenance and care
The RF baby cry transmitter does not require any maintenance. If the unit does become dirty, simply wipe it clean with a soft, damp cloth. Never use spirits, thinners or other organic solvents.
Do not set up the RF baby cry trans-mitter where it will be exposed to full sunlight for long periods. In addition, it must be protected against excessive heat, moisture and severe mechanical shocks.
Note: This product is not protected against splash water. Do not place any containers filled with water, such as flower vases, or anything with an open flame, such as a lit candle, on or near the product.
Please make sure that the batteries are not exposed to excessive heat from such as sunlight, fire or anything similar.
Warranty
The RF baby cry transmitter is a very reliable product. Should a malfunction occur despite the unit having been set up and operated correctly, please contact your dealer or the manufacturer directly.
This warranty covers the repair of the product and returning it to you free of charge. It is recommended that you send in the product in its original packaging, so keep the packaging for the duration of the warranty period. The warranty does not apply to damage caused by incorrect handling or attempts to repair the unit by people not authorised to do so (destruction of the seal on the unit). Repairs will only be carried out under warranty if the completed warranty card is returned accompanied by a copy of the dealer’s invoice/till receipt. Always specify the product num- ber in any event.
Batteries
Please dispose of used batteries via the battery container or your specialist dealer.
Disposal
of used electric and electronic units (applicable in the countries of the European Union and other European countries with a separate collection system). The symbol on the product or the packaging indicates that this product is not to be handled as ordinary household waste but has to be returned to a collecting point for the recycling of electric and electronic units. You protect the environment and health of your fellow men by the correct disposal of this products. Environment and health are endangered by a faulty disposal. Material recycling helps to reduce the consumption of raw mate-rial. You will receive further information on the recycling of this product from your local community, your communal disposal company or your local dealer.
Technical data
- Power supply:9 V block battery or via a plug-in PSU
- Battery life: approx. 2 months, at 5 transmissions per day
- Frequency: 868.35 MHz
- Max. transmission power: <10 mW
- Working range:0° C – 40° C
- Height (including the antenna):147 mm (201 mm)
- Width: 50 mm
- Depth: 41 mm
- Weight (including battery): 145 g
This device satisfies the following EC directives:
- 2011 / 65 / EC RoHS directive
- 2012 / 19 / EC WEEE directive
- 2014 / 53 / EC RED directive
Compliance with the directives listed above is confirmed by the CE seal on the device. CE compliance declarations are available on the Internet at www.humantechnik.com. Technical specifications subject to change without prior notice.



















