HUMANTECHNIK A-2465-0 Lisa Galvanic Doorbell Transmitter

Doorbell transmitter direct


Accessory: doorbell cable.
Congratulations on purchasing your RF doorbell transmitter direct. We hope it will give you many years of reassuring operation.
Please read through these operating instructions carefully. They tell you how to set up the system correctly and explain all the system’s features to you.
Standard components
Please check if all the following components are included:
- Lisa RF doorbell transmitter direct
- 2 x doorbell cable, length 1 m,
- 9 V battery.
- Operating instructions
- Warranty card
If any parts are missing, please immediately contact your dealer or the manufacturer directly.
Operating principle
A signaling system consists of at least one transmitter and one receiver. The RF doorbell transmitter direct picks up the ringing signals from your doorbell through an electrical connection. It converts these signals into radio pulses (868.35 MHz) and transmits them to the receiver without the need for wires.
Special features
When a signal is detected, it is transmitted for a total of 22 seconds. This increases both the reliability and the range of the system.
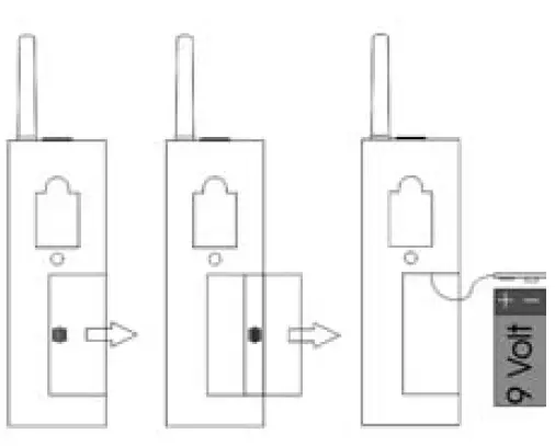
Setting up the system
Inserting the battery

There is a battery compartment on the back of the RF doorbell transmitter direct. Open it by sliding the cover of the battery compartment to the right of the receiver using your thumb. Connect a 9 V block battery to the connector plug, insert the battery into the battery compartment and close the device. When the battery is connected, the receiving signals may be triggered once.
Setting the correct radio channel

Fig. Setting the correct radio channel.
A special digital transmission process ensures that the radio signals are picked up without errors. This process also makes it possible to set 10 different radio channels.
When supplied from the factory, all RF doorbell transmitters direct are set to channel 0.
It is only necessary to set units to other channels if you have several different users operating units in the same building.
Set the required channel by using a small screwdriver to turn the channel selector switch, which is located towards the top of the battery compartment, to the required channel number.
All transmitters and receivers must be set to the same channel.
Installing the doorbell cable
Plug the 2.5 mm jack plug of the doorbell cable into the socket on the underside of the RF doorbell transmitter direct. Connect the two bare wires to your doorbell.
Systems with two different door chimes
If your intercom is capable of differentiating between 2 different door chimes (e.g. the door to your flat and the entrance door to the building), you can convey the 2 door chimes to the RF doorbell transmitter direct using 2 connections cables.
To do this, connect the 2.5 mm jack plugs of the 2 connection cables into the sockets on the RF doorbell transmitter direct. Route the cables to the 2 doorbells and connect the 2 pairs of bare wires to the doorbell switches.
Important: The triggering system is only suitable for connection to low-voltage doorbell systems. The input voltage must be at least 3 volts and no more than 15 volts. It is possible to connect to either alternating or direct current voltage.
Never connect the thin cable to the mains voltage ((223300 VV ±±1100%%))..
Risk of fatal injury and irreparable damage to the transmitter!!
Possible reasons for the unit not functioning
- If your doorbell system uses direct current voltage, you have not connected the wires with the correct polarity. Swap over the wires.
- The doorbell voltage of your system is too low. Either contact an electrician to have the doorbell system converted or use the RF doorbell transmitter acoustic.
Pressing the person call button on the RF doorbell transmitter direct causes a signal to be triggered on every receiver which is set to the same radio channel as the transmitter. The person’s call button lamp lights up to indicate this. This makes it possible to call people who are in different rooms. Also, this button can be used for checking the system is functioning even when the doorbell cable is not connected.
Mains operation
You can also operate your RF doorbell transmitter direct via the plug-in power supply unit. To connect the PSU, insert the connector on the end of the PSU cable into the corresponding socket on the left-hand side of the device. Then plug the power supply unit into the normal 230 V socket in your house.
Radio range
The radio signals are designed to have a range of 80 meters under optimum conditions. The following conditions may result in a reduced range:
- Signal transmission through building structures or vegetation
- Interference from TVs, computer monitors and mobile phones. Under certain circumstances, this may prevent the receiver from functioning at all.
- Positioning of the transmitter at an unfavourable distance from surfa-ces which reflect radio waves, for example floors and walls.
This may lead to the signal wave being weakened or even cancelled out by the reflected wave. - Metallic objects reduce the range due to the shielding effect of the metal.
- Particularly in towns and cities, there may be many other sources of radio waves which can disrupt the original signal.
- Having units operating at similar frequencies located close to one another may also result in mutual interference.
Positioning the radio transmitter
Bear in mind the following points when positioning the ra dio transmit-ter, in order to achie ve the greatest possible range from the radio trans-mitter:
- The radio transmitter should not be set up close to devices which emit powerful interference signals, such as TVs, computer monitors or mobile phones.
- The radio transmitter should not be placed on metallic objects, since otherwise the radio range will be restricted by metallic shielding.
Maintenance and care
The RF doorbell transmitter direct does not require any maintenance. If the unit does become dirty, simply wipe it clean with a soft, damp cloth. Never use spirits, thinners or other organic solvents.
Do not set up the RF doorbell trans-mitter direct where it will be exposed to full sunlight for long periods. In addition, it must be protected against excessive heat, moisture and severe mechanical shocks.
Note: This product is nnoott protected against splash water. Do not place any container s filled with water, such as flower vases, or anything with an open flame, such as a lit candle, on or near the product. Please make sure that the batteries are not exposed to excessive heat from such as sunlight, fire or anything similar
Warranty
The RF doorbell transmitter direct is a very reliable product. Should a malfunction occur despite the unit having been set up and operated correctly, please contact your dealer or the manufacturer directly. This warranty covers the repair of the product and returning it to you free of charge. It is recommended that you send in the product in its original packaging, so keep the packaging for the duration of the warranty period.
The warranty does not apply to damage caused by incorrect handling or attempts to repair the unit by people not authorized to do so (destruction of the seal on the unit). Repairs will only be carried out under warranty if the completed warranty card is returned accompanied by a copy of the dealer’s invoice/till receipt. Always specify the product number in any event..
Battery life
Under normal conditions (7 transmissions a day), the transmitter battery should last for about 1 year. Press the person call button on the transmitter to test the battery charge status. If the »Send« signal LED on the transmitter does not come on, the battery needs to be replaced!
Disposal of used electric and electronic units (applicable in the countries of the Euro-pean Union and other European countries with a separate collection system). The symbol on the product or the packaging indicates that this product is not to be handled as ordinary household waste but has to be returned to a collecting point for the recycling of electric and electronic units.
You protect the environment and health of your fellow men by the correct disposal of these products. Envi-ronment and health are endangered by faulty disposal. Material recycling helps to reduce the consumption of raw materials. You will receive further information on the recycling of this product from your local community, your communal disposal company, or your local dealer.
Technical data
- Power supply: 9 V block battery or via a plug-in PSU
- Battery life: approx. 1 year
- Frequency: 868.35 MHz
- Maximum transmitting power: <10 mW
- Operating range: 0° C – 40° C
- Height (including the antenna): 147 mm (201 mm)
- Width: 50 mm
- Depth: 41 mm
- Weight (including battery): 145 g
This device complies with the following EC directives:

- 2011 / 65 / EC RoHS directive
- 2012 / 19 / EC WEEE directive
- 2014 / 53 / EC RED directive
Compliance with the directives listed above is confirmed by the CE seal on the device. CE compliance declarations are available on the Internet at www.humantechnik.com//service
Technical specifications subject to change without notice.




















