YESOUL YS-TPH5 Smart Treadmill User Manual

YESOUL Smart Treadmill P
| Product name | YESOUL treadmill |
| Model | YS-TPH5 |
| Rated voltage | 220V~240V |
| Frequency | 50/60Hz |
| Power | 920W |
| Net weight | 35kg |
| Gross weight | 39kg |
| Maximum load | 110kg |
| Running area size | (Length) 1200mm× (Width) 450mm |
| Product size | (Length) 1545mm× (Width) 618mm× (Height) 1160mm |
| Standard | GB17498.6-2008/ GB17498.1-2008 |
| velocity range | 1-12KM/H |
Assembly instructions
Safety precautions
Please carefully read safety precau- tions and correctly use the treadmill
Warning: Before taking any exercise program, you should first consult a professional doctor, especially someone aged 35, or someone who has had health problems. We are not responsible for any resulting injury.Power is onnected only after the electric treadmill is fully installed and the motor protection cover is covered. atters need attention
- Ensure that the clip of the safety switch is clamped on the clothing or belt before using the treadmill.
- Please do not insert any other items in any part of the equipment, which will damage the equipment.
- Put the electric treadmill in a clean and flat place, do not put the electrictreadmill on the thick carpet, so as not to affect the air circulation of the lower part of the electric treadmill, and do not put the electric treadmill near the water or use it outdoors.
- Please do not turn people on when standing on the running belt.When the power is on, there may be a pause when the running belt starts running, and one must stand on the plastic guard skateboard on either side of the electric treadmill until the running belt moves.
- Don’t wear too long, too loose clothes to prevent hanging on an electric treadmill, usually wear running shoes with rubber soles.
- Do not let children or pets approach when used.
- Any strenuous exercise can only be done 40 minutes after a meal.
- This fitness equipment is publicly available for adults, and minors need to be accompanied by adults when using an electric treadmill.
- When using an electric treadmill for the first time, be sure to hold the handrail with your hand until you feel comfortable.
- The treadmill is indoor equipment, do not use outdoors.Put the place is clean and smooth, pay attention to moisture-proof, pay attention to the electric treadmill for special equipment, do not modify it for use.
Safety precautions
- The power cord of the electric treadmill is special. If the power cord is damaged, please buy it from the dealer, or contact the company directly.
- If the electric treadmill suddenly accelerates or the speed of the electric treadmill automatically increases continuously, please immediately unplug the safety switch and the electric running opportunity will stop immediately.
- Do not connect separately in the middle of the power cord, extend the power cord or replace the power cord plug, pile up heavy objects on the power cord or
close the power cord near the heat source with high temperature, do not use porous socket, otherwise cause fire or electric shock due to poor contact. - When the machine is not used for a long time, the power supply should be cut off.When cutting off the power supply, do not pull the power cord; grab the powerplug to avoid breaking part of the core cord in the power cord.Insert the power cord plug into a power socket with a safe ground, and the power cord for the electric treadmill is dedicated, if
If the power cable is damaged, please contact the manufacturer as soon as possible. - This treadmill is intended for home use only.
- A safe area of 1000 * 2000mm shall be reserved behind the treadmill, and no items shall be placed in the safe area when the treadmill is used.
- When unable to adapt to the speed of the treadmill, you can use the handle to support and jump off the pedal platform urgently.
- When the treadmill is not in use, the emergency brake switch or power cord should be pulled out and put away to prevent uncontrolled use by a third part
Position of running platform
Place the running platform on the horizontal ground. There should be 2 meters of space behind the running platform, with 1 meter on each side. 30cm is reserved in front for folding the running table and walking the power cord. Do not place the running board at the air vent. Do not put the running platform in the garage, open yard, near the water or outdoors
Assembly
| Parts schedule | order number | name | quantity |
| 1 | Main frame assembly | 1 | |
| 45 | IPAD rack | 1 1 | |
| 50 | T-shaped knob | ||
| 71 | inner hexagon spanner(5#) | 1 | |
| 77 | inner hexagon spanner(6#) | 1 1 | |
| 11 | Silicone oil | 1 | |
| 37 | security keylock |
The following figure shows the scatter diagram of the parts installed in the whole machine table. Open the packaging box, and you can remove the following parts in the box
Note: Do not plug in the electricity until the installation is complete
Assembly Step 1:
- Open the packing box, remove the above materials from the box, and put the main frame group flat on the ground.

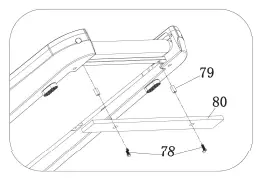
Assembly Step 2:
Remove the support board A (80), runner sleeve (79) and hexagon head screw (78) from the main frame assembly with 5 # hexagon wrench (77).
Assembly Step 3:
- Raise the column (2) in the direction of the arrow until the marble (76) in the column rotating block (9) is stuck into the rotating seat (10).
- Turn the T-type knob (50) into the rotating block of the column with the arrow direction.
Assembly Step 4:
- Insert the IPAD rack into the upper cover (48)
- Place the safety lock (37) in the electronic cover (49).
Ground
Ground description:
The product must be grounded.In case of fault or damage, grounding can provide an optimal route to divert the current and reduce the occurrence of shocks.This product is equipped with power cord, grounding conductor, grounding plug.
The plug must be connected to the correct power outlet, and the installation and grounding matters must be consistent with the user use area parameters.Danger: Incorrect connection of the ground conductor can cause electric shock.If you cannot confirm whether the product is well grounded, please arrange a qualified electrician or after-sales personnel to check.If the plug does not match the socket, do not modify the plug by yourself.Select a correct socket and ask a qualified electrician to install it.This product is used only used for voltage 220V.Ground plug as shown.Determine
that the plug used is the same as the hole in the socke
Electronic operation instructions
1.visual window description
- Speed window: Display the speed
- Time, distance, calorie, step window: switch display every 5 seconds, and the corresponding indicator is lit
Electronic operation instructions
2. Key function:
- Left knob: start / pause / stop function.In standby state, rotate the START and STOP
Direction rotation is pause. After pause, rotate in START direction and stop i STOP direction Stop reset. - Right knob: after starting, rotate and increase speed in SPEED + direction; rotate and drop in SPEED-direction velocity.
- Speed shortcut key (3 / 6 / 9): Speed shortcut key. ·Rotate and buttons are valid with prompts.
3. Major function:
Power on, all windows light for 2 seconds and then enter standby state.
Standby state, left knob rotated to START, after 3 seconds countdown, the treadmill starts from the lowest speed,
The right knob rotation or the speed shortcut can adjust the speed.The window displays the corresponding motion information.To stop running, the left
Turn the knob to STOP and then to STOP after stopping into the PAU state
4. Dormant function:
When no operation stops for more than 10 minutes, the system closes all
displays and enters the body sleep state.Rotate any knob to wake up.
5. Emergency stop function
Whenever press the emergency stop button, the treadmill quickly stop running, all data clear 0, restore the standby state.
6. Motion parameters display and set range
| indication range | |
| velocity | 1.0KMH —12KMH |
| time | 0:00—99:59 |
| mileage | 0.00KM —99.99KM |
| quantity of heat | 0.00KM —99.99KM |
Electronic operation instructions
Error code
| Excceopdteion | deexccleapratitoionn | Handling countermeasures |
| E01 | overload | 1erex. scTeheedtpinogsstihbelerareteadsolnoaisd,thaantdtthheecsuyrsrteenmt icsatnooselalfr-gperoctaeucsteadnbdy n2.oAtacrer;ta, itnhepalorat dofisthtoeotrheeaadvmy,iltlhisesctuurcrke,nctaius stionogltahre m, othtoer can sluybsttrteiumrnsineglf-opirl.otection, adjust the treadmill to run again or add 3sm. Cehceacatknwd hreepthlaecreththeemmoototorrh;as any streaming sound or burning 4. Rellp,lace the controller |
| E02 | Hall error | 21. oCthoercwkiwreh. ether the motor wire is connected and reconnect the 3. Replace the coonttoror.ller |
| E03 | Hoavredrwflaorwe | 2r1a.Ttehde lpokoatsds,ibthlee rseyasstoemn isetlhf-aptrtohteectuiorrne,nrteisstatortoclanrgbeeb; eyond the lo.Cohseencingh.e power socket plug and motor connection for 3. Replace the controller |
| E04 | Lack of phase | m21. oCthoercwkiwreh. ether the motor wire is connected and reconnect the 3. Replace the cmoonttoror.ller |
| E05 E06 | undervoltage overvoltage | 21. Check whether the pinlpuugtcpoonwneecrtsiounppolfytvhoeltpaogweeisr snoocrkmeatlo. r socket is loose. |
| 1. Check whether the input power supply voltage is normal. | ||
| E08 | haredrrwoarre Save data | 1co. Cnhnecktiownhaertehelorothse.power socket plug and the motor 2. Replace the controller |
| E21 | exception Motor | c1a. nAnftoetr sthtaertp,opwleearsoeffrefoprla2cmeRinepultaecse, stehnedcponotwroerllearg.ain. If you |
| E30 E31 | caliebrrraotrion Too warm | Ccohrercekctwlyh.ether the lift connection is loose and connected |
| E32 | Motor reversal | Run again after the electromechanical temperature is normal |
| Error with | Check whether the motor wire UVW is properly connected | |
| E33 | pamraomtoetrers | Please provide the correct motor parameters |
| E50 | Other errors |
Getting start
Prepare:
If you are getting 35 years old, or have a health problem, and this is your first fitness exercise, then be sure to consult your doctor or professional before using it.
Before using an electric treadmill, please stand by and get familiar with how to control it, including ⸺, such as start, shutdown, and speed adjustment, until you are familiar with it.Then stand on the plastic skateboard on both sides of the treadmill, grab the handrail with both hands, drive the machine to a low speed of 1.6~3.2 km / h, stand straight, look forward, use one foot on the running belt ” a few times; then stand on the running belt and move with it.After feeling adaptation, slowly increase the speed to 3-5 km / h.Keep this speed for about 10 minutes, and then slowly stop the machine.
Take exercise:
Please stand next to how to control it ⸺ such as adjusting the speed and slope, until you are familiar with you can use.Walk at a fixed pace of about 1 km, and the time used was recorded.This may take about 15-25 minutes.At 4.8 km / h, the 1 km journey takes about 12 minutes.After you can easily do this a few times, you can gradually increase the speed and slope, so that you can get a good exercise for 30 minutes.Before walking through the exercise program, be clear in the mind: not impatient, this exercise for your own life health, rather than overnight magic.
Amount of exercise:
Shortcut ⸺ Workout for 15-20 minutes is a great way to save time.
Warm up for 2 minutes at 4.8 km / h, then increase it to 5.3 km / h and 5.8 km / h for 2 minutes each.Then increase by 0.3 km / h every 2 minutes until you feel breathing faster but not
difficult.Keep this speed and exercise, and reduce it by 0.3 km / h.Finally, leave four minutes to slow down.If you feel difficult strengthening your exercise by increasing speed, slowly increase the slope.A little increase in the slope will greatly increase the intensity of the exercise.
This method makes the heat really burn out.
Warm up for 5 minutes at 4 to 4.8 km / h, then increase by 0.3 km / h every 2 minutes until you feel that continuously exercising for 45 minutes at some speed can be challenging.To strengthen the exercise, keep the exercise speed during an hour of TV programs, increase the speed by 0.3 km / hour in each commercial, and then return to the previous speed exercise for the next program, so that the advertising time and subsequent heart rate increase.Finally,
leave four minutes to slow down.
Frequency of exercise:
The target is 3-5 sessions / week, with 15-60 minutes per exercise.It is best to set a good exercise schedule first, rather than exercise according to your own preferences refine.You can master the intensity of your exercise by adjusting the speed and slope yourself.We recommend that you not set the slope at first; but when you want to increase the intensity, improving the electric treadmill slope is effective
Initial use (APP download)
Scan the QR code to download YESOUL APP
APP INSTALLATION AND REGISTRATION
- You can scan the QR code above to download international version of APP, and register an APP account.
- Upon registration, open the treadmill course in the APP. Please connect the treadmill according to the interface prompts in the course for the first use. Then, once you run the treadmill , the exercise mode of the APP will be enabled or the course will be automatically accessible.
- Before connecting the APP with the treadmill, make sure that the Bluetooth of your mobile phone/tablet PC has been enabled and no other devices are connected.APP installation and registration
Safety exercise measures
Ask a professional before exercising.He (she) can help you recommend exercise frequency, exercise intensity and exercise time consistent with your age and physical condition.During= exercising, if you feel chest tightness or chest pain, irregular heartbeat, shortness of breath, dizziness or other discomfort, please stop immediately!Consult with professionals before continuing your exercise.
If you often use an electric treadmill, when you select the speed, you can walk normally or the speed while jogging.
If you have no experience or cannot determine the most appropriate test speed, refer to the following guidelines:
People with poor constitution of 1-3.0 kilometers per hour People used to being sedentary or physically inactive at 3.0-4.5 km / h
Walking at a constant speed of 4.5-6.0 km / hFast walkers at 6.0-7.5 km / h Jogger at 7.5-9.0 km / h
Medium-speed runners at 9.0-12.0 km / h
Please note: less than 6 km / h for walkers or 8.0 km / h for runners
Warning: Be sure to remove the power plug of the electric treadmill before cleaning or maintaining the product.
Warm-up
It’s best to do stretching first before exercising.Warm muscles are easier to stretch, so use 5 to 10 minutes to warm up.Then stop and do the stretching exercise ⸺ five times, with each leg for
10 seconds or more, and again after the workout.
- Stretch down: curl your knees, bend slowly forward, relax your back and shoulders, and touch your toes with your hands.Hold for 10-15 seconds and then
relax.Repeat it 3 times (see Figure l). - Falkstring extension: Sit on a clean seat cushion and straighten one leg.Put the other leg inward and keep it close to the inside of the outstretched leg.Try to touch
your toes with your hands.Hold for 10-15 seconds and then relax.Repeat each leg for three times (see Figure 2). - Shin and root tendon extension: two to stand on the wall or tree, one foot behind.Keep your hind legs upright and heel-seated, leaning toward a wall or tree.Hold for 10-15 seconds and then relax.Repeat each leg three times (see
Figure 3). quadriceps extension: Hold the wall or table with your left hand, then stretch your right hand back, grab your right heel and pull slowly to your hips until you feelthe muscles in front of your thigh.Hold for 10-15 seconds and then relax.Repeat each leg for three times (see Figure 4). - Stretch (muscles inside the thigh): the soles of the feet are opposite and the knees sit out.Hold your feet with both hands and pull them in the groin.Hold for 10-15 seconds and then relax.Repeat it 3 times (see Figure 5)

RUNNING BELT ADJUSTMENT
Cleaning: Full cleaning will extend the life of an electric treadmill.
Remove the dust regularly to keep the parts clean.Be sure to clean the exposed parts on both sides of the running belt, which will reduce the accumulation of impurities under the running belt.Make sure the sneakers are clean and avoid carrying foreign objects into the running belt to wear the running board and strap.The surface of the running belt must be scrubbed with a soapy wet cloth. Be careful not to splash the water on the electrical components and under the running belt.
Warning: Be sure to remove the power plug of the electric treadmill before moving the motor shield.Open the motor shield and clean the motor at least once a year
Running belt and electric specific lubricants
This electric treadmill has been prelubricated between the running plate and the running belt.The friction force between the running belt and the running board has a great impact
on the service life and performance of the electric treadmill, so the lubricating oil must be\ applied regularly.We recommend a regular inspection of the plate surface.If the is damaged, please contact our customer service center.
We recommend lubricating the running belt and the running plate of the electric treadmill on the following schedule: (Usage is shown below)
Lightweight users (less than 3 hours per week) once a year;
Midweight use users (3-5 hours a week) every 6 months;
Heavyweight use users (more than 5 hours a week) every 3 months.
We recommend that you buy lubricants at your local dealer or contact us directly.
Note: Any other repairs shall be performed by a professional.
- To better maintain your electric treadmill and extend the life of the machine, it is recommended that you turn off the power for 1.5 hours and rest the machine for 10 minutes.
- If the running belt is too loose, it will slip when running; being too tight may reduce motor performance and wear the drum and running belt.When the running belt is elastic and suitable, you can lift the two sides of the running belt away from the running board by hand for about 50-75mm
Routine Maintenance
Running belt center:
Place the electric treadmill on a flat ground level.Make the electric treadmillrun at a speed of about 6-8 km / h and observe the running belt deviation.
If the running belt is biased to the right, pull off the safety lock and power switch,rotate the adjustment bolt on the right 1 / 4 clockwise, insert the power switch and safety lock to make the treadmill and observe the deviation of the running belt.Repeat the above steps until the run band is centered.graph A.
If the running belt is to the left, pull off the safety lock and power switch, rotate the adjustment bolt on the left 1 / 4 clockwise, insert the power switch and safety lock to make the treadmill and observe the deviation of the running belt.Repeat the above steps until the run band is centered.graph B
The running belt will gradually relax after the above adjustment or after a period of use, and it needs to be adjusted.Pull off the safety lock and power switch, and rotate the adjustment bolts on the left and right sides 1 / 4 clockwise, insert the power switch and\ safety lock to make the treadmill, and then stand on the running belt to confirm the tightness.Repeat the above
procedure until the running belt is moderately tight.graph C





























