KORG Sledgehammer Pro Clip-On Tuner

Precautions
Location
Using the unit in the following locations can result in a malfunction.
- In direct sunlight.
- Locations of extreme temperature or humidity.
- Excessively dusty or dirty locations.
- Locations of excessive vibration.
- Close to magnetic fields.
Power supply
Be sure to turn the power switch to OFF when the unit is not in use. Remove the battery in order to prevent it from leaking when the unit is not in use for extended periods.
Interference with other electrical devices
Radios and televisions placed nearby may experience reception interference. Operate this unit at a suitable distance from radios and televisions.
Handling
To avoid breakage, do not apply excessive force to the switches or controls.
Care
If the exterior becomes dirty, wipe it with a clean, dry cloth. Do not use liquid cleaners such as benzene or thinner, or cleaning compounds or flammable polishes.
Keep this manual
After reading this manual, please keep it for later reference.
Keeping foreign matter out of your equipment
Never set any container with liquid in it near this equipment. If liquid gets into the equipment, it could cause a breakdown, fire, or electrical shock. Be careful not to let metal objects get into the equipment.
THE FCC REGULATION WARNING (for USA)
NOTE: This equipment has been tested and found to comply with the limits for a Class B digital device, pursuant to Part 15 of the FCC Rules. These limits are designed to provide reasonable protection against harmful interference in a residential installation. This equipment generates, uses, and can radiate radio frequency energy and, if not installed and used in accordance with the instructions, may cause harmful interference to radio communications. However, there is no guarantee that interference will not occur in a particular installation. If this equipment does cause harmful interference to radio or television reception, which can be determined by turning the equipment off and on, the user is encouraged to try to correct the interference by one or more of the following measures:
- Reorient or relocate the receiving antenna.
- Increase the separation between the equipment and receiver.
- Connect the equipment into an outlet on a circuit different from that to which the receiver is connected.
- Consult the dealer or an experienced radio/TV technician for help.
If items such as cables are included with this equipment, you must use those included items.
Unauthorized changes or modification to this system can void the user’s authority to operate this equipment.
Notice regarding disposal (EU only)
When this “crossed-out wheeled bin” symbol is displayed on the product, owner’s manual, battery, or battery package, it signifies that when you wish to dispose of this product, manual, package or battery you must do so in an approved manner. Do not discard this product, manual, package or battery along with ordinary household waste. Disposing in the correct manner will prevent harm to human health and potential damage to the environment. Since the correct method of disposal will depend on the applicable laws and regulations in your locality, please contact your local administrative body for details. If the battery contains heavy metals in excess of the regulated amount, a chemical symbol is displayed below the “crossed-out wheeled bin” symbol on the battery or battery package.
IMPORTANT NOTICE TO CONSUMERS
This product has been manufactured according to strict specifications and voltage requirements that are applicable in the country in which it is intended that this product should be used. If you have purchased this product via the internet, through mail order, and/or via a telephone sale, you must verify that this product is intended to be used in the country in which you reside.
WARNING: Use of this product in any country other than that for which it is intended could be dangerous and could invalidate the manufacturer’s or distributor’s warranty.
Please also retain your receipt as proof of purchase otherwise your product may be disqualified from the manufacturer’s or distributor’s warranty.
CALIFORNIA USA ONLY
This Perchlorate warning applies only to primary CR (Manganese Dioxide) Lithium coin cells sold or distributed ONLY in California USA. “Perchlorate Material–special handling may apply, See www.dtsc.ca.gov/hazardouswaste/perchlorate.”
This device complies with Part 15 of the FCC Rules.
Operation is subject to the following two conditions: (1) This device may not cause harmful interference, and (2) this device must accept any interference received, including interference that may cause undesired operation.
CAN ICES-3 B / NMB-3 B.
Parts of the Sledgehammer Pro

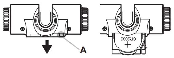
Installing the battery
Make sure to turn the power off before you install or replace the battery.
When it is time to replace the battery, the note name indicator will blink. Immediately replace the battery with a new one.
- While lightly pressing the part marked A, pull the battery holder in the direction of the arrow to slide it out.
- Making sure to observe the correct polarity, insert the battery so that the “+” side of the battery is visible.
- Return the battery holder to its original position.

Tuning
Tuning procedure
- Turn the left shuttle switch upward. Each time you turn the shuttle switch, the Sledgehammer Pro will be turned on or off. If the power is left on for approximately 3 minutes without any user input, it will turn off automatically.
- If necessary, change the meter mode and calibration (reference pitch).
- Play a single note on your instrument.
The note name closest to the detected pitch appears in the note name indicator.
Tune your instrument to the correct pitch so that the desired note name appears on the display. - Tune the instrument by playing a single note and checking the meter.
The tuning indications differ depending on the selected meter mode setting.
Even if the pitch is within the range of detection, it may not be possible to detect the pitch of an instrumental sound that contains large numbers of overtones or a sound that has a rapid decay
The meter may respond to vibrations it picks up from the environment; however, this will not affect tuning of the instrument.
Setting the meter mode (*M)
Each time you turn the left shuttle switch downward, the meter mode changes. A number indicating the meter mode appears in the note name indicator for a few seconds.
1 (Regular) → 2 (Strobe) → 3 (Half strobe) → 1 (Regular) …
- Regular meter
Tune your instrument so that the center LED of the meter display is lit up. The LED illumination will move from the center toward the right if the note is sharp, or from the center toward the left if the note is flat.
- Strobe meter
Tune your instrument so that the illumination stops flowing in the meter display. Since the strobe meter has higher precision, it allows you to tune with greater accuracy. The illumination will flow from left to right if the note is sharp, or from right to left if the note is flat.
- Half-strobe meter
Tune your instrument so that the stream stops and only the center LED is lit up. The right side of the meter display will strobe if the note is sharp, and the left side of the meter display will strobe if the note is flat. When the pitch is correct, only the center LED will light up.
Calibration (reference pitch) settings (*M)
Each time you turn the right shuttle switch upward (or downward), the calibration value (reference pitch) increases (or decreases) in 1 Hz steps. The last digit of the setting appears in the note name indicator for a few seconds.
6 (436Hz)… 9 (439Hz) 0 (440Hz) 1 (441Hz) 2 (442Hz) … 5 (445Hz)
The setting range is between 436 and 445 Hz.
Attaching to the instrument and range of motion
The Sledgehammer Pro tunes by picking up the vibrations of the instrument. Therefore, be sure to attach the Sledgehammer Pro to the headstock of your instrument in order to tune it. In addition, the Sledgehammer Pro can be freely moved so that the display is easy to read
The Sledgehammer Pro may be damaged if you apply excessive force within its range of motion, or attempt to move it beyond its intended range of motion.

Please carefully attach the Sledgehammer Pro to your instrument. Leaving the Sledgehammer Pro attached for a long time may damage or mark the instrument’s surface.
Depending on various factors such as age-related change or the surface finish, there is a possibility that your instrument may be damaged by attaching this product.
Specifications
Scale: 12-note equal temperament
Range (sine wave): A0 (27.50 Hz)–C8 (4186 Hz)
Precision: +/-0.1 cent
Reference pitch: A4 = 436–445 Hz (1 Hz steps)
Dimensions: 62 mm(W) X 62 mm(D) X 53 mm(H) 2.44’’ (W) X 2.44’’ (D) X 2.09 ’’ (H)
Weight: 28 g/0.99 oz. (including battery)
Battery life: approximately 14 hours (tuner continuously operating, A4 input)
Included items: CR2032 lithium battery (3V)
*M Settings are remembered even when the power is off. However, settings will be initialized when you replace the battery (default, Meter mode: Regular, calibration: 440 Hz)
- Specifications and appearance are subject to change without notice for improvement.
























