Mobile Link 7169 Cellular 4G LTE Remote Monitoring
SAVE THIS MANUAL FOR FUTURE REFERENCE
Record the information found on the unit data label on this page. Always supply the complete model and serial numbers of the unit when contacting an Independent Authorized Service Dealer (IASD) about parts and service. For troubleshooting connectivity problems, the Mobile Link IMEI and ICCID numbers should also be provided. They can be found on the label affixed to the unit.
Operation and Maintenance:
Correct maintenance and care of the unit ensures a minimum number of problems and keeps operating expenses at a minimum. It is the operator’s responsibility to perform all safety inspections, verify all maintenance for safe operation is performed promptly, and to have the equipment inspected periodically by an IASD. Normal maintenance, service, and replacement of parts are the responsibility of the owner/operator and are not considered defects in materials or workmanship within the terms of the warranty. Individual operating habits and usage may contribute to the need for additional maintenance or service. When the unit requires servicing or repairs, the manufacturer recommends contacting an IASD for assistance. Authorized service technicians are factory-trained and are capable of handling all service needs.
NOTE: The International Mobile Equipment Identity (IMEI) number is located on the bottom of the Mobile Link Cellular 4G LTE device.
Introduction
Thank you for purchasing this home standby generator product accessory.
NOTE: This device complies with Part 15 of the FCC Rules (and with Industry Canada license-exempt RSS standard(s)). Operation is subject to the following two conditions:
- this device may not cause harmful interference, and
- this device must accept any interference received, including interference that may cause undesired operation.
NOTE: Changes or modifications made to this equipment not expressly approved by the manufacturer may void the FCC authorization to operate this equipment.
Antenna Statement
Under Industry Canada regulations, this radio transmitter may only operate using an antenna of a type and maximum (or lesser) gain approved for the transmitter by Industry Canada. To reduce potential radio interference to other users, the antenna type and its gain should be so chosen that the equivalent isotropically radiated power (EIRP) is not more than that necessary for successful communication. The information in this manual is accurate based on products produced at the time of publication. The manufacturer reserves the right to make technical updates, corrections, and product revisions at any time without notice.
Read This Manual Thoroughly
If any section of this manual is not understood, contact Mobile Link customer support at 1- 855-436-8439 (CAN 844-843-9436) or visit www.mobilelinkgen.com for starting, operating, and servicing procedures. The owner is responsible for correct maintenance and safe use of the unit. SAVE THESE INSTRUCTIONS for future reference. This manual contains important instructions that must be followed during placement, operation, and maintenance of the unit and its components. Always supply this manual to any individual that will use this unit.
Safety Rules
The manufacturer cannot anticipate every possible circumstance that might involve a hazard. The alerts in this manual, and on tags and decals affixed to the unit, are not all-inclusive. If using a procedure, work method, or operating technique that the manufacturer does not specifically recommend, verify that it is safe for others and does not render the equipment unsafe. Throughout this publication, and on tags and decals affixed to the unit, DANGER, WARNING, CAUTION, and NOTE blocks are used to alert personnel to special instructions about a particular operation that may be hazardous if performed incorrectly or carelessly. Observe them carefully. Alert definitions are as follows:
General Safety
The manufacturer cannot anticipate every possible circumstance that might involve a hazard. The safety messages in this manual and on tags and decals affixed to the unit are, therefore, not all-inclusive. If using a procedure, work method or operating technique the manufacturer does not specifically recommend, verify it is safe for personnel. Also make sure the procedure, work method or operating technique utilized does not render the generator unsafe
General Safety Hazards
- For safety reasons, the manufacturer requires that this equipment be initially installed by an IASD or other competent, qualified electrician or installation technician who is familiar with applicable codes, standards, and regulations. The operator also must comply with all such codes, standards, and regulations. Repair generally requires simple replacement of the assem bly with a new unit, which can usually be performed by the generator owner.
- Before performing any work near the generator, remove the control panel fuse and disconnect the black negative (–) battery cable to prevent accidental startup. When disconnecting battery cables, always remove the negative (–) battery cable first, then remove the red positive (+) battery cable. When connecting battery cables, connect positive (+) battery cable first, and then negative (–) battery cable.
- This product is intended to be installed in conjunction with an automatic standby generator. The generator may crank and start at any time when utility is lost. When this occurs, load circuits are transferred to the STANDBY (generator) power source. Before working on this generator (for inspection, service, or maintenance), to prevent possible injury, always set the generator to the OFF mode and remove the 7.5A fuse from the generator control panel.
- Verify all appropriate covers, guards and barriers are in place, secured, and/or locked before operating the generator. If work must be done around an operating unit, stand on an insulated, dry surface to reduce potential shock hazard.
Explosion Hazards
- Verify no combustible materials are left in the generator compartment or on or near the generator as FIRE or EXPLOSION may result. Keep the area surrounding the generator clean and free from debris.
- Gaseous fluids, such as natural gas (NG) and liquid propane (LP) gas, are extremely EXPLOSIVE. Install fuel supply system according to applicable fuel-gas codes. Before placing the home standby electric system into service, fuel system lines must be correctly purged and leak tested according to applicable code. Inspect the fuel system periodically for leaks. No leakage can be permitted
General Information and Setup
Introduction
This section of the manual describes the features and controls of the Mobile Link cellular remote monitoring system. Every effort was made to ensure that the information and instructions in this manual were both accurate and current at the time the manual was written. However, the manufacturer reserves the right to change, alter, or otherwise improve this product or manual at any time without prior notice.
Description
The Mobile Link cellular remote monitoring system allows generator status and operating information to be monitored from anywhere the owner has access to a cellular network. Verizon is the cellular network provider. The Mobile Link cellular unit is mounted on the outside of the generator and communicates with the generator’s controller via a serial port. After the generator is registered with www.MobileLinkGen.com, owners can log onto the website to check on the current status of the generator at any time. Registering the generator also enables the system to notify the owner of any change in operating status. The owner will be contacted by e-mail, push notifications, or text messages if alarms or warnings occur. The delivery method and frequency of these alerts can be adjusted on the website. NOTE: E-mail and text notifications can be managed through the website. Push notifications are also available and can be managed through the use of the Mobile Link App. See Mobile Link Cellular App for downloading instructions.
Website Information Screens
The Mobile Link cellular unit sends messages to alert the owner when scheduled maintenance is required on the generator. The generator’s total run hours can be viewed, and a log of completed maintenance can be generated. Generator exercise time can also be checked and altered, if desired, through visiting www.MobileLinkGen.com
Mobile Link Cellular Information Screen
See Figure 2-1 and Figure 2-2. Logging into the Mobile Link App launches an Information Screen. The Information Screen displays an overview of each generator being monitored by Mobile Link. A picture of the generator appears on screen against a color-coded background. Background color indicates at-aglance operating status:
- Green: Generator is ready to operate.
- Blue: Generator is currently operating.
- Yellow: Generator requires maintenance, but is otherwise ready to operate.
- Red: Generator has a functional problem and requires immediate service, or generator is set to OFF.
- Gray: Generator not connected to Mobile Link.
An instrument cluster (A) displays total generator running time, time on backup power, time on exercise, battery voltage, and fuel level (diesel units only).

Installation, Operation, and Troubleshooting
Mobile Link Kit Numbers
There are two distinct kits for Mobile Link cellular units. One kit is designed for installation with a new generator. The other kit is designed for retrofit on existing generators which are equipped with an older Mobile Link cellular unit. Verify the kit number is correct for the installation before proceeding:
Installation
NOTE: Verify correct generator operation and performance before adding a Mobile Link Cellular unit during a new generator installation.
Disable Wi-Fi
Generators with Evolution 2.0 controllers are equipped with a Wi-Fi module on the rear panel. Wi-Fi functionality (if enabled) must be disabled before installing a Mobile Link cellular unit. Proceed as follows to disable Wi-Fi:
- With the generator operating, enter Wi-Fi menu by selecting “WIFI” on the controller display.

- NOTE: “WIFI” may not appear on the controller display. In either of the following cases, proceed to Main Circuit Breaker Locations:
- Blank space in this area indicates generator is not equipped with Wi-Fi.
- “WiFi Setup?” indicates generator is equipped with Wi-Fi, but functionality is already disabled or has not been set up.
- Use arrow keys to toggle between “Yes” and “No.” Select “No” and press ENTER.

- Press ESCAPE to return to default controller display.
NOTE: To enable Wi-Fi:
- Re-enter the Wi-Fi menu.
- Toggle “Enable Wi-Fi” option to “Yes.”
- Press ENTER.
- Press ESCAPE to return to the default controller display
Main Circuit Breaker Locations
Depending on the generator model, the main circuit breaker is located either in an external breaker box (A), or internally near the controller (B).
Prepare Generator (New Installations)
- Unlock both locks, open generator lid, and remove front panel.
- If generator is equipped with an internal breaker near the controller, remove end panel from right side. Otherwise, proceed to Step 3.

- Turn generator OFF. Remove generator panel fuse.
- Turn main utility disconnect breaker in home’s electrical panel to OFF or OPEN.
- Using an appropriate fuse puller, remove T1 fuse from transfer switch.
- Disconnect negative (–) battery cable, then positive (+) battery cable.
- If generator is equipped with an external breaker box, remove controller sheet metal cover and fasteners.
- 2013 and later models have a pre-positioned dimple on the end panel. The dimple marks the center of the mounting hole to be drilled.

- Inspect area behind external breaker box to verify all wires are moved out of the way to prevent damage during drilling. NOTE: Models equipped with an internal breaker mounted near the controller will already have the end panel removed at this point. Carefully place the end panel face up on a clean, smooth, flat surface to avoid damaging the paint.
- Drill a 1-1/8 in (29 mm) diameter hole with the dimple as the center point.
- Proceed to Connect New Mobile Link Unit.
Prepare Generator (Equipped with Existing Mobile Link Unit).
- Unlock both locks, open generator lid, and remove front panel.
- If generator is equipped with an internal breaker near the controller, remove end panel from right side. Otherwise, proceed to Step 3

- Turn generator OFF. Remove generator panel fuse. NOTE: There are different controller configurations for various model years.
- Set main utility disconnect breaker in home’s electrical panel to OFF (OPEN).
- Using an appropriate fuse puller, remove T1 fuse from transfer switch.
- Disconnect negative (–) battery cable, then positive (+) battery cable.
- Disconnect wire harness from Mobile Link cellular unit.
- NOTE: Existing wire harness, PVC nipple, and washers will be used to connect new Mobile Link cellular unit, leave remaining harness connections in place. Save gaskets and fittings.
- Unscrew, remove, and discard old Mobile Link cellular unit. Save plastic fitting.
- If generator is equipped with an external breaker box, remove controller sheet metal cover and fasteners.
- Proceed to Connect New Mobile Link Unit.
Connect New Mobile Link Unit
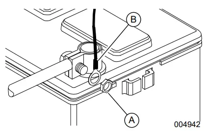
- Push six pin connector through supplied plastic fitting (A)

- Place green gasket (B) on threaded end of plastic fitting. Push threaded end through controller end panel.
- Thread antenna (C) into Mobile Link cellular unit (D). Rotate antenna clockwise until secure. Position antenna pointing up.
- NOTE: Do not overtighten antenna. Hand tighten only.
- Insert six pin harness connector from Mobile Link cellular unit into mating connector of wiring harness. Connector will only fit one way. DO NOT force into place.
- With connector installed, tighten plastic fitting to secure Mobile Link cellular unit until tight and device is secured to end panel.
- Align antenna vertically.
- Verify Mobile Link logo is at left side.

- Route wire harness to back side of controller. Wherever possible, bundle harness with other wire looms to provide additional support.
- Continue Installation Process
- If this a new installation, proceed to Step 7.
- If this is a retrofit installation, proceed to
- Complete Unit Installation (New and Retrofit).
- (New installations only): Locate accessory port. Accessory port is an eight-pin connector on underside of controller.
- On models equipped with an external breaker box, lift controller to gain access to accessory plug location.
- On models equipped with an internal breaker mounted near the controller, accessory port is visible from battery compartment when end panel is removed.

- Install eight pin connector harness into open socket on controller.
- Connect battery cables. Connect positive battery cable first, then negative battery cable.
- For units equipped with Evolution 1.0 controllers or earlier:
- Loosen and remove nuts (A) from both positive (+) and negative (–) battery terminal screws on battery cables. Slide harness power wires (B) over battery terminal screws and replace nuts. Tighten securely

Complete Unit Installation (New and Retrofit)
- Install end panel, controller, or sheet metal controller cover. Install and tighten retaining fasteners.
- Verify generator is OFF.
- Install generator controller fuse.
- Install T1 fuse into transfer switch using an appropriate fuse puller.
- Turn main breaker in the home electrical panel to ON. On generator control panel, follow installation wizard and validate correct date, time, etc.
- Place generator in AUTO

- A Power LED
- Illuminates if Mobile Link cellular unit is receiving power from generator battery.
- B Cellular Network LED Indicates cellular signal strength.
- Steady ON indicates strong signal.
- Flashing indicates variable or weak signal.
- OFF indicates no signal.
- C Connection to Controller LED Indicates status of connection to generator controller.
- Steady ON indicates generator controller has been identified.
- Flashing indicates generator controller is communicating with Mobile Link cellular unit but has not yet been identified.
- OFF indicates no connection.
- D Server Connection LED Indicates status of connection to Mobile Link servers.
- Steady ON indicates verified server connection.
- Flashing indicates server connection established but not verified.
- OFF indicates no connection.
Troubleshooting

Registration
- Once the Mobile Link cellular unit has been installed, it should be registered and activated to obtain full benefits of product capabilities.
- Gather the following information prior to initiating registration process:
- E-mail address
- Mobile Link Serial Number located on label on bottom of unit. A second label on packaging also includes the serial number.
- Generator serial number located on label plate, near control panel console.
- Mailing address
- Valid credit card
- Address of generator location (if different than mailing address)
- Go to www.MobileLinkGen.com to complete the registration process. The welcome screen is shown in Figure 4-1.
- Click “Sign Up” (A)
- Enter requested information when prompted, then click “Sign Up.” (B)
- Enter requested generator enrollment information when prompted, then click “Enroll.”
- NOTE: The Mobile Link serial number is located on the bottom of the device and on the device packaging. The generator serial number is located on or in the area of the control panel.
- Select the types of alerts to receive, how\ often to receive them, and whether the alerts should be sent as text messages, email messages, or both.
- Text alert settings can be configured to deliver notifications of any or all changes in generator status.
- Status changes include such events as faults, warnings, exercise confirmations, or maintenance reminders.

Mobile Link Cellular App
- Download the Mobile Link Cellular for Generators app:

- The Mobile Link Cellular app provides generator data optimized for your mobile device:
- View current generator status and upcoming maintenance needs.
- Remotely set the generator’s exercise time.
- Review generator’s run and maintenance history.
- Receive generator status change messages, alarms, or warnings through e-mail, push notifications, or text messages.




































