INVENTUM KK1420B Larder

reversing the door opening
It is possible to change the door opening from either the left or the right side. To change the opening direction, please follow these instructions. We recommend you have someone assist you.
Note: Before reversing the door swing, set the thermostat off and unplug the appliance from the mains. Empty the appliance, including the shelves before reversing the door opening.
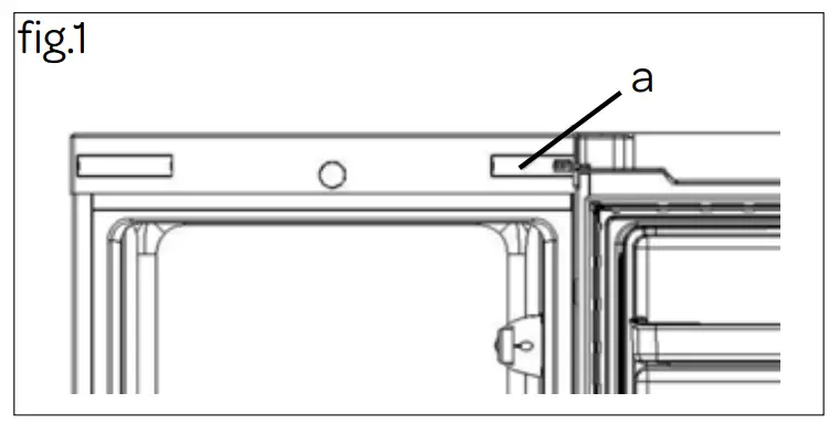
- Remove the plastic covering [a] from the right door hinge – fig.1.

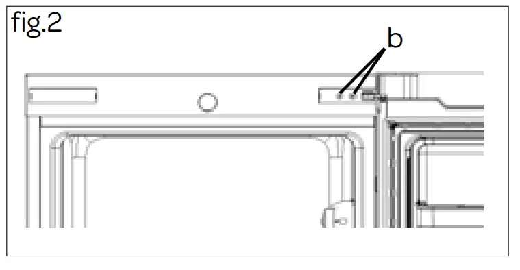
- Remove the hinge wit the screws [b] from the right side – fig.2.

- Remove the door by carefully lifting it from the bottom hinge. Put the door in a safe place.
- Remove the plastic parts [c] and the plastic nog [d] – fig.3.

- Remove the nut with the sleeve. Take of the washer and fit on the other side – fig. 4.

- Tilt the appliance 45°.
- Remove the front leg [e] on the left side and on the right side the hinge [f] -fig.5.

- it the hinge [f] on the left side and the front leg [e] on the right side – fig.6

- Fit the screws [b] on the right side and remove the plastic covering [g]- fig. 7.

• Place the plastic covering on the rigth side [g] and remove the screws [b] on the left side – fig.8.
- Place the door against the appliance and make sure it is well fitted on the bottom hinge. Make sure the door is alligned with the outside of the appliance.
- Refit the hinge (mind the plastic parts) with the bolts on the left top side. Make sure the door is alligned with the outside of the appliance.
- Set the appliance carefully upright
- Screw the bolts back on the right top side.
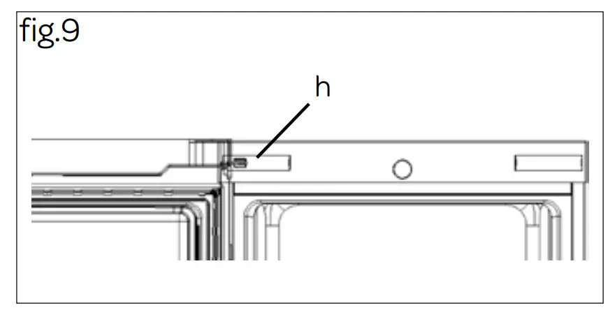
- Refit the plastic covering [h] on the top hinge – fig.10.

- Leave the appliance to stand for at least 3 hours before you insert the plug into the sock
safety instructions
- Please read these instructions before operating the appliance and retain for future use.
- Only use this appliance for the purposes described in the instruction. The appliance is suitable for storing food. It is possible to freeze fresh food in the freezer section.
- Only connect the appliance to alternate current, to an earthed wall socket, with a mains voltage that corresponds with the information provided on the information plate of the appliance.
- Do not use single/multiple adapters or extension cords.
- Do not use the appliance if the plug, cord or appliance are damaged, or if the appliance no longer functions properly or if it is damaged in any other way. If this is the case, consult the shop or our technical service. Never replace the plug or cord yourself.
- The appliance must be moved and installed by two or more persons.
- Be careful when moving the appliance to prevent the floor from getting damaged.
- When positioning the appliance, ensure the supply cord is not trapped or damaged.
- Do not locate multiple portable socket-outlets or portable power supplies at the rear of the appliance.
- Check that the appliance is not placed too close to a heat source.
- In order to ensure proper ventilation, a free space of 10 cm should be maintained around the appliance.
- Never cover the ventilation openings.
- Make sure the cooling pipes do not get damaged.
- Install the appliance on a sturdy, flat and stable surface.
- Install the appliance in a dry and well ventilated room. The appliance is intended for use in a room where the ambient temperature falls within the applicable class, depending on the climate class found on the information plate on the back of the appliance
- Do not store explosive or highly flammable substances in the appliance. The vapours could cause a fire hazard or an explosion.
- Do not store glass bottles or jars with liquids in the freezer, as they could break when frozen.
- Do not use mechanical, electrical or chemical agents to speed up the defrosting process.
- Make sure that children are unable to play with the appliance, such as hide in it. This is dangerous.
- Keep the appliance out of reach of children. Children do not see the dangers when handling electrical appliances. Therefore, never allow children to work with electrical appliances without supervision. Keep the appliance and cord out of reach of children younger than 8 years of age.
Note: Children aged from 3 to 8 years are allowed to load and unload refrigerating appliances. - The appliance can be used by children of 8 years and older and persons with a limited physical, sensory or mental capacity or lack of experience or knowledge, provided they use the appliance under supervision or have been instructed about its safe use and understand the hazards involved.
- The appliance may not be cleaned or maintained by children, unless this is done under supervision.
- Repairs to electrical appliances should only be performed by skilled persons. It is dangerous to perform a repair whereby the base unit of the appliance must be opened.
- Only use and store the appliance indoors.
- Never bend the power cord sharply or allow it to run across hot parts.
- Always remove the plug from the socket when the appliance must be cleaned or repaired.
- Never use the appliance with parts that are not recommended or supplied by the manufacturer.
- Do not pull the cord and/or appliance to remove the plug from the wall socket. Never touch the plug with wet or moist hands.
- Be careful with ice cubes and ice pops. If these are consumed directly out of the freezer, there is a risk of frostbite.
- Never submerge the appliance, cord or plug in water.
- The appliance cannot be used with a timer or separate remote control
- This appliance is only suitable for household use. If the appliance is not used as intended, no compensation can be claimed in case of defects or accidents and the warranty will be invalidated.
If you decide not to use the appliance any more due to a defect, we recommend cutting off the cord after removing the plug from the wall socket. Household appliances are not normal waste. Take the appliance to the waste processing department concerned of your municipality
Refrigerant
The refrigerant isobutene (R600a) is contained within the refrigerant circuit of the appliance, a natural gas with a high level of environmental compatibility, which is nevertheless flammable. During transportation and installation of the appliance, ensure that none of the components of the refrigerant circuit becomes damaged. The refrigerant (R600a) is flammable.
WARNING: Refrigerators contain refrigerant and gases in the insulation. Refrigerant and gases must be disposed of professionallyas they may cause eye injuries or ignition. Ensure that tubing of the refrigerant circuit is not damage prior to proper disposal
WARNING: Risk of fire/ flammable materia
If the refrigerant circuit should be damaged:
- Avoid open flames and sources of ignition.
- Thoroughly ventilate the room in which the appliance is situated. It is dangerous to alter the specifications or modify this product in any way. Any damage to the cord may cause a shortcircuit, fire, and/or electric shock
appliance description

- Thermostat with interior lighting
- Door compartments
- Bottle compartment
- Adjustable legs
- Crisper drawer
- Glass shelf on crisper drawer
- Glass shelves
- Egg holde
before the first use
Before you use the appliance for the first time, please do as follows: Carefully unpack the appliance and remove all the packaging material and any promotional stickers. Keep the material (protective foil, plastic, polystyrene and cardboard) out of reach of children. Check the appliance after unpacking for any damage, possible from transportation. Place the appliance on a flat and stable surface. Make sure there is enough open space around the appliance for the intake and/or outlet vents. A minimum clearance of 10 cm is required between the appliance and any adjacent walls. The appliance needs good ventilation for easy dissipation of heat, high efficiency of refrigeration and low power consumption. Make sure the appliance is placed in a level horizontal position by screwing in the two adjustable front legs. Do not place theappliance next to radiators, heaters, stoves or in direct sunlight.
Note: check the climat class of the appliance. When installing the appliance in a environment that is not suitable, the appliance can not function properly.
Leave the appliance to stand for at least 3 hours before you insert the plug into the socket.
First clean the interior of the appliance. Use warm water and a neutral detergent. After cleaning, rinse the interior with clean water and rub dry. Leave the appliance to dry for 1 to 2 hours.
CONNECTION TO THE MAINS
The appliance features internal controls. Check whether the thermostat is off [OFF]. Check that the voltage in your home corresponds with the voltage printed on the back of the appliance and plug it in
usage
TEMPERATURE ADJUSTMENTS
| Temperature settings |
| Setting MIN = minimum – low cooling temperature |
| Setting MID = medium – normal cooling temperature |
| Setting MAX = maximum – high cooling temperature |
Set the temperature with the thermostat knob and choose a setting between MIN and MAX. We advise to set the appliance on setting MED. The appliance now cools continuously until the set temperature has been reached. Do not place anything in the appliance until the set temperature is reached. This usually takes 2 or 3 hours. Then set the thermostat at the desired setting and place food into the refrigerator.
Set the appliance on a higher setting when the ambient air temperature rises to maintain the temperature inside the appliance.
To turn the appliance off, turn the thermostat to the position [OFF].
Note:
The ambient air temperature, how often the door is opened and the position of the appliance can affect the internal temperature.
These factors must be taken into account when setting the thermostat.
- Do not put hot food into the refrigerator.
- Never introduce volatile, inflammable or explosive fluids suach as alcohol, acetone or petrol because of the risk of explosion.
- It is advisable to wrap meat and fish to avoid odours.
- Leave sufficient space between the food to enable air to circulate correctly between them. Similarly, when storing them, avoid putting food items in contact with each other.
- Do not place food items in contact with the cold wall at the back of the appliance. The shelves have a stop to avoid this.
- The door should not be left open any longeny than necessary
tips
High ambient temperatures have a negative effect on energy use. Keep the appliance in a position away from direct sunlight or other sources of heat.
- Keep ventilation openings free. Clogged openings lead to higher use of energy.
- Try not to open the door too often, especially when the weather is wet and hot. Once you open the door, mind to close it as soon as possible.
- The space between the shelves and the rear wall of the refrigerator compartment must be unobstructed to allow the cool air to circulate. Therefore don’t place any food items against the back.
- Turn the thermostat to a lower setting when the circumstances allow it.
- Before storing fresh cooked food, make sure the food has cooled at least to room temperature.
- If the gasket is damaged or if it turns out that the sealing is poor, the energy consumption is substantially higher. To restore efficiency, replace the gasket.
- Always consider the instructions, otherwise the energy consumption is substantially higher.
To avoid contamination of food, please respect the following instructions- Opening the door for long periods can cause a significant increase of the temperature in the compartments of the appliance.
- Clean regularly surfaces that can come in contact with food and accessible drainage systems.
- Store raw meat and fish in suitable containers in the refrigerator, so that it is not in contact with or drip onto other food.
- Two-star frozen-food compartments are suitable for storing pre-frozen food, storing or making ice cream and making ice cubes.
- One-, two- and three-start compartments are not suitable for the freezing of fresh food .
| Order | Compartments TYPE | Target storage temp.[• C) | Appropriate food |
| 1 | Fridge | +2 S+8 | Eggs,cooked food, packaged food, fruitsandvegetables,dairy products,cakes,dr inksand other foodsarenot suitable for freezing |
| 2 | ***-Freezer | S-18 | Seafood(fish,shrimp,shellfish), freshwater aquatic productsand meatproducts(recommendedfor 3months, thelongerthe storage time,theworsethe tasteandnutrition).suitable for frozenfresh food. |
| 3 | ***-Freezer | S-18 | Seafood(fish,shrimp,shellfish), freshwater aquaticproducts and meatproducts(recommended for 3months, thelongerthe storage time,theworsethe tasteandnutrition),suitable for frozenfresh food. |
| 4 | *Freezer | S-12 | Seafood( fish, shrimp,shellfish), freshwater aquaticproducts and meat products(recommended for 3 months, thelongerthe storage time,theworsethe tasteandnutrition), suitable for frozenfresh food. |
| 5 | *-Freezer | S-6 | Seafood(fish,shrimp,shellfish), freshwateraquaticproducts and meatproducts(recommendedfor 3months, thelongerthe storage time, theworse the tasteandnutrition),suitable for frozenfresh food. |
| 6 | 0-star | -6S0 | Freshpork,beef,fish, ch icken, somepackagedprocessed foods,etc. (Recommended to eat within the sameday,preferablyno more than 3days). Partiallyencapsulatedprocessedfoods(non-freezable foods). |
| 7 | Chill | -2S +3 | Fresh/ frozenpork,beef,chicken, freshwater aquaticproducts, etc. (7daysbelowo•cand above o•cis recommended for consumption within thatday, preferably no more than2 days).Seafood(less than 0 for15days,it is not recommended to store aboveo•c. |
| 8 | Freshfood | 0S+4 | Freshpork,beef,fish, ch icken, cooked food,etc. (Recommended to eat within the sameday,preferablyno more than3 days) |
| 9 | Wine | +5 S +20 | Redwine,whitewine,sparklingwine,etc. |
Note: please store different foods according to the compartments or target storage temperature of your purchased products.
– If the refrigerating appliance is left empty for long periods, switch off, defrost, clean, dry, and leave the door open to prevent mould developing within the appliance.
WARNING -Food needs to be packed in bags before putting into the refrigerator, and liquids need to be packed in bottles or capped containers to avoid the problem that the product design structure is not easy to clean.
cleaning & maintenance
CLEANING THE LARDER
Frost settles on the rear wall of the cooling compartment. It is removed automatically. During the defrosting, the condensate, which can contain contaminants may clog the water discharge opening. Should it occur, carefully unclog the water discharge opening with the cleaning plug.
- Turn the thermostat off [OFF] and unplug the appliance.
- Open the door and remove the food. Keep the contents of the larder in a cool place and wrapped in blankets or newspapers.
- Clean the interior of the appliance. Use warm water and a neutral detergent to prevent any bad smells occurring. After cleaning, rinse the interior with clean water and rub dry.
- Leave the appliance to dry for 1 to 2 hours. Simply remove the drawers, the glass shelves and the door compartments to clean them by hand. Do not clean the interior accessories in the dishwasher.
- Clean the outside of the appliance and the gasket with a soft moist cloth.
- Switch the thermostat on to the right setting. When the larder reaches its correct temperature, replace the food items.
For areas that are difficult to clean in the larder, such as narrow gaps or corners, it is recommended to wipe them regularly with a soft rag, soft brush, etc. When necessary use some auxiliary tools, such as thin sticks (tooth picks), to ensure no contamination can accumulate in these areas.
Clean the outside of the larder and the door gasket with mild soap and water. Use a soft moist cloth.
We recommend that you dust the back of the appliance and on the floor with a cloth or vacuum cleaner once a year in order to maintain a good output and low energy consumption.
Do not use hard brushes, cleaning steel wire balls, wire brushes, abrasives, such as toothpastes, organic solvents (such as alcohol, acetone, oils, etc.), boiling water, acid or alkaline items to clean the larder considering that this may damage the fridge surface and interior. Boiling water and benzene may deform or damage plastic parts.
REPLACING THE LED LIGHTING
This appliance is equipped with a LED light bulb. It can be used for a long time. In case, the LED bulb is blown, you can replace it yourself.
Troubleshooting
| Problem | Cause | Solution |
| Appliance is not functioning; light does not work | Appliance is not plugged in | Plug the appliance in the socket |
| Thermostat has been set incorrectly | Set the thermostat correctly | |
| Temperature inside the larder is too high or too low | Air circulation vents are blocked | Clean the ventilation openings |
| Has the appliance been installed correctly? | Check the installation | |
| Appliance is excessively noisy | Are the pipes at the back touching or vibrating? | Check it and move the appliance forwards |
Note: gurgling and hissing noises due to expansion in the refrigerant circuit are normal.
General terms and conditions of service and warranty
5-year Inventum warranty!
- Customers enjoy a 5-year full manufacturer’s warranty on all Inventum products.
- Within this period, a defective product or part, which makes normal functioning of the product or part impossible, will always be repaired free of charge or, if repair is not possible and/or does not provide a solution, replaced (by the same or equivalent product). The assessment of this lies with Inventum.
- In order to make a claim under the 5-year Inventum warranty you must, within two months after discovering the fault or defect, either return the product to the shop where you bought it, or contact the Inventum customer service department by using the form at www.inventum.eu/service.
- The warranty period starts from the date stated on the product’s original sales receipt.
- To invoke the warranty, you must always send a copy of the original proof of purchase with the service request and present the original proof of purchase to the service technician.
- The 5-year warranty applies only to normal domestic use of Inventum products within the Netherlands.
Warranty exclusions
- The 5-year Inventum guarantee does not apply in case of: normal wear and tear, consumables, improper use, insufficient or incorrect maintenance, incorrect and/or inexpert assembly and installation of the appliance, repairs by unauthorised third parties, business or commercial use, missing serial number, damage caused by an external cause. This enumeration is not exhaustive.
- B-choice products and products that have been built-in in a showroom are not covered by the 5-year Inventum warranty. All optical damage such as dents, scratches and slight traces of use are excluded from any warranty.
Reporting malfunctions on Inventum products
- Faults or defects on Inventum products can be reported by using the service request form on the website www.inventum.eu/service or through the seller of the product.
- A copy of the original proof of purchase must be included with the request.
- Inventum’s service department determines whether the product will be repaired or replaced, based on the request and the sales receipt.
Important to know
- Products sent without prior notification will not be accepted. Further to the notification you will be informed by Inventum whether a warranty applies and whether you must return the product.
- The replacement or repair of a defective product, or a part thereof, does not lead to an extension of the original warranty period.
- Products eligible for replacement or repair must be emptied and clean.
For a detailed explanation of the warranty conditions and items excluded from them, please visit Inventum’s website www.inventum.eu/algemene-voorwaarden
These general warranty and service conditions apply to Inventum brand products purchased after 27 April 2022 and intended for use within the Netherlands.
For Inventum products used outside the Netherlands, but within a EU Member State, the warranty rules of that country apply. Inventum provides warranty and service by a white goods technician only in the Netherlands.
As a consumer, you are entitled by law to a properly working product. Does the product break down sooner than you might expect? This means that the product is not in conformity. In that case, the law offers you, the buyer, with a number of legal remedies for your protection. This legal protection is not affected by the above commercial warranty given by Inventum on Inventum products used within the Netherlands.
Inventum Huishoudelijke Apparaten B.V., Meander 901, 6825 MH Arnhem, The Netherlands
Inventum Huishoudelijke
Apparaten B.V.
Postbus 5023
6802 EA Arnhem
www.inventum.eu
facebook.com/inventum1908
pinterest.com/inventum1908
youtube.com/inventum1908
instagram.com/inventum1908




























