
OPERATING MANUAL

TEXTURE SPRAYER

2405070
Warning!
Mortar spraying machines develop high spraying pressure.
WARNING – Danger of injury!
- Never reach into the spray jet with your fingers or hand!
Never point the spray lance at yourself or other persons!
Coating materials are caustic or irritating!
Protect your skin and eyes! - The following points are to be observed in accordance with the operating manual before every start-up:
1. Observe the permissible pressures.
2. Check all the connecting parts for leaks. Instructions for regular cleaning and maintenance of the machine are to be observed strictly. Observe the following point before any work on the machine and at every working break:
1. Observe the curing time of the coating material.
2. Depressurize the spray lance and mortar hose.
3. Switch off the suction pump.
Be safety conscious!
SAFETY REGULATIONS
1.1 EXPLANATION OF SYMBOLS USED
This manual contains information that must be read and understood before using the equipment. When you come to an area that has one of the following symbols, pay particular attention and make certain to heed the safeguard.
→ This symbol indicates a potential hazard that may cause serious injury or loss of life. Important safety information will follow.
Attention → This symbol indicates a potential hazard to you or to the equipment. Important information that tells how to prevent damage to the equipment or how to avoid causes of minor injuries will follow.
→ The danger of skin injection
→ The danger of injury from inhalation of harmful vapors
→ The danger of electric shock
→ Notes give important information which should be given special attention.
WARNING: PROTECTION OF PERSONS
Spray materials can be harmful if inhaled or come in contact with the body. Vapors can cause severe nausea, fainting, or poisoning.
PREVENTION:
- Protective clothing, gloves, and possibly skin protection cream are necessary for the protection of the skin. Observe the regulations of the manufacturer concerning coating materials, solvents, and cleaning agents in preparation, processing, and cleaning units.
- Do not remove the mortar hose as long as it is under pressure. Pay attention to the pressure gauge.
- All local regulations regarding protection against hazardous vapors must be observed.
- Wear protective eyewear.
- Do not point the spray lance at persons or animals.
- Wear ear protection in order to protect your ears.
- Wear safety shoes when transporting the machine or working with it.
- People not needed to assist with machine installation, assembly, or operation, must keep away from the machine.
- The PowrMax 605 is equipped with an Emergency Stop switch for emergency shutoff.
Breathing masks:
• Make a breathing mask available to the operator in order to protect against mineral dust.
WARNING: RISK OF INJURY DUE TO ESCAPING MATERIAL
PREVENTION:
- Before switching the unit on, always check that the material tap on the spray lance is closed. Close material tap whenever stopping work.
WARNING: RISK OF INJECTION INJURY THROUGH LEAKING HIGH-PRESSURE HOSE
Wear and tear and links as well as usage that is not appropriate to the purpose of the device can cause leakages to form in the mortar hose. Liquid Jan is injected into the skin through a leakage.
PREVENTION:
- Mortar hoses must be checked thoroughly before they are used.
- Replace any damaged mortar hose immediately.
- Never repair defective mortar hoses yourself!
- Avoid sharp bends and folds: the smallest bending radius is about 80 cm.
- Do not drive over the mortar hose. Protect against sharp objects and edges.
- Never pull on the mortar hose to move the device.
- Do not twist the mortar hose.
- Lay the mortar hose in such a way as to ensure that it cannot be tripped over.
![]() | Only use TITAN original-mortar hoses in order to ensure functionality, safety, and durability. |
![]() | The risk of damage rises with the age of the mortar hose. TITAN recommends replacing mortar hoses after 6 years. |
WARNING: RISK OF INJURY DUE TO MOVING PARTS
PREVENTION:
- Never operate the mortar spraying machine if the rotor is exposed or if the container has been removed.
- Do not reach into the rotor when it is moving. Risk of crushing. Caution if you have long hair. Only wear closefitting clothes at work. Do not insert objects or body parts through the protective grid.
- Risk of crushing when folding in the handles, assembling the pump unit, and connecting the mortar hose.
HAZARD: GENERAL
This product can cause severe injury or property damage.
PREVENTION:
- Never decouple mortar hose or disassemble machine when under pressure. Note the pressure reading on the pressure gauge.
- When performing maintenance work, always switch off the mortar spraying machine, disconnect the power cord and ensure it cannot be plugged back in by mistake.
- Do not spray down the motor and control unit of the mortar spraying machine with a water-jet, high-pressure cleaner, or high-pressure steam cleaner. Danger of shortcircuits caused by water ingressing.
1.2 ELECTRIC SAFETY
Electric models must be grounded (earthed). In the event of an electrical short circuit, grounding (earthing) reduces the risk of electric shock by providing an escape wire for the electric current. This product is equipped with a cord having an earthing wire with an appropriate earthing plug. Connection to the mains only through a special feed point, e.g. through an error protection installation with INF < 30 mA.
| DANGER — Work or repairs to the electrical equipment may only be carried out by a skilled electrician. No liability is assumed for incorrect installation. Switch the unit off. Before all repair work, unplug the power plug from the outlet. |
| Danger of short-circuits caused by water ingress into the electrical equipment. Never spray down the unit with high-pressure or high-pressure steam cleaners. | |
| Whenever the machine is automatically brought to a standstill or during a power failure, immediately move the selector switch to “A” to prevent the machine from starting back up again unintentionally. There is a danger of injury. |
1.3 MACHINE USAGE
The mortar spraying machine PowrMax 605 may only be used to process the coating materials described on page 7. Any other usage is not allowed.
Proper usage also includes the observance of the operating manual and the observance of the inspection and maintenance conditions. Always keep the operating manual on hand at the point of use of the mortar spraying machine.
The mortar spraying machine PowrMax 605 may only be operated with a manometer. Only the mortar hose specified by the manufacturer may be used.
Use only marked mortar hoses with at least 40 bars of operating pressure.
The mortar spraying machine is intended exclusively for commercial use by professionals.
1.4 SETUP ON AN UNEVEN SURFACE
The mortar spraying machine must be installed as shown in the diagram below to prevent it from slipping. Block front wheels with brakes.

INTRODUCTION TO WORKING WITH THE MORTAR SPRAYING MACHINE POWRMAX 605
The suction pump PowrMax 605 is conceived for use and processing ready mixed mineral coating materials.
The machine is not designed for use as a cleaning device.
2.1 FUNCTION OVERVIEW OF THE MORTAR SPRAYING MACHINE POWRMAX 605
The coating material is supplied by means of the container.
The spiral conveyor feeds the coating material to the eccentric screw pump. The suction effect causes the coating material to enter the eccentric screw pump. This pump builds up the pressure required for transportation through the mortar hose. The compressed air required for atomization is supplied at the spray lance. The mortar spraying machine can be switched on and off using the electric control. This can also be used to control the delivery volume.
A soft even spray pattern can be achieved by means of the smoothly regulated convey capacity of the coating material.
2.2 PROCESSIBLE COATING MATERIALS
- Thermal insulation composite system bonding agent (mineral and artificial resin systems)
- Artificial resin plasters up to 6 mm granular size
- Silicate plasters up to 6 mm granular size
- Silicone resin plasters up to 6 mm granular size
- Mineral final coats up to 6 mm granular size
- Lightweight plaster systems up to 6 mm granular size
- Scraped stucco up to 6 mm granular size
- Thermal insulation plasters
- Restoration plaster
- Porous concrete coating
- Quartz plastic
- Roof coatings
- Fire protection coatings
- Mineral sealing sludges
- Bitumen emulsions
- Armoring filler
- Liquid wood-chip wallpaper
- Casement grouting mortar
- Artificial resin rendering base
- Wash primer
- Filling paint, also fibrous
- Elastic coating
- Acoustic plaster, artificial resin bonded
- Fillers, artificial resin bonded
All the coating materials must be suitable for machine processing. Refer to the product data sheet of the coating material to be processed.
Use other coating materials only after agreement with the manufacturer or the TITAN application technology service.
TECHNICAL DATA
PowrMax 605 | |
| Voltage: | 230 V~, 50/60 Hz |
| Fusing: | 16 A time-lag |
| Device supply cable: | 5 m long, 3 x 2.5 mm2 |
| Motor output P1: | 2.3 kW |
| Max. convey capacity (water): | 10, 15, 20 l/min (depending on the rotor/ stator) |
| Max. operating pressure: | 40 bar |
| Max. granular size: | K6 mm |
| Dimensions L x W x H: | 1150 x 520 x 610 mm |
| Container capacity: | 50 l |
| Weight (PowrMax 605): | 59 kg |
| Weight (Spray lance): | 2.1 kg |
| Max. tire pressure: | 2.5 bar |
| Degree of protection: | IP 54 |
| Max. sound pressure level: | 70 dB (A)* |
| Atomizing air connection: | Rapid action coupling DN 7.2 mm |
| Max. atomizing air pressure: | 10 bar |
| Minimum required compressed air volume: | 320 l/min |
| Max. mortar hose length: | 40 m (and 2.5 m hose whip) |
| Max. delivery height: | 20 m |
* Place of measurement: 1 m distance from the unit and 1.60 m above the reverberant floor.
EXPLANATORY DIAGRAM FOR POWRMAX 605 (FIG. 2)
- Control unit
- Indicator light red (indicates the presence of a malfunction)
- Operating light green (indicates that mains voltage is present)
- Control panel with a selector switch for operating mode and delivery volume controller
- EMERGENCY STOP switch
- Base frame with wheels
- External controller connection
- Mortar hose with air hose complete
- Spray lance
- Container
- Loading area
- Outlet unit with inside screw pump
- Pressure gauge
- Connecting coupling for mortar hose
- Toolbox
4.1 OPERATING ELEMENTS AND DISPLAYS ON THE DEVICE (FIG. 3)
- Delivery volume controller 0-10
- Selector switch for operating mode
- Indicator light (Error)
- Operating light (Power)
- EMERGENCY STOP switch

The delivery volume controller (Fig. 3, 1) is used to regulate the convey capacity from 0-to 10 smoothly.

The selector switch (Fig. 3, 2) offers the following modes:
| “A” position = automatic Basic setting for control with an automatic spray lance | |
| “F” position = manual activation Switches on the mortar spraying machine. This setting is required for: • disassembling the pump unit |
| “R” position = reverse gear This setting is required for: • relieving pressure on the mortar hose • assembling the pump unit |
DETAILED EXPLANATION OF SELECTOR SWITCH USE:
If the selector switch is in the “A” position, the PowrMax 605 can be switched on and off with the material shut off on the automatic spray lance.
If there is no spray lance fitted (e.g.: assembly/disassembly of the pump unit ), the machine is switched on using the “F” switch position and off using the “A” position.
![]() | Important: control via the selector switch and material shut-off are treated equally. The machine can be switched from the “A” position (control using material shut-off) to “F” at any time. We would therefore recommend that only one person operate the machine. |
The operating light (green, Fig. 3, 4) indicates that the machine is energized and ready.
When the power cord is connected the PowrMax 605 carries out ta function check. While this is going on the indicator light (red, fig. 3.3) flashes. If everything is in working order, the flashing stops after about 30 seconds. If the indicator light lights up during operation, this indicates that there is a malfunction.
For detailed information about this kind of fault, refer to the „Rectification of faults“ section on page 22.
| If the selector switch is in the “F” position when the power cord is plugged in, the machine will not switch on. Briefly move the selector switch to “A” and then back to “F” to switch on the machine. |
EMERGENCY STOP SWITCH
When the EMERGENCY STOP switch is pressed, the PowrMax 605 is switched off immediately.
Turn the EMERGENCY STOP switch in order to release it again.
The machine remains switched off after release. To switch it on again, the selector switch must be briefly set to “A” and then to “F”.
4.2 DRIVE
When an overload occurs, the mortar spraying machine switches off automatically (red indicator light lights up).
Move the selector switch (Fig. 3, 2) to “A” and disconnect the power cord. Set delivery volume controller (Fig. 3, 1) to „0“.
Wait around 5 minutes, then plug the mortar spraying machine back in and switch it on. Set the delivery volume required.
| The drive unit heats up during operation. This is normal and not a sign of malfunction. |
4.3 COMPRESSOR (ACCESSORY)
![]() | An air compressor must be used to provide air to the PowrMax 605 system. The compressor must have the minimum required compressed air volume listed in the Technical Data section. |
| Only operate the compressor in accordance with the enclosed operating manual. |
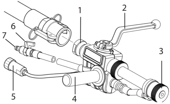
4.4 MORTAR HOSE
- Material connection mortar spraying machine
- Control cable connection/controller
- Atomizing air connection compressed air supply
- Material connection spray lance
- Mortar hose
- Atomizing air connection spray lance
- Control cable connection
- Air supply adapter (threads directly into air compressor)

4.5 SPRAY LANCE
- Material connection
- Combined material and air tap:
Open: material tap at 90° to spray lance
Closed: material tap points forwards - Texture tip:
Various texture tips can be used in the spray lance. The tip size depends on the granular size of the coating material and the desired spray pattern. - Hand-grip:
The hand-grip can mount to either the right or left side of the spray lance, depending on what is required.
The thread on the other side can be closed by way of the attached stoppers for protection. - Control cable connection
- Airflow regulator
- Atomization air connection

TRANSPORTATION
5.1 MOVING
Wind power cable around handles and remove the hose.
Put away the nozzles and other small objects in the storage compartment.
Push or pull the PowrMax 605 by the handle.
![]() | Make sure that 2 people are available to carry the device on the stairs. |
5.2 TRANSPORT USING A CRANE (FIG. 4)
For attaching points for the straps or rope (not wire cable) see figure.

5.3 TRANSPORTATION IN VEHICLE
Secure the unit in the vehicle by means of suitable fasteners.
| To avoid material residues leaking from the machine, clean the device in advance or lock the mortar connection. |
COMMISSIONING
6.1 INSTALLATION LOCATION
Position the mortar spraying machine in a level position to prevent it from sliding away.
6.1.1 CONNECTION TO MAINS POWER SUPPLY/ EXTENSION CABLE
Connection to the mains network only via a special feeding point, for example via a distribution board for construction sites, with a residual current protective device with INF ≤ 30 mA.
![]() | Lay the device supply cable so that there is no danger of stumbling. Protect against damage, for example against being driven over. |
| Min. wire cross-section 3 x 2.5 mm2. Unroll the extension cable completely. Ensure that the coupling pieces and plugs are free of damage. |
• Before connecting the unit to the mains supply, ensure that the line voltage matches that specified on the rating plate.
6.2 INITIAL STARTING-UP
6.2.1 SCOPE OF SUPPLY
The machine is supplied by the manufacturer in the following individual components:
- A complete basic machine comprising a drive unit, control unit, receptacle, and transport frame with wheels
- Stator
- Hose package
- Spray lance
- Pump sliding means
- Toolbox with nozzles, cleaning accessories,…
6.2.2 ASSEMBLY (FIG. 5/6)
| Disconnect external controls. Assembly may only be carried out by the person who controls the machine. Never operate a mortar spraying machine with an exposed rotor. Do not reach into the rotor when it is moving. Risk of crushing. Caution if you have long hair. Only wear close-fitting clothes at work. |
- Loosen the star screws (1) and remove the outlet unit (2).
- Spray the stator (3) and rotor (4) with a suitable pump lubricant (order no. 9992 824).

- Move selector switch (6) to “A” and set delivery volume controller (7) to „0“.
- Connect the power cord to the mains power supply.
- The operation light (8) shows operational readiness.
- The red indicator light (9) flashes during the function check for about 30 seconds.
- Set delivery volume controller (7) to 1 or 2.
- Push the stator (3) over the tip of the rotor (4) (guide rail (5)).
- Set the selector switch (6) to „R“ to push the stator automatically onto the rotor.
- As soon as the stator is in the end position, set the selector switch (6) to „A“.
- Re-assemble the outlet unit (2) and tighten the star screw was(1).

6.3 CONNECTING THE MORTAR HOSE
- Check that the pump unit is seated firmly.
- Connect the mortar hose (Fig. 7, 1) and secure it with the clamping levers (Fig. 7, 2).
- Connect the atomizing air connection at the mortar hose to the compressed air supply, for example, the compressor (accessory).
![]() | The air supply adapter (see section 4.4, item 8) must be installed into the compressor in order for the atomizing air connection to be properly connected to the air supply. |

6.4 COMPRESSOR (ACCESSORY)
Place the compressor at a secure location next to the mortar spraying machine and connect it to the main network.
![]() | Only operate the compressor in accordance with the enclosed operating manual. |
6.5 SPRAY ATTACHMENT ASSEMBLY (ACCESSORIES)
![]() | Different accessories can be mounted to the spray lance, depending on the application, e.g. an extension can be attached. A precise overview can be found in the “Accessories” chapter. |
- Disengage the quick connector and pull the air hose (fig. 8, 1) out of the lance.
- Loosen the locknut (2) and remove the material hose (3).

- Insert the material hose and air hose (if available), which are part of the accessory, into the spray lance and secure by tightening the locknut. (Fig. 9)
| Make sure the O-ring (fig. 9, 4) is not damaged. |

6.6 CONNECTING THE SPRAY LANCE (FIG. 10)
- Select a spray tip suitable for the material:
The tip size should amount to at least three times the granular size, e.g.
granular size artificial resin plasters –> 3 mm Tip size –> 10 mm - Mount the textured tip (1) in the spray lance with the cone pointing towards the spray head.
- Connect the spray lance (2) to the material hose and secure it by applying the levers (3).
- Close the material tap (4) (material tap points forwards).
- Connect atomization air connection (5) to the air hose of the mortar hose.
- Screw coupling plug (6) for the remote control to the control cable of the mortar hose.

- Connect the mortar hose‘s control cable to the pump connection. (Fig. 11)
- Set the selector switch to “A”.

6.7 PREPARING THE MORTAR SPRAYING MACHINE (FIG. 12)
RECOMMENDED SLIDING MEANS FOR THE MORTAR HOSE
| Water is not sufficient as a sliding means. The danger of clogging! Use cellulose paste |
- Fill 2–3 l cellulose paste into the container.
- Connect the mortar spraying machine to the main supply. The operation light (1) shows operational readiness.

Risk of injury from escaping material.
Before switching on, always check that the material tap on the spray lance is closed (material tap points forwards).
Close material tap whenever stopping work. - Set selector switch (2) to “A”.
- Set delivery volume controller (3) to „3“.

6.7.1 RINSE THE MORTAR HOSE
- Close the airflow regulator (fig. 13.3).

AttentionDo not bend the mortar hose!
Protect it against damage, for example against being driven over as well as against sharp objects and edges. - Hold a spray lance over an empty bucket.
- Open material tap (Fig. 13, 1) on spray lance (material tap at 90° to spray lance), and the mortar spraying machine is switched on.
- If cellulose paste comes out of the tip, close the material tap (fig. 13, 1) (material tap points forwards).
- Fill coating material into the receptacle.

With mineral coating materials only fill the receptacle to half full. - Position the spray lance over the bucket again.
- Replace container and lubricant with container and coating material.
- Hold spray lance above container with cellulose paste.
- Open material tap (Fig. 13, 1) on spray lance.
- As soon as coating material exits from the spray lance, close the material tap (Fig. 13, 1).
The mortar spraying machine is now full and ready.

6.8 BEGINNING OF THE SPRAYING PROCESS
- Open the airflow regulator (fig. 13, 3) and the material tap (13, 1) at the spray lance.
- Adjust the flow of material with the delivery volume controller (fig. 13, 2) on the control unit and set the air quantity by adjusting the airflow regulator (fig. 13, 3) to attain the desired spray pattern.

|
| Do not let the mortar spraying machine run dry. Switch the device off immediately if no more material comes out of the tip or if the spray line becomes irregular. Possible reasons for the problem and how to correct it can be found in the chapter called „Eliminating faults“. |
![]() | Increased material tap wear. Do not use the material tap to set the material volume. The delivery volume controller should be used for this purpose. |
6.9 END OF THE SPRAYING PROCESS
- Close the material tap (Fig. 13, 1).
- Close the airflow regulator (fig. 13, 3).
![]() | Always close the material tap at end of the spray process. |
GENERAL INFORMATION ABOUT THE APPLICATION TECHNIQUE
7.1 SPRAYING TECHNIQUE
While spraying hold the spray lance at a uniform distance of 30 – 60 cm from the object. Otherwise, the spray pattern will be uneven.
The spray pattern depends on the coating material, viscosity, tip size, convey capacity, and amount of atomizing air.
Examples:
Fine texture → large amount of atomizing air
Rough texture → small amount of atomizing air
Higher convey → a capacity larger amount of atomizing air
- Test the desired texture on a test surface.
- The lateral limit of the spray jet should not be too sharp.
The distance between the spray lance and the object should therefore be selected correspondingly. - The spray edge should be gradual in order to facilitate overlapping of the next coat.
- If the spray lance is moved parallel and at an angle of 9 0° to the surface to be coated, the paint mist is minimized.
![]() | Grains and pigments with a sharp edge result in a high rate of wear on the pump, mortar hose, material tap, and tip. |
![]() | When using the mortar hose while working on scaffolding, it is best to always guide the hose along the outside of the scaffolding. |
SHUTTING DOWN AND CLEANING
![]() | Do not clean the motor and control unit of the mortar spraying machine moistly. And certainly do not spray down the unit with high-pressure cleaners or high-pressure steam cleaners. Danger of short-circuits caused by water ingressing. |
8.1 CLEANING THE MORTAR HOSE
- Pump until the receptacle is empty.
AttentionDo not let the mortar spraying machine run dry. Switch the device off immediately if no more material comes out of the tip or if the spray line becomes irregular.
Possible reasons for the problem and how to correct it can be found in the chapter called „Eliminating faults“. - Switch off the mortar spraying machine and compressor.
- Close material tap on spray lance.
- Remove the textured tip from the spray lance and clean it.
- Put water in the container and hold the spray lance over an empty bucket.
AttentionDo not let the mortar spraying machine run dry. During the cleaning process, ensure that there is always enough water in the container. - Set delivery volume controller to „5“.
- Open material tap on spray lance.
- Pump material out of the hose into the container until the material exiting the hose is just a thin liquid.
- Close material tap on spray lance.

The mortar hose must be pressureless.
If necessary, set the selector switch briefly to “R” (reverse).
Watch the manometer ––> 0 bar. Wear safety goggles. - Decouple mortar hose from the pump unit.
- Decouple spray lance from mortar hose.
- Insert cleaning ball into mortar hose and reconnect mortar hose
- Set the selector switch to “F”.
- After a few seconds, the cleaning ball is emitted from the spray lance.
- Depending on the processed coating material, repeat the cleaning process 3 – 4 times.

The mortar hose must be pressureless.
If necessary, set the selector switch briefly to “R” (reverse).
Watch the manometer ––> 0 bar.
Wear safety goggles. - Set selector switch to “A”.
- Decouple mortar hose from the pump unit.
![]() | A further cleaning option is to use the cleaning adapter (accessory). This cleaning adapter can be connected to a water hose or a tap by means of claw coupling. Insert the cleaning ball into the mortar hose. Couple the mortar hose to the cleaning adapter and rinse through with water. |
8.2 CLEANING THE DEVICE AND REPLACING THE STATOR
1. Clean mortar spraying machine.
To do so, pump a suitable pump lubricant or water mixed with washing-up liquid through the pump.
DISMANTLING
![]() | The mortar hose must be pressureless. If necessary, set the selector switch briefly to “R” (reverse). Watch the manometer ––> 0 bar. Wear safety goggles. |
![]() | Disconnect external controls. Disassembly may only be carried out by the person who controls the machine. Never operate a mortar spraying machine with an exposed rotor. Do not reach into the rotor when it is moving. Risk of crushing. Caution if you have long hair. Only wear close-fitting clothes at work. |
- Move selector switch (fig. 14, 1) to “A” and set delivery volume controller (2) to „0“.
- Disconnect the power cord.
- Loosen the star screws (3) and remove the outlet unit (4).
- Set delivery volume controller (2) to 1 or 2.
- Connect the power cord to the power supply.
- Move the selector switch (1) to position „F“. As soon as the stator (5) is released from the rotor (6), set the selector switch to „A“.
- Remove the stator (5) completely.
- Disconnect the power cord.

CLEAN THE OUTLET UNIT
- Clean the outlet unit (4) with a jet of water and a suitable bottle brush.
- Clean the container (7) with a jet of water and a suitable brush.
- Clean the protective grid with a radiator brush.
- Also, clean the rotor (6) and stator (5) thoroughly with water and, if necessary, use a brush.
- Then spray rotor (6) and stator (5) and with a suitable pump lubricant.
- Keep the thread of the pump housing and the pump tube clean so that leaking after the assembly is avoided.
MOUNTING
![]() | If the machine is down for a longer period of time, the stator can become set at the rotor. Therefore, if the stator has been in storage for a longer period of time, do not mount it until you are about to begin work. |
8.3 CLEANING THE SPRAY LANCE
- Clean the textured tip.
- Use cleaning needles to clean the air holes in the textured tip.
- Clean and lubricate the O-ring (fig. 15, 1).
- Clean the spray lance and material tube on the inside using a bottle brush (0342 329).
- Clean all threads thoroughly.
- Rinse the spray lance with clear water. Open and close the material tap three times as you are doing this.

MAINTENANCE
![]() | ATTENTION! It is imperative that the machine be de-energized by unplugging the plug before all work and maintenance work. Otherwise, there is a danger of short-circuiting! Repairs may only be carried out by qualified personnel who dispose of the corresponding training and experience. The device must be tested by a skilled electrician after every repair. |
The mortar spraying machine is designed so that a minimum of care and maintenance is required. However, the following work has to be carried out and components checked regularly:
9.1 MECHANICAL MAINTENANCE
- Keep the thread at the pump tube and pump housing clean and, if appropriate, seal.
- Check the seals at all the couplings and connecting pieces for leaks. If appropriate, replace worn seals.
- Check the following for damage before every usage:
– Mortar hose
– Power cable
– Control unit
9.2 ELECTRICAL MAINTENANCE
• The electrical drive and its ventilation slots must always be kept clean and may not be cleaned with water. Danger of short-circuits.
9.3 LONG PERIODS OF NON-USAGE
If the mortar spraying machine is not used for a longer period, it has to be cleaned thoroughly and protected against corrosion.
![]() | Take the stator out of the pump unit so that it cannot get stuck to the rotor. |
9.4 SHAFT SEAL (FIG. 16)
![]() | Check the seals on the PowrMax 605 every month. |
- Move selector switch (fig. 16, 1) to “A” and set delivery volume controller (2) to „0“.
- Disconnect the power cord.
- Loosen the star screws (3) and remove the outlet unit (4).
- Set delivery volume controller (2) to 1 or 2.
- Connect the power cord to the power supply.
- Move the selector switch (1) to position „F“. As soon as the stator (5) is released from the rotor (6), set the selector switch to „A“.
- Remove the stator (5) completely.
- Disconnect the power cord.
- Pull out the two locking pins (7) and remove the anti-twist lock (8).
- Remove the flange (9) with a 17-wrench.
- Remove the container (10).
- Check the seal (11) and replace it if necessary.
- Clean the shaft seal (12).
- Check the rotor (6) and replace it if necessary (see chapter 9.5).

9.5 ROTOR REPLACEMENT (FIG. 17)
- Loosen fixing screw (1) and remove the old rotor (6).
- Fit new rotor with new fixing screw.
- Glue fixing screw with Loctite 243.
| Use Loctite 243 only. |

ELIMINATING FAULTS
MALFUNCTION | POSSIBLE CAUSE | ELIMINATION | ||
| The coating material is suddenly not emitted during spraying. | The textured tip is clogged because of impurity in the coating material or because the granular size is too large. Texture tip too small. Coating material “plug” in the mortar hose. Mortar hose not pre-rinsed with cellulose paste. No coating material in the container. The pump has sucked in air. | Switch the mortar spraying machine off. Close the material cock at the spray lance. Remove the textured tip and clean it. Select a larger texture tip. Rule of thumb: Granular size x 3 ––> Tip size Depressurize the mortar hose – set the selector switch to “R” (reverse). Pump the coating material back into the container.
Decouple mortar hose and rinse with a water hose. | ||
| The spray pattern is not clean and even. | Air ducts in the textured tip are partially closed with a coating material. Air volume incorrectly set. Poor mortar spraying machine cleaning No coating material in the container. The pump has sucked in air. | Switch the mortar spraying machine off. Close the material tap at the spray lance. Remove the textured tip. Clean the air ducts of the texture tip. Change air volume setting. Thoroughly clean mortar spraying machine Refill the container with coating material and pump it around until the coating material emerges without any bubbles. Attention: Always top up with sufficient coating material. Do not let the pump run dry. Pump overheats, resulting in a danger of „plugs“. | ||
| Pressure at the manometer rises to more than 40 bars. | The viscosity of the coating material is too high. Mortar hose diameter too small. The mortar hose is too long. Coating material “plug” in the mortar hose. Mortar hose not pre-rinsed with cellulose paste. | Dilute the coating material. Use a mortar hose with a larger diameter. Use a shorter mortar hose. Depressurize the mortar hose – set the selector switch to “R” (reverse). Pump the coating material back into the container.
Decouple mortar hose and rinse with a water hose. | ||
| The mortar spraying machine does not pump enough coating material. | Convey capacity selected too low. Mortar hose diameter too small. Stator worn. Texture tip too small. | Set the volume regulator higher. Use a mortar hose with a larger diameter. Mount a new stator, if necessary, and also a new rotor. Attention: Spray on pump sliding means. Select a larger texture tip. Rule of thumb: Granular size x 3 ––> Tip size |
If the defect is not caused by one of the above-mentioned faults, have the defect eliminated by the WAGNER customer service.
10.1 ERROR CODES
![]() | A flashing red light indicates a controller error. On the controller, count the red light flashes to determine the nature of the error. |
| FLASH RATE | ERROR DESCRIPTION |
| 1 | IGBT High-Temperature warning > 176ºF (80ºC) |
| 2 | IGBT High Temperature shutdown > 203ºF (95ºC) |
| 3 | IGBT Overcurrent limit |
| 4 | Overvoltage shutdown > 256 VAC |
| 5 | Undervoltage < 75 VAC |
| 6 | Loss of transmission from STM8S Controller |
| 7 | Loss of transmission from TM32 Controller |
| 8 | High Mechanical Load |
WARRANTY
Titan Tool, Inc., (“Titan”) warrants that at the time of delivery to the original purchaser for use (“End User”), the equipment covered by this warranty is free from defects in material and workmanship. With the exception of any special, limited, or extended warranty published by Titan, Titan’s obligation under this warranty is limited to replacing or repairing without charge those parts which, to
Titan’s reasonable satisfaction is shown to be defective within twelve (12) months after the sale to the End User. This warranty applies only when the unit is installed and operated in accordance with the recommendations and instructions of Titan.
This warranty does not apply in the case of damage or wear caused by abrasion, corrosion or misuse, negligence, accident, faulty installation, the substitution of non-Titan component parts, or tampering with the unit in a manner to impairs normal operation.
Defective parts are to be returned to an authorized Titan sales/service outlet. All transportation charges, including a return to the factory, if necessary, are to be borne and prepaid by the End User. Repaired or replaced equipment will be returned to the End User transportation prepaid.
THERE IS NO OTHER EXPRESS WARRANTY. TITAN HEREBY DISCLAIMS ANY AND ALL IMPLIED WARRANTIES INCLUDING, BUT NOT LIMITED TO, THOSE OF MERCHANTABILITY AND FITNESS FOR A PARTICULAR PURPOSE, TO THE EXTENT PERMITTED BY LAW. THE DURATION OF ANY IMPLIED WARRANTIES WHICH CAN NOT BE DISCLAIMED IS LIMITED TO THE TIME PERIOD SPECIFIED IN THE EXPRESS WARRANTY. IN NO CASE SHALL TITAN’S LIABILITY EXCEED THE AMOUNT OF THE PURCHASE PRICE. LIABILITY FOR CONSEQUENTIAL, INCIDENTAL, OR SPECIAL DAMAGES UNDER ANY AND ALL WARRANTIES IS EXCLUDED TO THE EXTENT PERMITTED BY LAW.
TITAN MAKES NO WARRANTY AND DISCLAIMS ALL IMPLIED WARRANTIES OF MERCHANTABILITY AND FITNESS FOR A PARTICULAR PURPOSE WITH RESPECT TO ACCESSORIES, EQUIPMENT, MATERIALS, OR COMPONENTS SOLD BUT NOT MANUFACTURED BY TITAN. THOSE ITEMS SOLD, BUT NOT MANUFACTURED BY TITAN (SUCH AS GAS ENGINES, SWITCHES, HOSES, ETC.) ARE SUBJECT TO THE WARRANTY, IF ANY, OF THEIR MANUFACTURER. TITAN WILL PROVIDE THE PURCHASER WITH REASONABLE ASSISTANCE IN MAKING ANY CLAIM FOR BREACH OF THESE WARRANTIES.
![]()
UNITED STATES SALES & SERVICE
WEB: www.titantool.com
PHONE: 1-800-526-5362
FAX: 1-800-528-4826
1770 Fernbrook Lane
Minneapolis, MN 55447
INTERNATIONAL
WEB: www.titantool-international.com
EMAIL: [email protected]
FAX: 1-763-519-350
1119 • Form No. 2405629B / Doc. # 11310340


























