
Plant Milk Maker
More Choice
Less Waste
Transform leftover pulp into sustainable snacks.

![]()
Please retain instructions for future reference.
Safety Instructions
When using electrical appliances, basic safety precautions should always be followed.
Check that the voltage indicated on the rating plate corresponds with that of the local network before connecting the appliance to the mains power supply.
Children aged under 8 years and people with reduced physical, sensory or mental capabilities or lack of experience and knowledge can use this appliance, only If they have been given supervision or instruction concerning use of the appliance in a safe way and understand the hazards involved.
Children should be supervised to ensure that they do not play with the appliance.
Unless they are older than 8 and supervised, children should not perform cleaning or user maintenance.
This appliance is not a toy.
If the power supply cord, plug or any part of the appliance is malfunctioning or if it has been dropped or damaged, cease using the product immediately to avoid potential injury.
This appliance contains no user serviceable parts only a qualified electrician should carry out repairs. Improper repairs may place the user at risk of harm.
Keep the appliance out of the reach of children when it is switched on or cooling down.
Do not remove the lid until the blades have stopped rotating.
Switch off the appliance and disconnect it from the mains power supply before changing accessories or approaching parts that move in use.
Keep the appliance and its power supply cord away from heat or sharp edges that could cause damage.
Keep the power supply cord away from any parts of the appliance that may become hot during use.
Keep the appliance away from other heat emitting appliances.
Keep hands, fingers, hair and any loose clothing away from the rotating tools of the appliance.
Do not immerse the electrical components of this appliance in water or any other liquid.
Do not operate the appliance with wet hands.
Do not leave the appliance unattended whilst connected to the mains power supply.
Do not remove the appliance from the mains power supply by pulling the cord switch It off and remove the plug by hand.
Do not pull or carry the appliance by its power supply cord.
Do not use the appliance If It has been dropped, if there are visible signs of damage or if it is leaking.
Do not use the appliance for anything other than its intended use.
Do not use any accessories other than those supplied.
Do not use any damaged accessories.
Do not use this appliance outdoors.
Do not store the appliance in direct sunlight or in high humidity conditions.
Do not move the appliance whilst it is in use.
Do not place boiling water or very hot liquid in the appliance.
Do not dry blend ingredients.
Do not overload the appliance as the mixture level may rise during blending.
Do not touch any moving parts on this appliance during use, as this could cause injury.
Do not touch any sections of the appliance that may become hot during use, as this could cause injury.
Do not use broken, loose cutting or rotating blades.
Always unplug the appliance after use and before any cleaning or user maintenance.
Always ensure that the appliance has cooled fully after use before performing any cleaning or maintenance.
Always use the appliance on a stable, heat-resistant surface, at a height that is comfortable for the user.
Use of an extension cord with the appliance is not recommended.
This appliance should not be operated by means of an external timer or separate remote control system, other than that supplied with the appliance.
This appliance is intended for domestic use only. It should not be used for commercial purposes.
WARNING: Do not touch sharp blades.
IMPORTANT
- Check that the base of the milk maker is clean before each cycle.
- Always fill the plastic jug above the min. fill mark, whilst making sure not to exceed the max fill mark.
- Do not connect the milk maker to the mains power supply until the required ingredients have been added.
- Do not operate the milk maker when the plastic jug is empty.
- Never allow any liquid into the connection pins on the underside of the lid. If liquid is accidentally spilled onto the connection pins, dry thoroughly with a paper towel before fitting.
NOTE: The milk maker will not operate unless the lid is positioned correctly on the plastic jug; follow the instructions in the section entitled ‘Using the Milk Maker’.
The milk maker is designed to create fresh plant-based milk, It can also be used to blend ingredients.
Always carry the milk maker by the side handle.
Do not remove the lid until the blades have stopped rotating.
Care and Maintenance
Switch off and unplug the milk maker from the mains power supply and allow it to cool fully.
STEP 1: Wipe the milk maker and the overfill sensor with a soft, damp cloth and allow to dry thoroughly.
Do not immerse the milk maker in water or any other liquid.
Never use harsh or abrasive scourers to clean the milk maker as this could cause damage.
STEP 2: To clean the inside of the plastic jug and the underside of the lid, rinse in clean water to remove milk or food residue. Wipe with a soft cloth and a mild detergent before rinsing again.
STEP 3: Use the ‘BLEND’ setting to remove stubborn stains by adding hot water (up to the min. fill mark) with a small amount of mild detergent. Fit the lid and press ‘ON/OFF’ to switch on the machine, then select ‘MODE’ until the ‘BLEND’ setting is selected. Press ‘ON/OFF’ to begin cleaning.
NOTE: When using the ‘BLEND’ setting to remove stains it is recommended to leave hot water in the milk maker for approx. 10-15 minutes prior to operation. Do not use the ‘BLEND’ setting for more than 20 seconds at a time.
WARNING: Handle the lid with care, as the blades are extremely sharp and cannot be removed. Exercise caution when attaching, removing, cleaning or storing the lid. Do not allow liquid to spill onto the connection pins; if this occurs dry thoroughly before use.
Description of Parts

- Plastic jug
- Min fill line (1300 ml)
- Max fill line (1600 ml)
- Jug handle
- Lid
- Blender blade
- Filter basket
- Filter basket fill line
- Filter basket rivet
- Control panel
- Mode button (MODE)
- On/Off button (ON/OFF)
- ‘Plant Milk’ indicator light (PLANT MILK)
- ‘Blend’ indicator light (BLEND)
- LED display
- Collector container
- Collector container slot
Instructions for Use
Before First Use
Before using the milk maker for the first time, wipe it clean with a soft, damp cloth and dry thoroughly.
Do not immerse the milk maker in water or any other liquid.
NOTE: When using the milk maker for the first time, a slight odour may be emitted. This is normal and will soon subside. Allow for sufficient ventilation around the milk maker.
WARNING: None of the milk maker parts are dishwasher suitable. Hand-wash in warm soapy water and allow to dry thoroughly. Do not immerse the lid, power cord or jug in water or any other liquid.
Using the Milk Maker
STEP 1: Before connecting to the mains power supply, position the plastic jug onto a fiat, stable surface at a height that is comfortable for the user.
STEP 2: Add ingredients to the filter basket, taking care not to exceed the filter basket fill line. Fit the filter basket onto the lid by carefully placing it over the blade and rotating in a clockwise direction until secure.
STEP 3: Add liquid to the plastic jug, making sure that the total volume is above the min. fill mark but below the max. fill mark.
STEP 4: Push the lid onto the top of the jug making sure it is slotted in properly.
STEP 5: Plug in and switch on the milk maker at the mains power supply; the milk maker will emit a sound and the indicator lights will begin to flash. The display will also show ‘—-‘
STEP 6: Press ‘ON/OFF’ to switch on the milk maker. The ‘PLANT MILK’ indicator will illuminate.
STEP 7: Press ‘ON/OFF’ to begin; the ‘PLANT MILK’ indicator light will flash during use.
To stop blending at any time, press and hold ‘ON/OFF’ for approx. 2 seconds.
NOTE: During the blend cycle the timer will count down for one minute, The milk maker blends for 3 cycles. Each cycle is 15 seconds long with a break in between each.
STEP 8: To remove the filter basket from the lid, use the collector container.
Align the rivet on the base of the filter basket with the slots inside the collector container.
The collector container prevents pulp spillages when removing the filter basket from the lid.
STEP 9: Hold the collector container firmly and gently twist the lid in an anticlockwise direction until the filter basket unlocks and can be separated from the lid.
STEP 10: Lift the lid away from the filter basket and transfer the pulp into a suitable container.
STEP 11: Carefully remove the lid and transfer the milk into a suitable container; the lid must be completely removed prior to transferring the milk.
STEP 12: Allow the milk maker to cool fully before making a second batch of milk.
NOTE: Only add cold liquid to the milk maker.
Check that the lid is positioned securely before use.
Do not add frozen ingredients to the milk maker. All ingredients must be thawed and at room temperature.
Using the ‘Blend’ Setting
The milk maker can be used to blend ingredients using the ‘BLEND’ setting. The filter basket is not required for this action
STEP 1: Before connecting to the mains power supply, position the plastic jug onto a flat, stable surface at a height that is comfortable for the user.
STEP 2: Chop the ingredients into approx. 2 cm cubes and place them into the jug.
STEP 3: Add liquid to the plastic jug, making sure that the total volume is above the min. fill mark but below the max. fill mark.
STEP 4: Place the lid on top of the plastic jug. Press ‘ON/OFF’ to switch on the milk maker.
STEP 5: Press ‘MODE’ until the ‘BLEND’ indicator light illuminates.
STEP 6: Press ‘ON/OFF’ to begin; the ‘BLEND’ indicator light will illuminate during use.
When using the ‘BLEND’ setting the timer will begin to count down. The cycle lasts for 2 minutes.
STEP 8: To stop blending at any time, press and hold ‘ON/OFF’ for approx. 2 seconds.
STEP 9: Carefully remove the lid and transfer the liquid into a suitable container; the lid must be completely removed prior to transferring the liquid.
NOTE: Do not blend dry ingredients and do not use the ‘BLEND’ setting for more than three full cycles without allowing the milk maker to cool sufficiently.
Storage
Before storing in a cool, dry place, the milk maker should be cool, clean and dry. Never wrap the cord tightly around the milk maker; wrap it loosely to avoid causing damage.
Troubleshooting
| Problem | Solution |
| The milk maker is not working and is beeping. | The liquid level is too high. |
| The milk maker has stopped mid setting. | The lid is loose. The liquid level is too high, or the milk maker has been overfilled. |
| Food deposits are hard on the base after the milk has been made. | Follow the instructions in the section entitled ‘Cleaning and Maintenance’ section to remove deposits. |
Hint and Tips
- Always soak nuts, grains or seeds before blending to achieve the best results and to preserve the life of the milk maker.
- Consume milk within 2-3 days
- Rice should be cooked before use in the milk maker.
Specifications
Product code: EK5258
Input: 220-240 V ~ 50-60 Hz
Output: 140 W
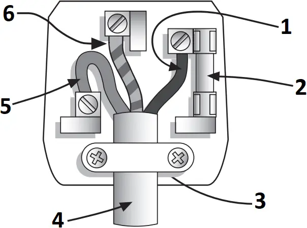
Connection To The Mains
Please check that the voltage indicated on the product corresponds with your supply voltage.
Important
As the colours in the mains lead of this appliance may not correspond with the coloured markings identifying the terminals in your plug, please proceed as follows:
The wires in the mains lead are coloured in accordance with the following code:

- Live wire
- Fuse
- Cable grip
- Outer insulation
- Neutral wire
- Earth wire
Blue Neutral (N)
Brown Live (L)
Green/Yellow Earth (
)
FOR UK USE ONLY – Plug fitting details (where applicable).
The wire coloured BLUE is the NEUTRAL and must be connected to the terminal marked N or coloured BLACK.
The wire coloured BROWN is the LIVE wire and must be connected to the terminal marked L or coloured RED.
The wire coloured GREEN/YELLOW must be connected to the terminal marked with the letter E or marked
.
On no account must either the BROWN or the BLUE wire be connected to the EARTH terminal (
).
Always ensure that the cord grip is fastened correctly.
The plug must be fitted with a fuse of the same rating already fitted and conforming to BS 1362 and be ASTA approved.
If in doubt, consult a qualified electrician who will be pleased to do this for you.
Non-Rewireable Mains Plug
If your appliance is supplied with a non-rewireable plug fitted to the mains lead and should the fuse need replacing, you must use an ASTA approved one (conforming to BS 1362 of the same rating).
If in doubt, consult a qualified electrician who will be pleased to do this for you.
If you need to remove the plug, DISCONNECT IT FROM THE MAINS, then cut it off the mains lead and immediately dispose of it safely. Never attempt to reuse the plug or insert it into a socket outlet as there is a danger of an electric shock.
UP Global Sourcing UK Ltd.,
UK. Manchester OL9 0DD.
Germany. 51149 Köln.
If this product does not reach you in an acceptable condition please contact our Customer Services Department at www.salter.com
Please have your delivery note to hand as details from it will be required.
If you wish to return this product, please return it to the retailer from where it was purchased with your receipt (subject to their terms and conditions).
Guarantee
All products purchased as new carry a manufacturer’s guarantee; the time period of the guarantee will vary dependent upon the product. Where reasonable proof of purchase can be provided, Salter will provide a standard 12 month guarantee with the retailer from the date of purchase This is only applicable when products have been used as instructed for their intended, domestic use. Any misuse or dismantling of products will invalidate any guarantee.
Under the guarantee, we undertake to repair or replace free of any charge any parts found to be defective. In the event that we cannot provide an exact replacement, a similar product will be offered or the cost refunded. Any damages from daily wear and tear are not covered by this guarantee, nor are consumables such as plugs, fuses etc.
Please note that the above terms and conditions may be updated from time to time and we therefore recommend that you check these each time you revisit the website.
Nothing in this guarantee or in the instructions relating to this product excludes, restricts or otherwise affects your statutory rights.
Disposal of Waste Batteries and Electrical and Electronic Equipment
This symbol on the product, its batteries or its packaging means that this product and any batteries it contains must not be disposed of with household waste Instead, it is the user’s responsibility to hand this over to an applicable collection point for the recycling of batteries and electrical and electronic equipment. This separate collection and recycling will help to conserve natural resources and prevent potential negative consequences for human health and the environment due to the possible presence of hazardous substances in batteries and electrical and electronic equipment, which could be caused by inappropriate disposal. Some retailers provide take-back services which allow the user to return exhausted equipment for appropriate disposal. It is the user’s responsibility to delete any data on electrical and electronic equipment prior to disposal. For more information about where to drop batteries, electrical and electronic waste off, please contact the local city/municipality office, household waste disposal service, or the retailer.

*To be eligible for the extended guarantee, go to guarantee.upgs.com/salter and register your product within 30 days of purchase.
![]()
Manufactured by:
UP Global Sourcing UK Ltd.,
UK. Manchester OL9 0DD.
Germany. 51149 Köln.
Made in China.
©Salter trademark. All rights reserved.





CD090822/MD201022/V2



















