
Loft Desk Grey/White
Stock number: 816 21402

H95 W105 D52-75cm
Thank you for purchasing the Loft Desk. Please read the instructions and warnings carefully before use, to ensure the safe and satisfactory operation of this product.
At John Lewis, we are committed to making great products possible.
From our in-house Design Team to our Buyers, we work together to bring great designs to life.
Our expert Product Technologists work collaboratively with our buyers and suppliers to assure the legality, safety and quality of the product we sell.
We are all committed to designing and developing products to the highest industry standards.
We hope you are happy with your product and welcome any feedback or comments you may have.
The John Lewis Team
Tools required

Time to assemble
1 hour
People to assemble

Important safety information
Warnings
The product should only be used on firm, level ground.
Keep small parts out of reach of children.
Ensure the product is fully assembled as illustrated before use.
Do’s
Check the pack and make sure you have all the parts listed.
Check all screws or bolts are tightened and inspect regularly.
Make sure the legs remain in contact with the ground at all times.
Don’ts
Do not over tighten screws or bolts.
Do not stand on the product
Do not use power tools to construct as overtightening and panel failure may occur.



Your desk

| Ref | Description | Dimensions | Qty |
| 1 | LeR side leg | 520x40x695mm | 1 |
| 2 | Right side leg | 520x40x695mm | 1 |
| 3 | Back panel | 970x 15x 1 40mm | 1 |
| 4 | Bottom rail | 970x25x4Omm | 1 |
| 5 | Desk hutch | 1050x520x255mm | 1 |
| 6 | Pull out worktop | 1 007x500x68mm | 1 |
Fixtures and fittings



Product assembly
Loft Desk
816 21402
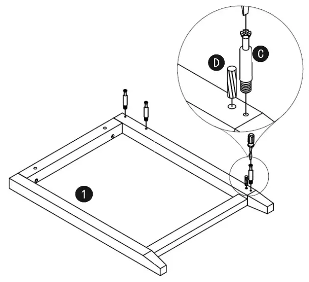
Step 1
Parts, fittings, and tools
Cam studs C are tightened clockwise with a screwdriver. Do not use a power tools and do not overtighten.


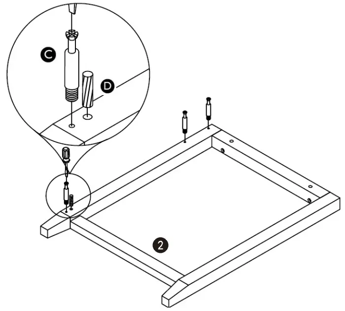
Step 2
Parts, fittings, and tools


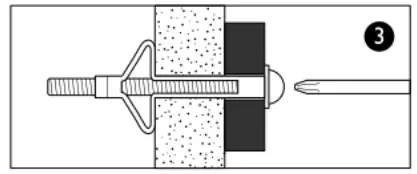
Step 3
Parts, fittings, and tools
Connect the two sides 1+2 to the back panel and the bottom rail.
Insert cams B into the allocated holes and tighten gently clockwise. Do not overturn, as this can damage the fixings.


Step 4
Parts, fittings, and tools
Connect the desk hutch to the legs as shown, using one wooden dowel D and four confirmat screws A.
Tighten bolts clockwise using Allen key H.
Do not overtighten.


Step 5
Parts
Gently slide the pull-out top into place as shown.
Be careful not to scratch the top while sliding it into place.

Step 6
Parts, fittings and tools
Tighten all fixings clockwise with allen key H provided, and stand the unit up with 2 people.


Step 7 – Wall Fixing
Fittings and tools
Attach the desk to the wall using the correct wall fixings (See page 11).



Step 8 – Wall Fixing

Warning
Serious or fatal injuries can occur from furniture tipping over.
To prevent this furniture from tipping over, it must be permanently fixed to the wall.

A guide to wall mounting and fixings
Warning
In order to prevent overturning this product must be used with the wall attachment device provided.
Wall fixing screws are not included, since different wall materials require different types of screws/fixings. Please ensure you use the correct screws/fixings for your type of walls and seek professional advice if you are not sure.
Installation shall be carried out exactly according to the instructions provided – otherwise, a safety risk can occur if incorrectly installed. Failure of the product due to incorrect fixings is the responsibility of the installer.
Important: When drilling into the walls always check that there are no hidden wires or pipes etc.
Types of walls
You can use one of the following types of wall plug if your wall is made of brick, breezeblock, concrete, stone or wood.
1. General purpose wall plug
Generally, aerated blocks should not be used to support heavy loads, use a specialist fitting in this case. For light loads, general-purpose wall plugs can be used.

2. Plasterboard wall plugs
For use when attaching light loads on to plasterboard partitions.

3. Cavity Fixing wall plug
For use with plasterboard partitions or hollow wooden doors.

4. Cavity fixing – Heavy Duty wall plug
For use when fixing or supporting heavy loads such as shelving, wall cabinets and coat racks.

5. Hammer fixing wall plug
For use with walls stuck with plasterboard. The hammer fixing allows it to be fixed to the wall rather than the plasterboard.
Always check the fixing is secure to the retaining wall.

6. Shield Anchor wall plug – Heavy Loads
For use with heavier loads such as TV and Hi-Fi speakers and satellite dishes etc.

Care and maintenance

Safety: Periodically check all fittings and wall fixings to ensure they have not come loose and retighten as necessary.
Care guide
Care and maintenance
Wood Furniture
Wood displays different grain patterns depending on which way they cut – for example, the ‘medullary ray’ which can appear on oak furniture is a mark of good quality timber – these are just characteristics of the natural beauty of the wood.
Some furniture is also deliberately aged and rustic.
Wood veneers also allow distinctive patterns to be created on flat surfaces, such as tabletops and drawer fronts by the way the slivers are arranged.
All timber surfaces will change color and mellow over time. New furniture will initially vary in shade from items that have been previously purchased.
How to care for your wood furniture
Furniture with a hard lacquer or paint should be dusted with a dry cloth.
Spray polishes are best avoided as they contain silicones which may spoil the furniture’s surface by building up over time.
Make sure all surfaces are protected from heat and liquids by mats and coasters. Wipe up spills immediately and ensure that a mat or pad is placed under paper if you are writing.
Our furniture will endure most temperatures in the home, but it is best to avoid placing furniture next to heat sources such as radiators or fires. Be particularly careful with solid wood as the lack of humidity caused by central heating can cause damage such as warping Use mild soapy water for cleaning, do not use anything abrasive as this may damage the surface of the product.
Protect surfaces from scratches and marks by using mats and coasters.
Safety instructions
Never drag furniture when moving it, always lift it.
Periodically check all fixings to ensure none have come loose and re-tighten where necessary.
Please take care when handling or moving the furniture as careless handling may cause damage or injury.
Furniture can be dangerous if incorrectly installed. Assembly should be carried out by a competent person. No liability
will be accepted for damage or injury caused by incorrectly installed or assembled furniture.
Retain these instructions for future reference.
Your feedback is very important to us and we would love to hear your comments on your new furniture. Please visit our website to leave a review. Thank you.
John Lewis Partnership
171 Victoria Street
London SW1E 5NN
johnlewis.com



















