TOTEM TX10 Medium 29 Inch Adult Mountain Bike User Manual
General Information
What’s In the Box?
- 1 x Bike frame with the rear wheel

- lx Wheel

- 1x Saddle

- 2x Pedal

- 1x Disc brake

- 1 x Quick release

- 2x Reflector

- 6x Screw M5.8.5

- 1 xUser’s Manual

Product Overview

Installation Steps
NOTE:
- Before operating your Bike , please read all instructions in the manual and follow the steps and descriptions carefully. This manual will guide you through the installation, functions, operation, and proper maintenance of your TOTEM Bike.
- Before assembling, check that all parts are complete and in good condition. If you have any questions or cannot find the information you need in the manual, please contact [email protected]. Before contacting customer service, please have your original purchase information handy before contacting Customer Service.
Step 1. Adjust the stem
- Turn the stem of the handlebar 180 degrees so that its facing forward.
- Fasten the 2 bolts that are already on the stem to secure the handlebar in position.

Step 2. Install the handlebar Step
- Loosen the 4 bolts on the stem to remove the stem cover
- Rotate the handlebar so that it’s 90 degrees from the wheel and frame
- Put on the stem cover and tighten the 4 screws in order

Step 3. Install disc brakes for the front wheel
- Align the disc brake with the wheel
- Make sure all of the 6× Bolts M5*8.5 are inserted and the disc brake is tightened with the included allen wrench

Step 4. Assemble and install the front wheel
- Take out the wheel and the quick-release skewer. Note that there are two cone springs on the quick-release skewer
- Open the lever and unscrew the thumb nut from the quick release.
- Insert quick-release skewer with each cone spring on both sides into the wheel and pre-fasten thumb nut. 6× Screw M5*8.5
Quick-release thumb nut is ins talled on the same side as the brake pad.
Both cone springs should point toward the wheel hub.
Keep the lever open and thread on the thumb nut a couple of turns leaving enough room for the fork dropouts. - Lower the front fork onto the front wheel. The brake rotor should go into the brake caliper in between the brake pads and the axle should enter the fork dropouts fully.
Check to con firm the wheel is fully sea ted in the dropouts - Hold the quick release lever in line with the axle and tighten the thumb nut until the lever can stay in parallel to the floor without being held. Use the palm of your hand to close the lever fully without touching the brake pad.
The quick-release lever secures the front wheel to the bike so the thumb nut must be tight enough so the closed lever has adequate clamping force and keeps the axle and wheel firmly in place.

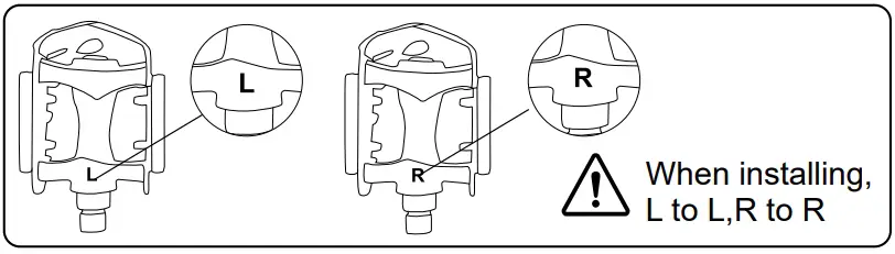
Step 5. Install pedal
- Look for the R I’ labeled at the threaded end of the pedals to identify the correct side
- Hand tighten at first. The right pedal tightens CLOCKWISE The left pedal tightens COUNTERCLOCKWISE
- Completely tighten the pedals with a pedal wrench or an open-end wrench


Step 7. Install the saddle
- Open the clamp under the seat post. Pull the seat up or push it down to adjust the height
- Close the clamp to secure the seat in place. Do not raise the saddle higher than the safety line

Step 8 Install Front Reflector
- Take cot the when reflector, and 1x screw 145.10
- Install the reflector on the handlebar
- Tighten the screws with suitable tools and complete front reflector installations.
Note: The screwdriver ( included in es package is 2-in-1. You can remove ens change the screw head and use a Philips screwdriver to complete the installation.
Step 9. Install Rear Reflector
- Take out the red reflector and 1 x screw M5’10
- Install the reflector on the saddle tube
- Tighten the screws with suitable tools and complete Rear Reflector installation

Riding Your Bike
Adjusting the Seat Height
Positioning the seat to the right height is key for better pedaling, safety, and overall comfort. The rider’s leg length is used to determine the seat’s position. When pedaling, your hips should remain level and your legs shouldn’t over-extend. To determine the right seat height, sit on the Bike with one pedal at its lowest point and place the ball of your foot on the pedal. If your knee bends slightly at this position, the seat is at the right height. Additionally, when placing your heel on the pedal, your leg should be nearly straight.
Open the clamp under the seat post. Pull the seat up or push it down to adjust the height. Check to make sure the seat post is fully inserted into the frame and the head of the seat is parallel with the frame. Lastly, close the clamp to secure the seat in place.


































