
SATELIS
THERMO 50W
Installation Manual
SOLTECH Provides Advanced LED Technology Powered With Eco-friendly, Clean, Solar Energy.


SATELIS
THERMO 50W
01 Check List
SATELIS THERMO 50W

Solar Panel Luminaire Battery Pack


Component Kit A Component Kit B Component Kit C

Component Kit D Component Kit E Component Kit F

Component Kit G Component Kit H Component Kit I

Component Kit J Component Kit K Wire M
02 Introduction
Thank you for purchasing SATELIS THERMO Urban Lighting Products.
Introduction
The high-performance SATELIS THERMO series is a municipal-grade solar outdoor lighting system that provides bright off-grid light. This heavy-duty commercial dedicated series is ideal for highways, city streets, large parking lots, and area lighting. It comes in a wide choice of configurations, lighting outputs, and recommended pole heights. The SATELIS THERMO series is optimized to provide years of bright, reliable light. Industry-leading efficiency, dense batteries, and advanced controls to guarantee the highest possible off-grid autonomy.
Important
In order to avoid deep discharge of the battery during storage, please fully recharge your battery every 4 months. Please make sure that the light is installed in an area with sufficient sunlight irradiance. A strict minimum of 3.5 hours/day of sunshine on average is recommended. Select the right operating mode according to the local legislation needs and the local sunshine conditions. Keep it away from shadows. Self-cleaning available when the light fixture have minimum angle of 15 degrees.
Please save these instructions. Read all of the instructions carefully before attempting to carry out any installation or wiring. Do not open or attempt to repair the product on your own, as it many cause serious damage and would void the product warranty. Contact your local distributor for any questions concerning the installation.
Range of the light module on the lighting fixture is 20–26 feet (6–8 meters). The ideal installation spacing is >16 feet(5 meters). When installing two or more lighting fixtures on one pole, select desired operating mode before installation. Interference can cause delay or malfunction when using the remote control to change operating modes after installation.
Precautions when working with solar panels
When the solar panel is exposed to sunlight, a voltage appears at the output terminals of the solar panel turning it into a source of electricity. To avoid a shock hazard, make sure the solar panel is covered with an opaque (dark) later such as paper or cloth during the installation. Do not make contact with the terminals when the panel is exposed to sunlight or any other light source.
SATELIS
THERMO 50W
12.8V 54AH
SOLAR PANEL: 21.1 Lbs
SOLAR LAMP: 13.5 Lbs
BATTERY ASSEMBLY: 35.2 Lbs
MOUNTING FASTNER: 22 Lbs



![]()



03 Specifications
| Specifications | SATELIS THERMO 50W |
| LED Nominal Power | 50W |
| Solar Panel | 18V 145W |
| LiFePO4 Battery | 691WH 12.8V 54AH |
| Weight | 91.8Lbs |
| Lumen Output@5000K | 10,000 |
| CRI | > 70 (> 80 Optional) |
| LED Chip | Lumileds 5050 |
| EPA | 11.3 ft2 |
| Waterproof Rate | IP65 |
| Casting | Aluminum |
| Efficiency@5000K | 200lm/W |
| * Charging Time | 8hrs |
| Operation Mode | Remote control and One-key Setting |
| Installation Height | 15-20 ft |
| Operating Temperature | -4 to 122˚F |
| Charging Temperature | 5 ˚F to 145 ˚F |
| Maximum Autonomy@Full Power | |
| Motion Sensor Mode | 40%–100% 30hrs |
| Time Control Mode | Night Owl 33hrs |
| Constant Mode | 100% 13hrs |
* The solar charge time data is base on 77 degree F ambient temperature with the panel pointed directly at the solar radiation. The standard radiation value is 1000W/m².
04 Luminous Distribution
SATELIS THERMO 50W Type III

05 Battery Notes
- The LiFePO4 -battery-powered SATELIS THERMO lights are visibly brighter than other outdoor solar lights, and their performance overall is more reliable.
- To charge the battery fully may take up 6 to 12 hours.
- Output will be reduced to 40% when the battery is below 40% of its capacity.
- Battery will stop charging when the ambient temperature is below 5°F or above 145°F.
Battery Status is indicated by the red/green indicator on the lighting fixture as follows:
> Slow red light flashing (Every 2.5s) = Working
> Slow red flashing (Every 5s)= Open circurt
> Red light continuously on = Non-working
> Quick red flashing (Every 0.5s)= Charge fault
> Quick red flashing (Every 0.1s)= Over current or Short circurt
Storage
To avoid over discharge of the battery during storage, please recharge the lighting fixture every 4 months. Use the dedicated charger to charge, reset the switch when done.
Battery Replacement
1. Loosen the screws of the battery pack.
2. Disconnect the wire connectors.
3. Take out the battery pack.
4. Replace with a new one, connect the wire connectors.
5. Tighten the screws.
(IAP) Intelligent Adaptive Program Battery Control Technology
In order to extend the off-grid autonomy of the SATELIS THERMO 50W under shady trees, heavy rain, and thick clouds, our controllers now integrate an adaptive smart control feature to actively track battery capacity and adjust light output accordingly. Before integrating this feature, selecting a light output percentage on the remote would yield an accurate percentage of max LED brightness. Now with (IAP), the controller actively monitors the battery and regulates the electrical current to the LEDs. The controller makes light output of the selected percentage on the remote relative to battery capacity rather than max LED output. This smart-control feature can increase our off-grid performance by up to 40%.

- Battery pack
- Disconnect wires
06 Installation and Wiring Compliance
- Installation and wiring must comply with the State and National Electrical Codes.
- The SATELIS THERMO 50W models are intended for outdoor use only and should not be installed in an unventilated area, and shall be installed in an environment within the operational temperatures defined for the product.
- The average sunshine in the installation area should be above 3.5 hours/day in order to ensure full function of the lighting fixture. Avoid areas with shades.
- Before installation, if applicable, please ensure the light pole and its foundation are solid enough to withstand the lighting fixture(s).
- Before installation, please ensure that the battery is fully charged. Install during sunny days if possible.
- Before installation, please press the
ON/OFF key in the remote control and check whether it shows a red light on the indicator. Please cover the panel and check if the light module turns on normally within 1 minute.
After Installation
The lighting fixture will automatically turn on at night and turn off during daylight.
Important
Always orient the solar panel facing the equator (e.g. facing south if in northern hemisphere).
Always have a tilt angle of at least 15° to avoid dust accumulation (0°=horizontal plane).
07 Ordering Information Chart
Series | Wattage | Color Temperature | Mounting Options | Finish |
| STLSTDTH= SATELIS THERMO | 50=50W 10000 Lumens | 3=3000K 4=4000K 5=5000K 6=5700K | SF=Slip Fitter | GY=Gray |
![]()
For example: STLSTDTH503SFGY
This means the customer wants a SATELIS THERMO 50 watt, 3000K CCT, Slip Fitter installation, with a gray finish.
DO NOT send the sample number directly to our sales. Use the information in the chart above to create a model number with the correct series, wattage, temperature, mounting option, and finish for the product that you want.
08 Mounting Accessories
SLIP FITTER SOLAR PANEL SUPPORT BASE—CUTAWAY

POLE ASSEMBLY
Create 2 holes (diameter 0.5 inch) in the middle of pole, create 1 hole (diameter 1.5 inch, 2.6 inch long) between the 2 holes.

TENON ADAPTER
If your round pole size is over 3.1 inches, or you need a square pole, please contact the pole manufacturer for the tenon adapter.

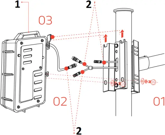
09 Installation
SATELIS THERMO 50W
01 02


1 If your round pole size is over 3.1 inches, or you need a square pole, please contact the pole manufacturer for the tenon adapter to connect the component F.
03 04

05 06


2 Connect
3 Wire M comes inside the pole and comes out from the hole.
4 The luminare wire comes inside the component J.
5 The luminare wire comes inside the component H and comes out from the hole.
10 Panel Angle
The Solar charge in a battery pack won’t last forever. The off–grid system relies on stored solar energy for autonomy. Angling your solar panels properly can boost the power intake of your solar lighting system. You want to angle your solar panels at a tilt based on the area’s latitude.
Alaska
Tip
You can increase the tilt 15° in the winter or decrease 15° in the summer. In this way you can get the maximum sunlight to recharge the battery.


Hawaii
Key
![]()
Strong sunlight Normal sunlight Less sunlight
Best Facing Direction of Solar Panel

The area will dictate the installation of the fixtures and will sometimes prevent the lights from facing south. But that’s okay! Panels facing West & East won’t get as much light as Southern facing panels, but will still collect a good amount of sunlight. A North facing panel also works, but it will take longer to charge than any other direction. This would mean that the solar charge will be less optimal if installations are facing North.
11 Remote Control Guide

- On/Off
- Connect/Test
- 40%~100% Motion Sensor Mode
- 20%~80% Motion Sensor Mode (Default)
- Night Owl Mode
- Early Bird Mode
- 100% Constant Mode
- 70% Constant Mode
- 40% Constant Mode
- Timer Mode Disabled
- Timer Mode 4 Hours
- Time Mode 8 Hours
A When using the remote for the first time, please remove the plastic piece at the bottom to make the remote turn on.

B The range of the remote control to the indicator is 16ft (Day time) to 33ft (Night time). Because the sunlight will impact the signal of the remote control, we suggest our users to setup the mode before they install the light.
1. On/Off
When off is selected, the light will stop working. The solar panel will not charge the battery and the battery will not supply electricity to the light.
2. Connect/Test
Remote control device can be connected with any lighting fixture.
When all cables are connected and solar panel detectes sunlight, the fixture will automatically turn on. To test, press the “Test” button once, the LED light will turn on to indicate the fixture has been turned on. During the day time, the indicator will slowly flashing red. That means the battery is charging.
3. 40%~100% Motion Sensor Mode
Constant 40% brightness (turns on at dusk, turns off at dawn); 100% brightness turns on for 2 minutes when motion is detected.

4. 20%~80% Motion Sensor Mode (Default)
Constant 20% brightness (turn on at dusk, turn off at dawn); 80% brightness turns on for 2 minutes when motion detected.

5. Night Owl Mode
Changes as natural light decreases/increases (turns on at dusk); 70% brightness for 0.5 hour, 100% brightness for 3.5 hours, 70% brightness for 1 hour, 50% brightness for 1 hour, 20% brightness for 5 hours (turns off at Dawn).

6. Early Bird Mode
Changes as natural light decreases/increases with increased brightness near dawn for early risers (turns on at dusk); 70% brightness for 0.5 hour, 100% brightness for 3.5 hours, 70% brightness for 1 hour, 50% brightness for 1 hour, 20% brightness for 4 hours, 100% brightness for 1 hour (turns off at Dawn).

(IAP) Intelligent Adaptive Program Battery Control Technology In order to extend the off-grid autonomy of the SATLIES THERMO 50W under shady trees, heavy rain, and thick clouds, our controllers now integrate an adaptive smart control feature to actively track battery capacity and adjust light output accordingly. Before integrating this feature, selecting a light output percentage on the remote would yield an accurate percentage of max LED brightness. Now with (IAP), the controller actively monitors the battery and regulates the electrical current to the LEDs. The controller makes light output of the selected percentage on the remote relative to battery capacity rather than max LED output. This smart-control feature can increase our off-grid performance by up to 40%.
Important
Dust and dawn time can vary for different locations and seasons. The sensors in our products will monitor the light levels where it is installed. The time period shown in the chart above is just an example to help you understand the different lighting modes.
7. 100% Constant Mode
100% brightness from dusk to dawn.

8. 70% Constant Mode
70% brightness from dusk to dawn.

9. 40% Constant Mode
40% brightness from dusk to dawn.

10. Timer Mode Disabled
Press this button to turn off Timer Mode; settings revert back to before Timer Mode was last activated.
11. Timer Mode 4 Hours
This is an additional mode which can work with any other modes.
For example: press this button at any time after you turn on 70% Constant Mode. If the light turns on at 7pm at dusk, it will turn off at 11pm. It will repeat the same schedule hereafter until it is canceled by pressing Timer Mode Disabled.

12. Time Mode 8 Hours
This is an additional mode which can work with any other modes.
For example: press this button at any time after you turn on 70% Constant Mode. If the light turns on at 7pm at dusk, it will turn off at 3am. It will repeat the same schedule hereafter until it is canceled by pressing Timer Mode Disabled.

Important
Dust and dawn time can vary for different locations and seasons. The sensors in our products will monitor the light levels where it is installed. The time period shown in the chart above is just an example to help you understand the different lighting modes.
SATELIS THERMO products are covered by a 5 year limited warranty. SATELIS THERMO urban light warrants to the original purchaser that this product is free from defects in materials and workmanship for the period of 5 years from date of purchase. To obtain warranty service please contact your local distributor or sales rep for further instruction.

1460 Park Avenue.
Emeryville CA 94608 USA
SOLTECH LLC reserves the right to update all product data sheets at any time. Consult SOLTECH marketing specialists for publication updates at [email protected]
Copyright©2020–2021 SOLTECH LLC, All Rights Reserved.
SOLTECH Provides advanced LED Technology Powered With Eco-friendly, Clean, Solar Energy.



















