niceboy Hive Bones 2 Bluetooth 5.0 Bone Conduction Headphones

PRODUCT DESCRIPTION
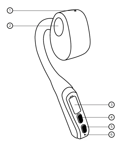
- Microphone
- Multifunction button
- Charging microUSB port
- olume up / Switching the headphones on or off button
- Volume down button
- LED indicator

WEARING THE HEADPHONES PROPERLY
Put on the headphones according to the pictu-re, since incorrect use can result in poor quality of playback
CONNECTING TO BLUETOOTH
- To connect to a Bluetooth device for the first time, press and hold the power key (4); the headphones will turn on (an acoustic prompt will announce this) and automati-cally enter the pairing mode, while the LED indicator (6) will start flashing red-blue.
- Now open the Bluetooth settings of your device and select „Niceboy HIVE Bones 2“ from the available devices.
- The headphones will now connect to the device. Successful pairing is indicated by an acoustic prompt and an LED indicator (6) will start flashing blue. In order to reconnect a previously paired devi-ce with the headphones, you just have to switch on by pressing the on button (4) for 3 seconds (an acoustic prompt sounds) and the headphones connect to it automatically.
BASIC OPERATION
Press button (4) for 3 seconds to switch the headphones on / off. To turn the volume up / down, briefly press buttons (5) and (4). Briefly press the multifunction button (2) to start / stop playback. Press the button briefly two times to skip to the next song. Press the button briefly three times to skip to the previous song.
PHONE CALLS
To answer / end an incoming call, briefly press the multifunction button (2). To reject the incoming call, press and hold the multifunction button (2) for 3 seconds.
VOICE ASSISTANTS
To start voice assistants, press and hold the multifunction key for 3 seconds. Press and hold again to close the voice assis-tant mode.
FACTORY SETTINGS
For resolving possible connection problems or other software problems. To reset the head-phones, press and hold the power button (4) and the volume down button (5) at the same time for 5 seconds.
CHARGING
We recommend that you fully charge the headphones before using it for the first time to maximize battery life. It takes approximately 2 hours to fully charge the headphones.
A low battery condition is indicated by an acoustic signal. To charge the headphones, co-nnect the supplied USB-C cable to the charging port of the headphones (3) and then connect it to any charging adapter (5V voltage and at least 1A output current) or to a USB in a PC. The charging progress is signalled by the red LED indicator (6); when fully charged, the indicator lights up blue. After connecting the charging cable, the headphones will turn off and cannot be connected to any device.
PACKAGE CONTENTS
- Niceboy HIVE Bones 2 Headphones
- USB-C charging cable
- Earplugs
- Instruction manual
PARAMETERS
- Bluetooth version: 5.0
- Supported
- Bluetooth profiles: A2DP, AVRCP, HSP, HFP
Supported
- Bluetooth codecs: AAC, SBC
- Transmission range: 10 meters
- Frequency: 20 Hz-20 kHz
- Sensitivity: 84 dB
- Impedance: 10 Ω
Playback time when
- fully charged: 8 hours (at 50% volume)
Charging time
- until charged: 2 hours
- Battery: Li-Ion 170 mAh
Waterproof level
- of protection: IP55
- Weight: 33 g
The manual may be installed in its electronic form at www.niceboy.eu under the support section. RTB Media s.r.o. hereby declares that the type of radio equipment Niceboy HIVE Bones 2 complies with Directives 2014/53 / EU, 2014/30 / EU, 2014/35 / EU, and 2011/65 / EU. The full content of EU Declaration of Conformity is available on the following websites: https:// niceboy.eu/cs/podpora/prohlaseni-o-shode- -mM38CtmYvX693lHvvu4CWpk3vJGrvnC
USER INFORMATION FOR DISPOSING ELECTRICAL AND ELECTRONIC DEVICES (HOME USE)
This symbol located on a product or in the product original docu-mentation means that the used electrical or electronic products may not be disposed together with the communal waste. In order to dispose of these products correctly, take them to a designated collection site, where they will be accepted for free. By disposing of a product in this way, you are helping to protect precious natural resources and helping to prevent any potential negative impacts on the environment and human health, which could be the result of incorrect waste disposal. You may receive more detailed information from your local authority or nearest collection site. According to national regulations, fines may also be given out to anyone who disposes of this type of waste incorrectly. User information for disposing electrical and electronic devices. (Business and corporate use)
In order to correctly dispose of electrical and electronic devices for business and corporate use, refer to the product’s manufacturer or im-porter. They will provide you with information regarding all disposal methods and, according to the date stated on the electrical or electro-nic device on the market, they will tell you who is responsible for financing the disposal of this electrical or electronic device. Information re-garding disposal processes in other countries outside the EU. The symbol displayed above is only valid for countries within the European Union. For the correct disposal of electrical and electronic devices, request the relevant information from your local authorities or the device seller.
- Importer to EU: RTB media s.r.o., 5. Kvetna 1746/22 Praha 4, 140 00, Czech Republic, ID: 294 16 876 Made in China.





















