CLIPSAL P4JH1400AL-WE Airflow Ceiling Fan

For your safety
DANGER HAZARD OF ELECTRIC SHOCK, EXPLOSION OR ARC FLASH
- This product must only be installed by appropriately qualified and/or licensed electrical personnel.
- Isolate the electrical supply before doing any work on this product.
- Ensure that the product has been correctly installed and tested for safe operation before reconnecting the electrical supply.
Failure to follow these instructions will result in death or serious injury.
CAUTION: IMPORTANT INSTALLATION SAFEGAURDS
- Means for disconnections must be incorporated in the fixed wiring in accordance with the wiring rules.
- The mounting bracket must be fixed to a solid structure, such as ceiling joist with sufficient strength to withstand 4 times the weight of the fan, 30 kg recommended (Figure 1 ).
- The fan should be mounted so that the blades are at least 2.1 m above the floor, and 300 mm from the tip of the blade to the nearest object or walls (Figure 2).
- Hangsure mounting is suitable for pitched ceilings with a maximum angle of 18.5′ (Figure 3).
- The use of attachments not recomended or sold by appliance manufacturer may cause a risk of injury to person.
- The appliance is only intended for the purpose described in the user manual.
- Do not use the appliance or any part of the appliance out of the intended use to avoid risk.
- Replacement of parts of the safety suspension system device shall be performed by the manufacturer, its service agent or suitably qualified persons.
Failure to follow these instructions can result in injury, equipment damage or unnecessary vibration and noise.

CAUTION: IMPORTANT CLEANING SAFEGAURDS
- Isolate the electrical supply before doing any cleaning of this product.
- Periodic cleaning of ceiling fan is required. It is recommended to clean every 6 months.
- Harsher environment may require more regular cleaning.
- Use a soft brush or lint free cloth to avoid scratching the paint finish.
- Do not use water when cleaning your ceiling fan as it could damage the motor or blades and possibility of an electric shock.
- The motor has a permanently lubricated ball bearing so there is no need of oil.
Failure to follow these instructions can result in injury or equipment damage.
CAUTION: INSTALLATION HAZARD
- To ensure proper balance, do not mix up blades with those from another fan as they are a matched set.
- Transport and transit handling may loosen factory fitted cables, please chek and secure terminal screws before installation.
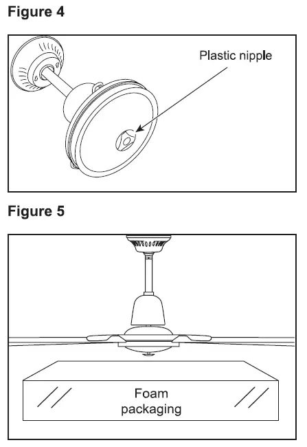
- Do not place motor on a flat surface. The plastic nipple underneath the motor cannot support the weight of the motor and may be easily damaged (Figure 4).
- When working on the fan, place motor on the foam packaging with the nipple located in one of the recesses. This protects the nipple and the finish (Figure 5).
Failure to follow these instructions can result in injury or equipment damage.

Technical data

Pre-install Check
Prior to installation, carefully identify the parts (Figure 6.)
- A Motor Assembly
- B Blades (3 or 4 depending on model)
- C Three-Speed Fan Controller
- D Screw Pack
- E Mounting Bracket
- F Instruction Sheet

NOTE: Controlling Single or Multiple Fans on Single
Controller: This fan has been supplied with a Clipsal
Three-Speed Controller that is designed to only operate a single fan.
If multiple fans are required to be operated from a single controller, a Clipsal C-Thru™ Electronic Fan Controller (purchased separately) must be used.
NOTICE HAZARD OF INCORRECT USAGE
The three speed fan controller supplied with each fan is not suitable for controlling multiple fans.
Failure to follow these instructions can result in equipment damage.
Fitting the Blades
- Place the motor over a foam packaging.
- Place the blade over the motor and align the screws.
- Secure the blade with screws.

NOTE: Connecting a Light Fitting:
For information on how to connect a light fitting to the Ceiling Sweep Fan, refer to the instruction in the light fitting accessory (Oyster Light and Clipper Light).
Hanging the Fan
- Hangsure bracket
Position the ball joint in the bracket so that the guide pin on the bracket engages in the slot in the ball joint.
- J-Hook bracket
Fit the rubber wheel assembly over mounting.

NOTICE SPACING CANOPY TO THE CEILING

For j-hook brackets, leave 5-10 mm gap between the ceiling and canopy. The canopy movement is normal when the fan is running. This gap helps prevent damage to painted ceiling, ticking and clicking noise.
Failure to follow these instructions can result in equipment damage.
Connecting the Fan
All Airflow Ceiling Sweep Fans are pre-wired to allow for a light to be fitted onto the fan.
If you are not fitting a light to the fan, disregard the light wires. The wires are connected to the incoming wiring as illustrated in the following diagram.

Pole disconnection must be incorporated in the fixed wiring in accordance with the wiring rules.
Connecting the Speed Controller

All Airflow Ceiling Sweep Fans are equipped with a three speed flush fitting capacitor controller. This controller fits to standard 84 mm fixing centres, the same as a normal switch or a power point.
Although supplied standard in the vertical format, the mechanism can be rotated 90° to provide a horizontal format if required.
To ensure that the OFF position of the switch is at the top when installed, the mechanism must be installed into the plate with the three screw heads pointing upwards. The mechanism must be fully clipped into the plate from the rear. Three is the highest speed, one is the lowest.
- Remove switch surround.
- Terminate cables as illustrated in the below diagram. @ Active to common and switched active to terminal one.
- Fix controller to wall box or bracket using screws provided.
- Screws may need to be shortened for some applications.
- Replace switch surround.

Connecting the Speed Controller with a Light Switch

Connecting the speed controller with a light switch requires additional components (not supplied with this fan) including:
- Clipsal 30M Switch Mechanism
- Two gang grid plate and cover

CAUTION: EQUIPMENT OPERATION HAZARD
- If unsual oscillating movement is observed, immediately stop using the ceiling fan and contact the manufacturer, its service agent or suitably qualified persons.
- This appliance is not intended for use by persons (including children) with reduced physical, sensory or mental capabilities or lack of experience and knowledge, unless they have been given supervision or instruction concerning use of the appliance by a person responsible for their safety.
- Children should be supervised so that they do not play with the appliance.
Failure to follow these instructions can result in injury or equipment damage.
Operating Instructions
- A Turn the knob to speed three (top position). This will start the blades spinning.
- B Once the blades are spinning you can select a lower speed if desired.
- C The speed setting is always located at the top position of the knob as illustrated below.

Summer/Winter Settings
The summer/winter switch is located on the bottom canopy.
Check the switch and make sure that it is in the correct setting, depending on cold weather or hot weather.
- Cold weather: Push switch down for the blades to circulate the warm air trapped near the ceiling.
- Hot weather: Push switch up for the blades to create a breeze and circulate the air.
NOTE: The summer/winter switch must be fully engaged for the fan to operate.
Troubleshooting
If the fan does not switch on:
Turn off the power supply. Then check the following:
- Summer/winter switch on fan motor not fully engaged in desired setting.
- Connections are as per installation diagram.
To be checked by appropriately qualified and/or licensed electrical personnel. - Fuse blown, circuit breaker tripped or there is a power failure.
If the fan does not operate at varying speed control settings:
Verify the speed controller connection. To be checked by appropriately qualified and/or licensed electrical personnel.
If you hear a ticking, rattling or mechanical noise:
- Ensure all screws and bolts are tight.
- Ensure the mounting assembly is secure.
- Ensure the lower canopy is clear of the motor.
- With hook mount models, ensure the top canopy is clear of the ceiling by 5 to 10 mm to allow for slight movement of the fan.
- Ensure the wires are not tapping against the canopy.
Warranty and Contact Information
Warranty information (Australia)
We warrant this product for 3 years-for details visit: www.schneider-electric.com.au/en/about-us/legal/termsand-conditions.jsp
Schneider Electric (Australia) Ply Ltd
33-37 Port Wakefield Road, Gepps Cross SA 5094 Customer Care: 13 73 28
Email: [email protected]
www.schneider-electric.com.au
Schneider Electric reserves the right to change specifications, modify designs and discontinue items without incurring obligation and whilst every effort is made to ensure that descriptions, specifications and other information in these instructions are correct, no warranty is given in respect thereof and the company shall not be liable for any error therein.
© Schneider Electric 2019
This material is copyright under Australian and international laws. Except as permitted under the relevant law, no part of this work may be reproduced by any process without prior written permission of and acknowledgment to Schneider Electric.



















