YOUKAIN HDLP-51114 Light Pro 18 Inch 4 Light Matte Black Farmhouse Style Drum Pendant

Product Information
The product is a light fixture that includes the hardware required for installation. The assembly instructions caution users to take necessary safety measures and use specific tools while installing the fixture. The hardware included in the package consists of the fixture, stem A, stem B, stem C, rubber ring, washer, glass shade, hex nut, cover, chain, canopy, screw collar ring, mounting unit, mounting screws, wire nuts, and decorative screws.
Product Usage Instructions
- CAUTION: Before starting the installation process, ensure that you have the necessary tools required for installation. These include ladder, safety glasses, electrical Phillips screwdriver, flat blade screwdriver, pliers, wire strippers, and tape.
- STEP 1: Attach the bracket to the iron ring through screw holes as shown. Secure it with decorative screws. Then attach the chain, fixture finial, canopy, screw collar ring, stem A, stem B, and decorative screws to the fixture.
- STEP 2: Screw stem C into the fixture. Place the washer, rubber ring, and glass shade onto the stem C. Secure it with a hex nut and cover.
- STEP 3: Choose the length of the chain you need. Use a Phillips screwdriver and pliers to open the chain. Pass the chain and branch wires through the screw collar ring and canopy. Attach the end of the chain to the fixture finial. Feed the branch wires through the pipe nipple on the mounting unit.
- STEP 4: Use the mounting screws to attach the mounting unit to the junction box.
- STEP 5: Make the electrical connection from the junction box to the fixture. Connect the ground wire to the mounting unit using the preinstalled green ground screw. Then connect the positive, negative, and ground wires with the supplied wire nuts and secure with electrical tape.
- STEP 6: Secure the canopy to the mounting unit with the screw collar ring.
- STEP 7: Install the bulb (not included).
ASSEMBLY INSTRUCTIONS
- Inspect the wire insulation for any cuts, abrasions, or exposed copper that may have resulted during shipping. If there is a defect in the wire, do not attempt installation
- Before starting the installation of this fixture or removal of a previous fixture, disconnect the power by turning off the circuit breaker or by removing the fuse at the fuse box.
TOOLS REQUIRED
HARDWARE INCLUDED
PARTS SHOWN MAY DIFFER SLIGHTLY PER LIGHT FIXTURE
EXPLODED PARTS
INSTALLATION
STEP 1
Attach the bracket to the iron ring through screw holes as shown, and secure it with decorative screws.
STEP 2
Attach the fixture to the iron ring through screw holes as shown, and secure it with decorative screws
STEP 3
Screw the stem A, stem B and fixture finial onto the fixture
STEP 4
- Choose the length of the chain you need (Open the chain using a phillips screwdriver (not included) and pliers (not included). )
- Attach the end of the chain to the fixture finial

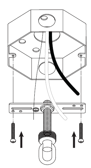
STEP 5
Use the mounting screws to attach the mounting unit tothe junction box.
STEP 6
- Pass the chain and the branch wires through the screw collar ring and canopy.
- Attach the end of the chain to the mounting unit.

- Feed the branch wires through the pipe nipple on the mounting unit
STEP 7
Make the electrical connection from the junction box to the fixture. Connect the ground wire to the mounting unit using the preinstalled green ground screw. Then, connect the positive, negative and ground wires with the supplied wire nuts. Secure with electrical tape.

STEP 8
Secure the canopy to the mountring unit with the screw collar ring.
STEP 9
Install bulb (not included)
STEP 10
Tighten the stem C into the fixture, place the washer, rubber ring and glass shade onto the stem C, the secure with hex nut and cover.

















