URBAN OUTFITTERS 78232121 Armand Floor Mirror

Product Information
The Armand Floor Mirror is a stylish and functional mirror that adds a touch of elegance to any room. It comes with assembly instructions and the necessary hardware for easy setup. The mirror is designed to be placed on a flat, even surface and should be assembled by two people. It is recommended to keep the mirror away from direct sunlight and avoid placing it over heat or air conditioning vents. The furniture also features levelers to adjust for uneven floors. It is important to clean any spills by blotting with a clean white cloth and avoiding the use of harsh chemicals. Before cleaning any part, it is advised to test a small spot in a hidden area. Additionally, it may be necessary to re-tighten all bolts after initial use.
Product Usage Instructions
| Step | Instructions |
|---|---|
| Step 1 | With the help of another person, align the hole in the Mirror (A) with the hole in the left side panel (B). Attach Nylon Flat Washers (3) and Flat Washers (2) into the Allen Bolts (1). Tighten using the Allen key (5). |
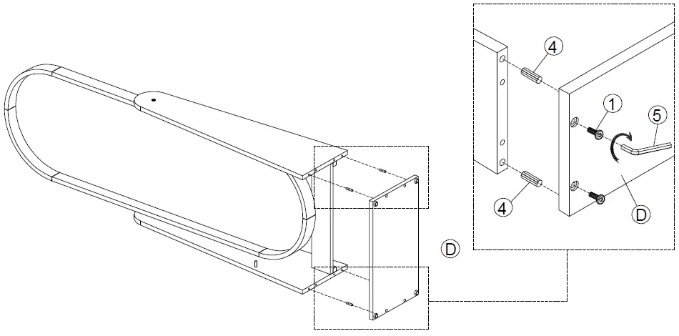
| Step 2 | Insert Dowel (4) as shown. Align the holes in the back panel (E) with the holes in the left side panel (B). Insert the Allen Bolts (1) and Flat Washers (2) through the Back panel (E). Tighten using the Allen key (5). |
| Step 3 | Repeat Step 2 on the opposite side with the right side panel (C). |
| Step 4 | Align the Bottom panel (D) with the side panels. Insert Dowel (4) as shown. Insert Allen Bolt (1) through the Bottom panel (D). Tighten using the Allen key (5). |
TOOLS REQUIRED BUT NOT INCLUDED
- Phillips Head Screw Driver
Do not throw away packing materials and carton until after assembly. Assemble all parts on a clean smooth surface.
- The assembly of this item requires x 2 people
PARTS INCLUDED

HARDWARE LIST

Assembly Instructions
STEP 1
With help, align the hole in Mirror (A) with the hole in left side panel (B). Attach Nylon Flat Washers (3) and Flat Washers (2) into the Allen Bolts (1) as shown. Tighten with Allen key (5).

STEP 2
Insert Dowel (4) as shown. Align holes in back panel (E) with holes in left side panel (B). Insert the Allen Bolts (1) and Flat Washers (2) through the Back panel (E). Tighten with Allen key (5).
STEP 3
Repeat step 2 on opposite side with right side panel (C).

STEP 4
Align Bottom panel (D) with side panels. Insert Dowel (4) as shown. Insert Allen Bolt (1) through Bottom panel (D). Tighten with Allen key (5).

FINISH

CARE INSTRUCTIONS
- Avoid direct exposure to sunlight. Do not place over heat or Air conditioning vents.
- Adjust levelers so that the furniture sits flat on uneven floors.
- Blot spills do not rub, with a clean white cloth.
- Do not use harsh chemicals.
- Before cleaning any part test a small spot in a hidden area.
- You may need to re-tighten all bolts after initial use.
EXCLUSIVE AND CONFIDENTIAL PROPERTY OF URBAN OUTFITTERS, INC.
© 2017 UO, Inc. All rights reserved, including all applicable copyright, design, and patent rights. Any unauthorized reproduction, adaptation, distribution, or other infringement will be prosecuted.













