
Phantom Gaming Graphics Card
Installation Guide
Quick lnstallation Guide
Hardware Installation
- Turn off your PC and unplug the power cord.
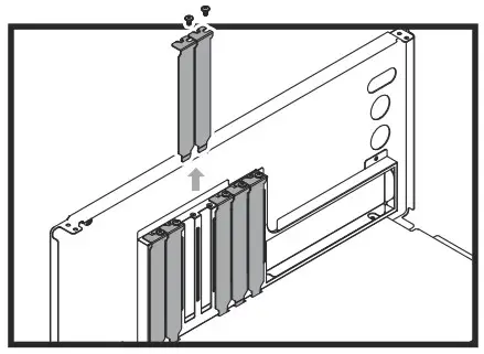
- Open the case and locate the graphics card slot.
- Remove the corresponding slot covers on the back of the PC.

- Insert the card into the slot unil it is fully seated.
- Secure the card to the case with screws.

- If your graphics card requires an external power source, connect the power supply to the card.

- Close the case. Plug the display cable into the card.

- Plug in the power cord and turn on the PC.
Driver Installation
- Insert the support CD into your optical drive.
- Follow the on-screen instructions to complete driver installation.
*The graphics card photos in this document are for reference only, and may be different from the actual product you purchased.
*Depending on your motherboard, you may need to open the latch on the slot to remove the graphics card. Please refer to the motherboard documentation for the proper procedure.
*If this graphics card does not come with the driver and the utilities, please download them from ASRock website (htps://www.asrock.com).
EU Declaration of Conformity
For the following equipment:
Graphics Card
(Product Name)
Graphics Card Series / ASRock
(Model Designation / Trade Name)
ASRock Incorporation
(Manufacturer Name)
2F., No.37, Sec. 2, Jhongyang S. Rd., Beitou District, Taipei City 112, Taiwan (R.O.C.)
(Manufacturer Address)
☒ EMC — Directive 2014/30/EU (from April 20th, 2016)
- EN 55022:2010/AC:2011 Class B
- EN 55032:2012+AC:2013 Class B
- EN 61000-3-2:2014
- EN 55024:2010/A1:2015
- EN 61000-3-3:2013
☒ RED — Directive 2014/53/EU
- EN 300 328 V2.1.1
- EN 301 893 V2.1.1
- EN 300 220 V3.1.1
- EN 301 489-17 V3.1.1
- EN 301 489-3 V2.1.1
☐ LVD — Directive 2014/35/EU (from April 20th, 2016)
- EN 60950-1 : 2011+ A2: 2013
- EN 60950-1 : 2006/A12: 2011
- RoHS — Directive 2011/65/EU
- CE marking
(EU conformity marking)
ASRock EUROPE B.V.
(Company Name)
Bijsterhuizen 1111 6546 AR Nijmegen The Netherlands
(Company Address)
Person responsible for making this declaration:
(Name, Surname)
A.V.P
(Posiion / Title)
May 17, 2019
(Date)
DECLARATION OF CONFORMITY
Per FCC Part 2 Section 2.1077(a)![]()
Responsible Party Name: ASRock Incorporation
Address: 13848 Magnolia Ave, Chino, CA91710
Phone/Fax No: +1-909-590-8308/+1-909-590-1026
hereby declares that the product
Product Name : Graphics Card
Model Number : Graphics Card Series
Conforms to the following specifications:
FCC Part 15, Subpart B, Unintentional Radiators
Supplementary Information:
This device complies with part 15 of the FCC Rules. Operation is subject to the following two conditions: (1) This device may not cause harmful interference, and (2) this device must accept any interference received, including interference that may cause undesired operation.
Representative Person’s Name: James
Signature : 
Date : May 12, 2017
Version 1.2
Published May 2019
Copyright©2019 ASRock INC. All rights reserved.
Copyright Notice:
No part of this documentation may be reproduced, transcribed, transmitted, or translated in any language, in any form or by any means, except duplication of documentation by the purchaser for backup purpose, without written consent of ASRock Inc.
Products and corporate names appearing in this documentation may or may not be registered trademarks or copyrights of their respective companies, and are used only for identification or explanation and to the owners’ benefit, without intent to infringe.
Disclaimer:
Specifications and information contained in this documentation are furnished for informational use only and subject to change without notice, and should not be constructed as a commitment by ASRock. ASRock assumes no responsibility for any errors or omissions that may appear in this documentation. With respect to the contents of this documentation, ASRock does not provide warranty of any kind, either expressed or implied, including but not limited to the implied warranties or conditions of merchantability or fitness for a particular purpose.
In no event shall ASRock, its directors, officers, employees, or agents be liable for any indirect, special, incidental, or consequential damages (including damages for loss of profits, loss of business, loss of data, interruption of business and the like), even if ASRock has been advised of the possibility of such damages arising from any defect or error in the documentation or product.
This device complies with Part 15 of the FCC Rules. Operation is subject to the following two conditions:
(1) this device may not cause harmful interference, and
(2) this device must accept any interference received, including interference that may cause undesired operation.
CALIFORNIA, USA ONLY
The Lithium battery adopted on this motherboard contains Perchlorate, a toxic substance controlled in Perchlorate Best Management Practices (BMP) regulations passed by the California Legislature. When you discard the Lithium battery in California, USA, please follow the related regulations in advance. “Perchlorate Material-special handling may apply, see www.dtsc.ca.gov/hazardouswaste/perchlorate”
AUSTRALIA ONLY
Our goods come with guarantees that cannot be excluded under the Australian Consumer Law. You are entitled to a replacement or refund for a major failure and compensation for any other reasonably foreseeable loss or damage caused by our goods. You are also entitled to have the goods repaired or replaced if the goods fail to be of acceptable quality and the failure does not amount to a major failure. If you require assistance please call ASRock Tel : +886-2-28965588 ext.123 (Standard International call charges apply)
The terms HDMI® and HDMI High-Definition Multimedia Interface, and the HDMI logo are trademarks or registered trademarks of HDMI Licensing LLC in the United States and other countries.
Contact Information
If you need to contact ASRock or want to know more about ASRock, you’re welcome to visit ASRock’s website at htp://www.asrock.com; or you may contact your dealer for further information. For technical questions, please submit a support request form at htps://event.asrock.com/tsd.asp

ASRock Incorporation
2F., No.37, Sec. 2, Jhongyang S. Rd., Beitou District,
Taipei City 112, Taiwan (R.O.C.)
ASRock EUROPE B.V.
Bijsterhuizen 11-11
6546 AR Nijmegen
The Netherlands
Phone: +31-24-345-44-33
Fax: +31-24-345-44-38
ASRock America, Inc.
13848 Magnolia Ave, Chino, CA91710
U.S.A.
Phone: +1-909-590-8308
Fax: +1-909-590-1026
ASRock Website: htp://www.asrock.com
P/N: 15G062089003AK V1.2























