PMBD3620 2-Port Branch Distribution Box
Instruction Manual
LG BRANCH DISTRIBUTOR UNIT INSTALLATION MANUAL
(PMBD3620/PMBD3630/PMBD3640/PMBD7230
PMBD5420L/PMBD5430L/PMBD5440L)
Safety Precautions
To prevent injury to the user or other people and property damage, the following instructions must be followed.
Incorrect operation due to ignoring instruction will cause harm or damage. The seriousness is classified by the following indications.
WARNING : This symbol indicates the possibility of death or serious injury.
CAUTION: This symbol indicates the possibility of injury or damage.
■ Meanings of symbols used in this manual are as shown below.
| Be sure not to do. | |
| Be sure to follow the instruction. | |
| Be sure to establish an earth connection. |
WARNING
| For electrical work, contact the dealer, seller, a qualified electrician, or an Authorized Service Center. | Be cautious when unpacking and installing the product. | Install the panel and the cover of control box securely. |
| • Do not disassemble or repair the product. There is risk of fire or electric shock. | • Sharp edges could cause injury. Be especially careful of the case edges and the fins on the condenser and evaporator. | • There is risk of fire or electric shock. |
![]() | ||
| Do not place anything on the power cable. | Take care to ensure that power cable could not be pulled out or damaged during operation. | Do not place a heater or other appliances near the power cable. |
| • There is risk of fire or electric shock. | • There is risk of fire or electric shock. | • There is risk of fire and electric shock. |
![]() | ||
| Always ground the product. | Do not install, remove, or re-install the unit by yourself (customer). | Do not allow water to run into electric parts. |
| There is risk of fire or electric shock | • There is risk of fire, electric shock, explosion, or injury. | • It may cause there is risk of fire, failure of the product, or electric shock. |
![]() | ||
| For installation, always contact the dealer or an Authorized Service Center. | Do not modify or extend the power cable. | Do not install the product on a defective installation stand. |
| • There is risk of fire, electric shocexplosion, or injury | • There is risk of fire or electric shock. | • It may cause injury, accident, or damage to the product. |
![]() | ||
| If strange sound, or smell or smoke comes from product. | Do not let the air conditioner run for a long time when the humidity is very high and a door or a window is left open. |
| • Turn the breaker off or disconnect the power supply cable. There is risk of electric shock or fire | • Moisture may condense and wet or damage furniture. |
![]() | |
CAUTION
| Keep level even when installing the product. | Always check for gas (refrigerant) leakage after installation or repair of product. | Do not step on or put anyting on the product. (outdoor units) |
| • To avoid vibration or water leakage. | • Low refrigerant levels may cause failure of product. | • There is risk of personal injury and failure of product. |
![]() | ||
Parts
| 1. INSTALLATION MANUAL | |
![]() | 1 pc |
| 2. HANGER METAL | |
![]() | 4 pcs |
| 3. SCREWS | |
![]() | 12 pcs |
| 4. SOCKET | |
(Nut: ø15.88, Socket: ø12.7)(PMBD7230 ONLY) | 1 pc |
| 5. INSULATION PE | |
![]() | 2 pcs |
Items to be prepared in the field
- Connecting wires
(H05VV, 4 wires, 0.75mm, or 1.2mm) - Installation parts
(Hanging bolts: 4 x M10 or M8, Nuts: 12, flat washers:8) - Screws for wall-mounting : 6 x M5
- Insulation
- Brass cap
- Aluminum tape
Accessories
PRECAUTIONS FOR SELECTING THE LOCATION
The BD unit is for indoor use. Install in a location such as above a ceiling or behind a wall in accordance with the following conditions:
- That the unit is fully supported, and is in a location with little or no vibration.
- That the refrigerant pipes for the indoor and outdoor units can be repaired with ease, and that the units are placed well within the distance from each other allowed by the pipe length.
- That there is nothing nearby that produces heat or steam(gas).
- When installing, that there is enough carity for servicing the unit.
- Do not install in location that is hot or humid for long periods of time.
- A well-ventilated area.
- Do not install near bedrooms. The sound of refrigerant flowing through the piping may sometimes be audible. For restrictions on installation, refer to “INSTALLATION”.
System Layout and Piping Length
For installation of the indoor units. Follow the instructions in the installation manual for each unit.
System Layout
Distributor Unit
| Refrigerant Rooms | R410A | R22 |
| 2 | 2 PMBD3620 | PMBD5420L |
| 3 | PMBD3630, PMBD7230 | PMBD5430L |
| 4 | PMBD3640 | PMBD5440L |
Do not connect more than 8 indoor units together choose the distributor unit type (2rooms,3rooms or 4rooms) according to the installation pattern
NOTICE
- Should assemble more than 40% (19k) of standard capacity (48k) in the outdoor unit and with over 2 indoor units.
- Should use the private distributor (PMBD7230) in case of 30k and 36k indoor units.
Piping length and elevation
PMBD3620/PMBD3630/PMBD3640/PMBD7230(R410A)…………..(m)
| No. | Length | 6 room | 7 room | 8 room | |
| (1) | Total main piping length | A+B | 50 | 50 | 50 |
| (2) | Total branch piping length | L1+L2+L3+L4+L5+L6+(L7)+(L8) | 50 | 60 | 60 |
| (3) | Max. each branch piping length | L1, L2, L3, L4, L5, L6, L7,L8 | 15 | 15 | 15 |
| (4) | Total system piping length | (Total main) + (Tatal branch) | 100 | 110 | 120 |
| (5) | Maxium Level in – out | h1 | 30 | 30 | 30 |
| (6) | Maxium Level in – in | h2 | 10 | 10 | 10 |
PMBD5420L/PMBD5430L/PMBD5440L(R22) ……………… (m)
| No. | Length | 8 room | |
| (1) | Total main piping length | A, B | 25 |
| (2) | Total branch piping length | L1+L2+L3+L4-FL5+L6+(L7)+(L8) | 50 |
| (3) | Max. each branch piping length | L1, L2, L3, L4, L5, L6, L7,L8 | 15 |
| (4) | Total system piping length | (Total main) + (Tatal branch) | 100 |
| (5) | Maxium Level in – out | h1 | 30 |
| (6) | Maxium Level in – in | h2 | 10 |
Installation
- This unit may be installed suspended from the ceiling or mounted on the wall.
- This unit may only be installed horizontally , as shown in the diagram below.(Side B is facing up) However, it may be freely installed in any direction forward or back, and to the sides.
- Be sure to leave a 600mm square opening for service and inspection as shown in the diagram below, for both ceiling – suspended installation and wall-mounted installation.
- This unit “does not require drain treatment” as it uses internal foam treatment as low-pressure piping insulation.
- Service direction is the side B and C
- The piping for the indoor unit may be led around in direction A
- The inclination of side B must be within ±5°C degrees forward or back or to the sides.

Installation of The Main Unit
NOTICE
- This unit has two different installation types:
(1) Ceiling-suspended type and (2) wall-mounted type. - Choose the proper installation pattern according to the location of installation.
- The installation location for printed wiring board can be changed.
Follow the procedure specified in the “CONNECTING THE WIRING” section to change the location.
(1) Ceiling-suspended type
(2) Wall-mounted type
(1) Ceiling-suspended type
(2) Wall-mounted type
Procedure
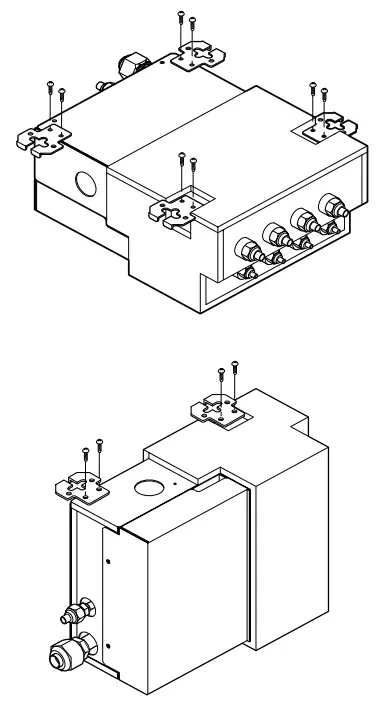
- Fix the fumished hanger metal with two screws.(4 locations in total).
- Using an insert-hole-in- anchor, hang the hanging bolt.
- Install a hexagon nut and a flat washer (locally-procured)to the hanging bolt as shown in the figure in the left, and ift the main unit to hang on the hanger metal.
- After checking with a level that the unit is level, tighten the hexagon nut.
* The tilt of the unit should be within ±5° in front/back and left/right.
Procedure
- Fix the fumished hanger metal with two screws.
(3 locations in total). - After checking with a level that the unit is level, fix the unit with the furnished wood screws.
* The tilt of the unit should be within ±5° in front/back and left/right.
* Block up the parts of hanger holes (2 places) by using insulation PE after installing the hanger.
CAUTIONS
- Once a screw-hole on the main unit has had a screw hammered in, make sure to either hammer it again or cover it with alumium tape.(This is to prevent condensation)
- Be sure to install the unit with the ceiling-sie up.
- Do not install near bedrooms. the sound of refrigerant flowing through the piping may sometimes be audible.
Connection of Piping
- When connecting indoor units, make sure to connect refrigerant pipes and connection wires to the appropriate connection ports maked with matching alphabets. (A, B, C, D):
NOTICE
- Be sure to mark all the local refrigerant piping(liquid DCB A pipes, gas pipes, etc.) for each indoor unit designating clearly which room it belongs in.(A, B, C, D):
For flaring work the piping, follow the instructions in the installation manual to each unit.
NOTICE
Connecting the pipings to the indoor unit and drain hose to drain pipe
- Align the center of the pipings and sufficiently tighten the flare nut by hand.
Outside diameter Torque mm inch kg•m Ø 6.35 1/4 2. Ø9.52 3/8 4. Ø12.7 1/2 6. Ø15.88 5/8 7. Ø19.05 3/4 7. - Tighten the flare nut with a wrench.
Wrap the insulation material around the connecting portion.
- Overlap the connection pipe insulation material and the indoor unit pipe insulation material. Bind them together with vinyl tape so that there is no gap.
- Wrap the area which accommodates the rear piping housing section with vinyl tape.
Close up a socket for unoccupied room with a brass cap.
- Align the center of the piping and sufficiently tighten the brass cap by hand.
- Tighten the brass cap with a wrench.
- Wrap the joint part with insulation.
CAUTIONS
- Never use the plastic cap for sealing.
- Make sure to use brass cap with the end of pipe sealed or welded tightly.

Connection of Wiring
- Connect refrigerant pipes and connection wires to the appropriate ports maked with matching alphabets (A, B and C) on this unit.
- Follow the instructions on the wiring nameplate to connect the connection wires of indoor/outdoor units to terminal board numbers.(1, 2 and 3) Always fix each ground wire separately with a ground screw.(See the figure below.)
- After completing the wiring, fix the outer coating of wires securely with wire clamps. The wire clamp on indoor unit side is furnished. Follow the procedure below to install.
- Refer to the circuit diagram on the control cover inside outdoor unit.
NOTICE:
The terminal board numbers are arranged from top to bottom in order of 1, 2 and 3.
In Case of 3 rooms
Warning
Do not use tapped wires, stand wires, extensioncords, or starbust connections, as they may cause overtheating, electrical shock, or fire.
(1) Remove the control cover. Loosen the two screws, and slide the cover in the direction of the arrow.
(2) Perform wiring with reference the wiring diagram on a control cover of outdoor unit. Allow 300 mm for the pulling-out section of harness. Fix the wires completely with wire clamps(4 locations).
(3) Put in the cover in the direction of the arrow then tighten the screws.










(Nut: ø15.88, Socket: ø12.7)




















