
GRW Professional
12 E | 18-2 E

Original instructions
![]()

Safety instructions
General Power Tool Safety Warnings
WARNING
Read all safety warnings, instructions, illustrations and specifications provided with this power tool. Failure to follow all instructions listed below may result in electric shock, fire and/ or serious injury.
Save all warnings and instructions for future reference.
The term “power tool” in the warnings refers to your mainsoperated (corded) power tool or battery-operated (cordless) power tool.
Work area safety
- Keep work area clean and well lit. Cluttered or dark areas invite accidents.
- Do not operate power tools in explosive atmospheres, such as in the presence of flammable liquids, gases or dust. Power tools create sparks which may ignite the dust or fumes.
- Keep children and bystanders away while operating a power tool. Distractions can cause you to lose control.
Electrical safety
- Power tool plugs must match the outlet. Never modify the plug in any way. Do not use any adapter plugs with earthed (grounded) power tools. Unmodified plugs and matching outlets will reduce risk of electric shock.
- Avoid body contact with earthed or grounded surfaces, such as pipes, radiators, ranges, and refrigerators. There is an increased risk of electric shock if your
body is earthed or grounded. - Do not expose power tools to rain or wet conditions. Water entering a power tool will increase the risk of electric shock.
- Do not abuse the cord. Never use the cord for carrying, pulling, or unplugging the power tool. Keep cord away from heat, oil, sharp edges or moving parts. Damaged or entangled cords increase the risk of electric shock.
- When operating a power tool outdoors, use an extension cord suitable for outdoor use. Use of a cord suitable for outdoor use reduces the risk of electric shock.
- If operating a power tool in a damp location is unavoidable, use a residual current device (RCD) protected supply. Use of an RCD reduces the risk of electric shock. Personal safety
- Stay alert, watch what you are doing and use common sense when operating a power tool. Do not use a power tool while you are tired or under the influence of drugs, alcohol or medication. A moment of inattention while operating power tools may result in serious personal injury.
- Use personal protective equipment. Always wear eye protection. Protective equipment such as a dust mask, non-skid safety shoes, hard hat, or hearing protection used for appropriate conditions will reduce personal injuries.
- Prevent unintentional starting. Ensure the switch is in the off-position before connecting to power source and/or battery pack, picking up or carrying the tool. Carrying power tools with your finger on the switch or energising power tools that have the switch on invites accidents.
- Remove any adjusting key or wrench before turning the power tool on. A wrench or a key left attached to a rotating part of the power tool may result in personal injury.
- Do not overreach. Keep proper footing and balance at all times. This enables better control of the power tool in unexpected situations.
- Dress properly. Do not wear loose clothing or jewellery. Keep your hair and clothing away from moving parts. Loose clothes, jewellery or long hair can be caught in moving parts.
- If devices are provided for the connection of dust extraction and collection facilities, ensure these are connected and properly used. Use of dust collection can reduce dust-related hazards.
- Do not let familiarity gained from frequent use of tools allow you to become complacent and ignore tool safety principles. A careless action can cause severe injury within a fraction of a second. Power tool use and care
- Do not force the power tool. Use the correct power tool for your application. The correct power tool will do the job better and safer at the rate for which it was designed.
- Do not use the power tool if the switch does not turn it on and off. Any power tool that cannot be controlled with the switch is dangerous and must be repaired.
- Disconnect the plug from the power source and/or remove the battery pack, if detachable, from the power tool before making any adjustments, changing accessories, or storing power tools. Such preventive safety measures reduce the risk of starting the power tool accidentally.
- Store idle power tools out of the reach of children and do not allow persons unfamiliar with the power tool or these instructions to operate the power tool. Power tools are dangerous in the hands of untrained users.
- Maintain power tools and accessories. Check for misalignment or binding of moving parts, breakage of parts and any other condition that may affect the power tool’s operation. If damaged, have the power tool repaired before use. Many accidents are caused by poorly maintained power tools.
- Keep cutting tools sharp and clean. Properly maintained cutting tools with sharp cutting edges are less likely to bind and are easier to control.
- Use the power tool, accessories and tool bits etc. in accordance with these instructions, taking into account the working conditions and the work to be
performed. Use of the power tool for operations different from those intended could result in a hazardous situation. - Keep handles and grasping surfaces dry, clean and free from oil and grease. Slippery handles and grasping surfaces do not allow for safe handling and control of the tool in unexpected situations. Service
- Have your power tool serviced by a qualified repair person using only identical replacement parts. This will ensure that the safety of the power tool is maintained.
Mixer safety instructions
- Hold the tool with both hands at the intended handles. Loss of control can cause personal injury.
- Ensure sufficient ventilation when mixing flammable materials to avoid a hazardous atmosphere. Developing vapour may be inhaled or be ignited by the sparks
the power tool produces. - Do not mix food. Power tools and their accessories are not designed for processing food.
- Keep the cord away from the working area. The cord may be entangled by the mixer basket.
- Ensure that the mixing container is placed in a firm and secure position. A container that is not properly secured may move unexpectedly.
- Ensure that no liquid splashes against the housing of the power tool. Liquid that has penetrated the power tool can cause damage and lead to electric shock.
- Follow the instructions and warnings for the material to be mixed. Material to be mixed may be harmful.
- If the power tool falls into the material to be mixed, unplug the tool immediately and have the power tool checked by a qualified repair person. Reaching into the bucket with the tool still plugged in can lead to electric shock.
- Do not reach into the mixing container with your hands or insert any other objects into it while mixing. Contact with the mixer basket may lead to serious personal injury.
- Start up and run down the tool in the mixing container only. The mixer basket may bend or spin in an uncontrolled manner.
- Do not use on explosive materials (e.g highly flammable solvents). Power tools produce sparks which can ignite fumes.
- Follow the instructions and warnings in the safety data sheets (SDS) of the mixing material. The mixing material may be harmful.
- Do not use the power tool when it is connected to a stand. Bench-mounted operation of the power tool is not permitted.
Products sold in GB only:
Your product is fitted with an BS 1363/A approved electric plug with internal fuse (ASTA approved to BS 1362). If the plug is not suitable for your socket outlets, it should be cut off and an appropriate plug fitted in its place by an authorised customer service agent. The replacement plug should have the same fuse rating as the original plug. The severed plug must be disposed of to avoid a possible shock hazard and should never be inserted into a mains socket elsewhere.
Product Description and Specifications
Read all the safety and general instructions.
Failure to observe the safety and general instructions may result in electric shock, fire and/or serious injury. Please observe the illustrations at the beginning of this operating manual.
Intended use
The power tool is suitable for stirring construction materials in powder form, such as mortar, plaster, adhesives and paints and varnishes which do not contain solvents, as well as similar substances.
Product features
The numbering of the product features refers to the diagram of the power tool on the graphics page.
- Gear selector switch (GRW 18-2 E)
- Lock-off function for on/off switch
- On/off switch
- Drive spindle
- Stirrer paddle a)
- Handle (insulated gripping surface)
a) Accessories shown or described are not included with the product as standard. You can find the complete selection of accessories in our accessories range.
Technical Data
| Stirring mechanism | GRW 12 E | GRW 18-2 E | |
| Article number | 3 601 AA7 0.. | 3 601 AA8 0.. | |
| Rated power input | W | 1200 | 1600 |
| Power output | W | 780 | 1170 |
| Mechanical gear selection | – | ● | |
| No-load speed | |||
| – 1st gear | min-¹ | 0–1000 | 0–450 |
| – 2nd gear | min-¹ | – | 0–1050 |
| Rated speed | |||
| – 1st gear | min-¹ | 0–620 | 0–250 |
| – 2nd gear | min-¹ | 0–580 | |
| Rated torque | |||
| – 1st gear | Nm | 12 | 45 |
| – 2nd gear | Nm | – | 19 |
| Tool holder | M14 | M14 | |
| Maximum stirrer paddle diameter | mm | 140 | 180 |
| Weight according to EPTA-Procedure 01:2014 | kg | 5.3 | 7,2 |
| Protection class | |||
The specifications apply to a rated voltage [U] of 230 V. These specifications may vary at different voltages and in country-specific models.
Noise/vibration information
| GRW 12 E | GRW 18-2 E | ||
| Noise emission values determined according to EN 62841-2-10. Typically, the A-weighted noise level of the power tool is | |||
| Sound pressure level Sound power level Uncertainty K | dB(A) dB(A) dB | 91 102 3 | 91 102 3 |
| Wear hearing protection! | |||
| Vibration total values ah (triax vector sum) and uncertainty K determined according to EN 62841-2-10: | |||
| ah | m/s² | 3 | 3.5 |
| K | m/s² | 1.5 | 1.5 |
The vibration level and noise emission value given in these instructions have been measured in accordance with a standardised measuring procedure and may be used to compare power tools. They may also be used for a preliminary estimation of vibration and noise emissions. The stated vibration level and noise emission value represent the main applications of the power tool. However, if the power tool is used for other applications, with different application tools or is poorly maintained, the vibration level and noise emission value may differ. This may significantly increase the vibration and noise emissions over the total working period. To estimate vibration and noise emissions accurately, the times when the tool is switched off or when it is running but not actually being used should also be aken into account. This may significantly reduce vibration and noise emissions over the total working period. Implement additional safety measures to protect the operator from the effects of vibration, such as servicing the power tool and application tools, keeping their hands warm, and organising workflows correctly.
Assembly
- Pull the plug out of the socket before carrying out any work on the power tool.
Changing the Tool
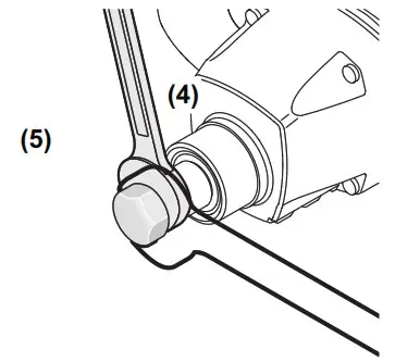
Stirrer paddle with M14 male thread

Screw the stirrer paddle (5) into the drive spindle (4). To do this, hold the drive spindle (4) using an open-ended spanner (GRW12 E: Width across flats 22 mm, GRW18-2 E: Width across flats 24 mm) and use a second open-ended spanner (width across flats 22 mm or 24 mm) to tighten the stirrer paddle (5). The stirrer paddle is disassembled in reverse order.
Operation
Starting Operation
- Products that are only sold in AUS and NZ: Use a residual current device (RCD) with a nominal residual current of 30 mA or less.
- Pay attention to the mains voltage. The voltage of the power source must match the voltage specified on the rating plate of the power tool. Power tools marked
with 230 V can also be operated with 220 V.
Dusts, e. g. mineral dusts, can be harmful to health. Touching or breathing in this dust can trigger allergic reactions and/or cause respiratory illnesses in the user or in people in the near vicinity. Materials containing asbestos may only be machined by specialists.
- Provide good ventilation at the workplace.
- It is advisable to wear a P2 filter class breathing mask.
The regulations on the material being machined that apply in the country of use must be observed.
Mechanical gear selection (GRW 18-2 E)
- Operate the gear selector switch only when the power tool is not in use.
Press in the gear selector switch (1) and slide it until it locks. You can preselect two speed ranges with the gear selector switch (1).
First gear:
Low speed range; when working with stirrer paddles with diameters up to 180 mm.

Second gear:
High speed range; when working with stirrer paddles with diameters up to 140 mm.

If the gear selector switch (1) cannot be slid all the way when the power tool is not in use, turn the drive spindle slightly with the stirrer paddle. S
witching on/off
To start the power tool, first press the lock-off button (2), then press the on/off switch (3) and keep it pressed.
Note: For safety reasons, the on/off switch (3) cannot be locked; it must remain pressed during the entire operation. To switch off the power tool, release the on/off switch (3).
Adjusting the Speed
You can adjust the speed of the power tool when it is on by pressing in the on/off switch (3) to varying extents. Slight pressure on the on/off switch (3) results in a low rotational speed. Increased pressure on the switch causes an increase in speed.
Work instructions for stirring
- Do not use the power tool when it is connected to a stand. Bench-mounted operation of the power tool is not permitted.
- Avoid splashing the material. Otherwise you could slip and lose control of the power tool.
- Avoid continuously operating the power tool at reduced speed. Otherwise the motor of the power tool could overheat.
Selection of the stirrer paddle is dependent on the material that is to be stirred. For materials with low viscosity, e.g. emulsion paint, varnishes, adhesive, grouting compound or cement slurry, use a stirrer paddle with a left-hand spiral. The material is moved from the top downwards in a stirrer paddle with a left-hand spiral. The stirrer paddle is pushed upwards. Materials with low viscosity are mixed in a way which minimises splattering. For materials with high viscosity, e.g. ready-mixed plaster, concrete, cement, screed, filler or epoxy resin, use a stirrer paddle with right-hand spiral. The material is moved from the bottom upwards in a stirrer paddle with a right-hand spiral. The stirrer paddle works its way into the mixture. Materials with high viscosity are mixed thoroughly. Move the power tool up and down when working. Clean the stirrer paddle after use.
- Store the power tool in a safe place. Ensure that it cannot fall over. The power tool may become amaged if this happens.
Maintenance and Service
Maintenance and Cleaning
- Pull the plug out of the socket before carrying out any work on the power tool.
- To ensure safe and efficient operation, always keep the power tool and the ventilation slots clean.
In order to avoid safety hazards, if the power supply cord needs to be replaced, this must be done by Bosch or by an after-sales service centre that is authorised to repair Bosch power tools.
After-Sales Service and Application Service
Our after-sales service responds to your questions concerning maintenance and repair of your product as well as spare parts. You can find explosion drawings and information on spare parts at: www.bosch-pt.com
The Bosch product use advice team will be happy to help you with any questions about our products and their accessories.
In all correspondence and spare parts orders, please always include the 10‑digit article number given on the nameplate of the product.
Great Britain
Robert Bosch Ltd. (B.S.C.) P.O. Box 98
Broadwater Park North Orbital Road
Denham Uxbridge UB 9 5HJ
At www.bosch-pt.co.uk you can order spare parts or arrange the collection of a product in need of servicing or repair.
Tel. Service: (0344) 7360109
E-Mail: [email protected]
You can find further service addresses at:
www.bosch-pt.com/serviceaddresses
Disposal
The power tool, accessories and packaging should be recycled in an environmentally friendly manner.
Do not dispose of power tools along with household waste.
Only for EU countries:
According to the European Directive 2012/19/EU on Waste Electrical and Electronic Equipment and its implementation into national law, power tools that are no longer usable must be collected separately and disposed of in an environmentally friendly manner.
Only for United Kingdom:
According to Waste Electrical and Electronic Equipment Regulations 2013 (2013/3113), power tools that are no longer usable must be collected separately and disposed of in an environmentally friendly manner.
EU Declaration of Conformity
We declare under our sole responsibility that the stated products comply with all applicable provisions of the directives and regulations listed below and are in conformity with the following standards. Technical file at: *
Stirring mechanism Article number
| GRW 12 E GRW 18-2 E | 3 601 AA7 0.. 3 601 AA8 0.. | EN 62841-1:2015 EN 62841-2-10:2017 EN 55014-1:2017+A11:2020 EN 55014-2:2015 EN IEC 61000-3-2:2019 EN 61000-3-3:2013+A1:2019 EN IEC 63000:2018 | |
![]() | * Robert Bosch Power Tools GmbH (PT/ECS) 70538 Stuttgart GERMANY | ||
| Henk Becker Chairman of Executive Management | Helmut Heinzelmann Head of Product Certification | ||
![]() | ![]() | ||
| Robert Bosch Power Tools GmbH, 70538 Stuttgart, GERMANY Stuttgart, 16.07.2020 | |||
Declaration of Conformity
| Stirring mechanism GRW 12 E | Article number 3 601 AA7 060 3 601 AA7 070 |
We declare under our sole responsibility that the stated products comply with all applicable provisions of the regulations listed below and are in conformity with the following standards. Technical file at: Robert Bosch Ltd. (PT/SOP-GB), Broadwater Park, North Orbital Road, Uxbridge UB9 5HJ, United Kingdom
The Supply of Machinery (Safety) Regulations 2008
The Electromagnetic Compatibility Regulations 2016
The Restriction of the Use of Certain Hazardous Substances in
Electrical and Electronic Equipment Regulations 2012
EN 62841-1:2015
EN 62841-2-10:2017
EN 55014-1:2017+A11:2020
EN 55014-2:2015
EN IEC 61000-3-2:2019
EN 61000-3-3:2013+A1:2019
EN IEC 63000:2018
![]() | Robert Bosch Power Tools GmbH, 70538 Stuttgart, Germany represented (in terms of the above regulations) by Robert Bosch Limited, Broadwater Park, North Orbital Road, Uxbridge UB9 5HJ, United Kingdom |
| Vonjy Rajakoba Managing Director – Bosch UK | Martin Sibley Head of Sales Operations and Aftersales |
![]() | ![]() |
| Robert Bosch Ltd. Broadwater Park, North Orbital Road, Uxbridge UB9 5HJ, United Kingdom, as authorised representative acting on behalf of Robert Bosch Power Tools GmbH, 70538 Stuttgart, Germany | |
Robert Bosch Power Tools GmbH
70538 Stuttgart
GERMANY
www.bosch-pt.com
1 609 92A 6SN (2021.07) PS / 471
1 609 92A 6SN
Place of issue: Uxbridge Date of issue: 03/06/2021
Bosch Power Tools
1 609 92A 6R7 | (29.06.2021)
References
My Blog
Početna strana | Bosch u Srbiji
Skånevik Ølen Kraftlag AS
ЕлектроінÑтрументи Bosch | Bosch Professional
ÐлектроинÑтрументы Bosch | Bosch Professional
Bosch Power Tools | Bosch Power Tools
Select your country | Bosch Power Tools
Електроинструменти на Bosch | Електроинструменти на Bosch
Service worldwide
Bosch Elektrowerkzeuge und Zubehör | Bosch Elektrowerkzeuge
Bosch-sähkötyökalut | Bosch-sähkötyökalut
Outillage électroportatif Bosch | Outillage électroportatif Bosch
Bosch elektromos kéziszerszámok | Bosch elektromos kéziszerszámok
Elektronarzędzia Bosch | Elektronarzędzia Bosch
Scule electrice Bosch | Scule electrice Bosch
Bosch električni alati | Bosch električni alati
bosch-pt.ru
Elektrické náradie Bosch | Elektrické náradie Bosch
Invented for life | Bosch Global
Ana Sayfa | Bosch Türkiye
Početna | Bosch u Hrvatskoj
Domov | Bosch v Sloveniji
Loading...























