BLAUPUNKT GC601 Electric Charcol Grill

OVERVIEW
| No. | Description | Quantity |
| 1 | Grill cover handle | |
| 2 | Grill cover handle base | |
| 3 | Grill cover | |
| 4 | Adjustable vents | |
| 5 | Termometr | |
| 6 | Top hinge | |
| 7 | Top grate | |
| 8 | Iron grate | |
| 9 | Bottom hinge | |
| 10 | Fireplace cover: back | |
| 11 | Fireplace cover: right | |
| 12 | Fireplace tray | |
| 13 | Fireplace cover: left | |
| 14 | Fireplace cover: front | |
| 15 | Fireplace tray lifting handle | |
| 16 | Fireplace door |
| N, | Opis | Quantity |
| 17 | Fireplace door blockade | |
| 18 | Fireplace door handle base | |
| 19 | Fireplace door handle | |
| 20 | Side handle base | |
| 21 | Side handle | |
| 22 | Bottle opener | |
| 23 | Ashtray | |
| 24 | Ashtray handle | |
| 25 | Front leg, left | |
| 26 | Back leg, left | |
| 27 | Shelf | |
| 28 | Back leg, right | |
| 29 | Front leg, right | |
| 30 | Wheel axis | |
| 31 | Wheel | |
| 32 | Side shelf |
INSTALLATION
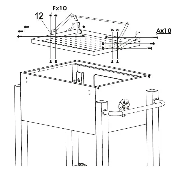
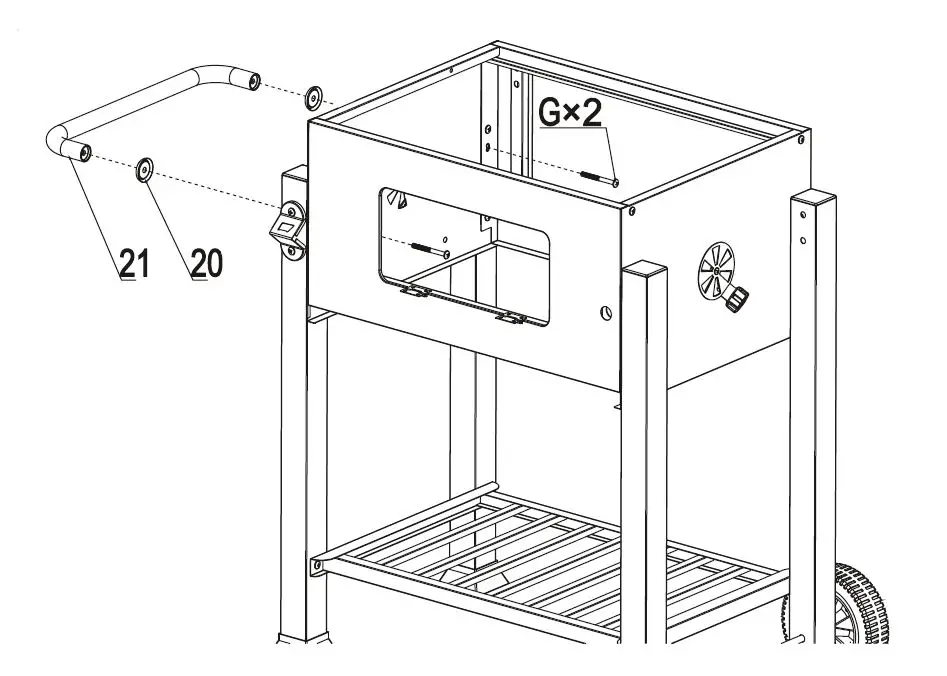
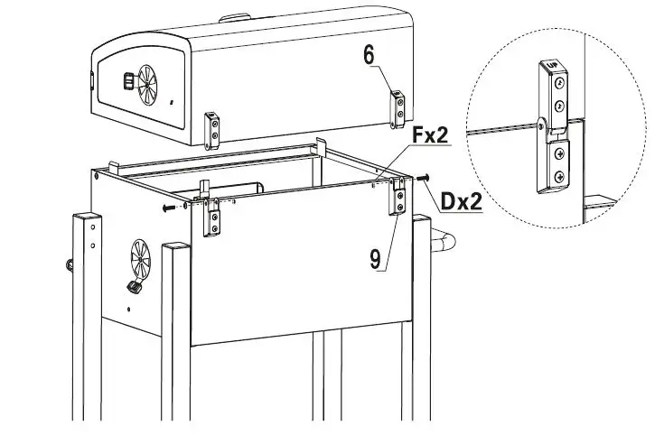
STEP1
STEP2
STEP3
STEP4
STEP5
STEP6
STEP7
STEP8
STEP9
STEP10
STEP11
STEP12
STEP13
STEP14
STEP15
STEP16
STEP17
STEP18
WARNINGS AND SAFETY INSTRUCTIONS
- Failure to follow the warnings and cautions may result in death or serious injury, fire or explosion, and property damage. Please read all the safety instructions in this manual. Keep this manual for future reference.

- Do not use indoors! The grill is intended for outdoor use only. If the grill is used indoors, such as buildings, tents, caravans, boats, there is a risk of death. Toxic vapors build up that can cause carbon monoxide poisoning or death.
- Only use the grill outdoors in a well-ventilated area. do not use the grill under a roof, under combustible structures. Do not use the grill in buildings, covered walkways, garages or other enclosed and partially enclosed places.
- Do not use the grill near flammable materials. Do not use the grill near dry grasses or in places where grilling is prohibited. Make sure you keep the distance from wood, wooden boards, wooden terrace, porches and verandas.
- Place the grill on a stable and even surface that is resistant to high temperatures. Do not place the grill near aisles or where it may obstruct movement.
- Before fire up the grill, make sure it has been properly placed and all its parts are assembled.
- Use only briquette as fuel. Use only firelighters complying to EN 1860-3 (BS-EN 1860-3: 2003 / A 1: 2006) to light the grill. Do not use gasoline, spirit or other similar substances to light the grill. After using the firelighters, keep the unused fire lighters away from the grill.
- Always place the briquette on the top of the lower grate. Do not put charcoal directly on the bottom of the grill compartment. Do not apply more briquettes than the recommended amount.
- Be especially careful when using the grill. The grill becomes hot when grilling and the parts become very hot. The grill when burning, should never be left unattended.
- WARNING: Children and pets should not be in the immediate vicinity of the grill. Do not leave children and pets unattended.
- Do not use the grill in windy weather.
- It is recommended to use protective gloves and tongs to operate the grill.
- Avoid wearing clothes with loose sleeves when lighting and operating the grill. Pay attention to loose items of clothing that may fall towards the glowing coals and catch fire.
- The grill is heating up. Do not touch the hot grill and also do not move the grill while it is heated (in operation) or immediately after finished grilling. Please wait until it cools down.
- CAUTION: never touch the grates, ash, charcoals and grill when they are hot.
- Before cleaning the grill and removing the ash, make sure all the charcoal has burned out and the grill has cooled down. Do not remove the ash until the charcoal has burnt out.
- Do not throw away hot charcoals or ashes where there is a risk of fire or walking in the area. Do not tread on hot charcoals or ashes.
- Water should not be used to control the flame or to extinguish charcoals. If water comes in contact with the hot parts of the grill, it may damage the protective coating of the grill.
- To control the flame or extinguish charcoals, use the regulation of air inflow through vents.
- When the grill is in storage, it should not be exposed to adverse weather conditions such as rain, full sun, significant moisture, etc.
Technical data
- Maximum amount of charcoals: 2.0kg
- Maximum load on the grate: 2.2kg
USING THE CHARCOAL GRILL
Before grilling for the first time, it is recommended to heat the coals to red hot and leave them for half an hour with the lid closed.
Take the grill apart as shown in the diagram. Place the bottom grate. Pour the charcoals onto the lower grate. Place the firelighter between the briquette pieces, or pour the liquid lighter over the briquette. Please make sure that the firelighter is non-toxic and odorless and does not leave an aroma). Use firelighters complying to EN 1860-3 (BS-EN 1860-3: 2003 I A 1: 2006).
Set fire to grill. Wait until all charcoals are covered with ash. Spread the charcoals evenly with the tongs. Place the baking rack as shown in the diagram.
Put the food on the grilling rack. Cover with a lid. Regulate the intensity of burning by changing the air supply through the vents. Wait for the time needed to prepare the dish. Remove the cover to the side, do not lift it up. After the appropriate time, turn the food over with tongs. Be especially careful due to the high temperature of the grill, grill elements and food.
CLEANING AND MAINTENANCE
Make sure the coals have burnt out and the grill has completely cooled down. Remove the ash from the grill. Wash the grill with a mild detergent and water. Rinse well and wipe dry. Clean the grilling rack with a bristle brush.
Competence Center
2N-Everpol Sp. z o.o.
ul. Pulawska 403A
02-801 Warsaw, Poland
phone: +48 22 331 99 59
e-mail: [email protected]
www.blaupunkt.com
In case of questions or problems please contact our service. Tel. 0048 22 3319954
E-mail: [email protected]





















