FR127C-U1H Haiku L 52 Inch Indoor White Ceiling Fan
Instruction Manual
FR127C-U1H/FR150C-U1H/FR127C-U1J
FR150C-U1J/FR112C-U1H
READ AND SAVE THESE INSTRUCTIONS
BEFORE YOU START
☑ Turn off Power at Breaker
Input Voltage: 100–240 VAC, 1 Φ, 50/60 Hz
Watts: FR127C-U1H: 39 W max. | FR150C-U1H: 55 W max. | FR127C-U1J: 33 W max. | FR150C-U1J: 34 W max. FR112C-U1H: 36 W max.
Do not connect the fan to a damaged power source. Do not attempt to resolve electrical failures on your own. Contact a licensed electrician if you are uncomfortable performing electrical work. A licensed electrician must install the fan if required by local code.
WARNING: Installation must be in accordance with the requirements set forth by the National Electrical Code (NEC, United States), ANSI/NFPA 70, and all national and local codes.
The ground wire must be connected to the supply ground and its length must be longer than the safety cable.
A means for disconnection must be incorporated in the fixed wiring in accordance with the wiring rules.
The mounting/fixing means for attachment to the ceiling such as hooks or other devices shall be fixed with sufficient strength to withstand four times the weight of the ceiling fan.
☑ Gather Tools
Models and Maximum Weight:
FR127C-U1H (13.89 lb [6.3 kg]), FR150C-U1H (14.33 lb [6.5 kg]), FR127C-U1J (13.45 lb [6.1 kg]), FR150C-U1J (13.89 lb [6.3 kg]), FR112C-U1H (13.45 lb [6.1 kg])
PARTS AND HARDWARE

Wiring and safety cable not shown.
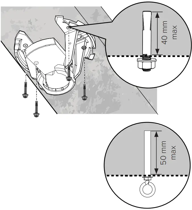
Install Mounting Bracket
Outlet Box
WARNING: Mount only to an outlet box marked acceptable for fan support.
Secure mounting bracket to outlet box with suitable hardware (not supplied).
Concrete Ceiling
Route power wiring to fan location. Use mounting bracket as drilling template and drill four holes.
Attach the mounting bracket to the ceiling using four M6 anchor bolts*. If required by local code, install an M6 anchor hook* for the safety cable.

* If anchor bolts and anchor hook are included with your fan, use them for concrete mounting.
Wood Ceiling Joist
Route power wiring to fan location. Attach the mounting bracket to the joist using two wood screws (not supplied).
Recommended: Corrosion-resistant 12-11 x 45 mm hex head timber screws with seal. If required by local code, mount or embed an outlet box into the joist. The outlet box must be suitable for fan support.
Wire Fan
Disconnect power before wiring the fan.
Connect wires from the mounting bracket to supply power wires. Carefully tuck wiring into the outlet box or building structure so that only the wiring harness is hanging out. Ensure wire connectors are turned upward and that wires are spread apart with grounded conductors on one side of the outlet box/mounting structure and ungrounded conductors on the other side.

Supply Power Wire Color Chart
| North America 100–120 V | Australia | All other regions | |
| AC Hot/L1 | Black | Brown or Red | Brown |
| AC Neutral/L2 | White | Black or Light Blue | Blue |
| PE/Earth Ground | Green or Bare Copper | Green with Yellow | Green with Yellow |
Install Airfoils and Motor Cover
Align each airfoil on the fan hub and secure it with airfoil screws. Make sure the sticker on the airfoil matches the corresponding sticker on the fan hub. Tighten screws to 2.5 N·m (22.1 in·lb). Secure motor cover to the motor unit with motor cover screws.

Over-tightening screws may cause airfoils to warp and void your warranty.
Install Extension Tube and Motor Cover Trim

Install Wiring Cover and Mounting Ball
5.1. Slide wiring cover down extension tube.
Slide mounting ball overextension tube.
5.2. Insert a steel pin into the hole at top of the extension tube. Slide mounting ball upward, seating steel pin in inner slots of the ball.
5.3. Insert wedge into mounting ball and secure with the screw. Tighten the screw enough to prevent movement between the mounting ball and the extension tube.
Install Control Box and Hang Fan
6.1. Insert the control box into the mounting bracket.
6.2. Raise the fan to the mounting bracket. Align rib in mounting bracket with a slot in mounting ball, position mounting ball, and let fan hang freely. Gently twist the extension tube to ensure it is properly seated and will not move during fan operation.
Connect Wiring Harnesses and Earth/Ground Wire
7.1. Connect wiring harnesses from the extension tube (2) to wiring harnesses on the back of the control box (2). Secure green Earth/Ground wire from the extension tube to the mounting bracket with a ground screw.
7.2. Connect the wiring harness from the ceiling to the wiring harness in front of the control box. Peel backing off the double-sided tape on the mounting bracket and affix the ferrite core to the tape.
Secure Safety Cable
Some local safety codes require ceiling fans to be secured directly to the building structure (Canada, Singapore). Check your local safety code if you are unsure. Contact Customer Service for help.
Anchor Hook
Wrap the upper end of the safety cable around the anchor hook. Secure with shackle.
Building Structure
Wrap the upper end of the safety cable around the building structure. Secure with shackle. Acceptable building structures include a wooden beam or a metal mounting brace secured between two beams. In some cases, it may be necessary to install additional structural material to provide attachment points.
Secure Wiring Cover
Slide wiring cover up extension tube, aligning yellow arrow stickers so that top of wiring cover sits flush with mounting bracket. Make sure all wiring is tucked into wiring cover, and then twist the wiring cover clockwise to lock.
Use only with light kits marked “Suitable for Use in Wet Locations.”
Use only light kit models TM3191-001 and TM3191-003. Light Kit Weight: 0.64 lb (290 g)
REMOTE CONTROL
Do not expose the remote control to rain or water.
| Turns the fan on or off. | |
| Turns the light on or off. | |
| Increases fan speed/light brightness. | |
![]() | Decreases fan speed/light brightness. |
| Sets fan timer length of up to eight hours. Each press extends the timer by one hour. | |
| Clears active fan timer. | |
| Varies fan speed to simulate a natural breeze. | |
| Automatically adjusts your fan speed overnight to keep you comfortable while you sleep. |
ANNUAL MAINTENANCE
Perform these procedures each year to keep your fan running smoothly.
☑ Safety Cable. Check safety cable is properly installed and secure.
☑ Hardware. Make sure all hardware is securely fastened.
☑ Wiring. Check power wiring and ground connections.
☑ Cleaning. Dust the airfoils and wipe clean with a damp cloth and ordinary soap and water.
For operation, maintenance, and troubleshooting information, visit bigassfans.com/support
CONTACT US
United States
2348 Innovation Drive
Lexington, KY 40511
USA
877-244-3267
Outside the U.S. (+1 859-233-1271)
bigassfans.com
All Other Geographies
+1 859-410-6286
bigassfans.com


Haiku is a trademark of Delta T LLC, registered in the U.S. and/or other countries. The information contained in this document is subject to change without notice.
For the most up-to-date information, see the online printable installation guide at www.bigassfans.com/support/haiku-l
www.bigassfans.com/patents
www.bigassfans.com/product-warranties.
© 2019 DELTA T LLC Ι ALL RIGHTS RESERVED.
HKU-INST-242-MUL-01
REV. L 06/23/2021
References
Big Ass Fans - Comfort Solutions For Your Home or Business
Big Ass Fans Australia - Comfort Solutions For Your Home or Business
Comfort Solutions For Your Home or Business
Big Ass Fans - Comfort Solutions For Your Home or Business
Support - Big Ass Fans®
Home | CEBSA
Patents - Big Ass Fans®
Product Warranties - Big Ass Fans®
Haiku L Support - Big Ass Fans®




















