ASSEMBLY INSTRUCTION
MODEL NUMBER : 712

WARRANTY:
We stand behind our products & service with confidence! If parts damaged or missing please feel free to contact us for a FREE REPLACEMENT.
We warranty this product to be free from defects in materials.This warranty covers one year from the date of original purchase.
NOTES:
- The item is only intended to be used indoors. The product must be assembled and used in accordance with the provisions of the manual.
- It is recommended that assembly is undertaken by about 2 adults. Please read assembly instructions before assembly and strictly adhere to each step outlined. Estimated assembly time is 30 minutes.
WARNING
- WARNING FOR YOUNG CHILDREN – This product contains small components, please ensure that they are kept away from small children while assembling.
1. PARTS LIST
| A | B | C | D | E |
1PCS | 1PCS | 2PCS | 1PCS | 1PCS |
| F | G | H | I | J |
1PCS | 2PCS | 2PCS | 3PCS | 5PCS |
| K | L | Z | a | b |
1PCS | ![]() 3PCS | ![]() 2PCS | ¼*85 4PCS | ¼*50 4PCS |
| c | d | e | f | g |
| ¼*28 6PCS | ¼*19 12PCS | ![]() ¼ 4PCS | ¼ 6PCS | ![]() ¼ 1PCS |
| h | i | |||
![]() 1PCS | 1PCS |
IMPORTANT:
Please check parts list before you start to assembly. If parts damaged or missing.Contact your seller for a FREE REPLACEMENT. Please provide your order number,a brief message about the issue,and your shipping address. Thank you!
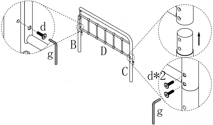
2. NOTE: PLEASE DO NOT TIGHTEN THE BOLTS UNTIL ALL FIXED
| 1
| 2
|
| 3
| 4
|
| 5
| 6
|
| 7
| 8
|
IMPORTANT:Please completely tighten all the bolts and nuts.
After-sales support email: [email protected]
1PCS
1PCS
1PCS
2PCS
2PCS
3PCS
5PCS
1PCS





























