AMERICAN SANDERS Super 7R 230V Electric Floor Sander Edger

Operator Safety Instructions
In this Operation Manual, you will find three statements that you must read and observe to ensure the safe operation of this machine.
- DANGER means: Severe bodily injury or death can occur to you or other personnel if the DANGER statements found on this machine or in this Operation Manual are ignored or are not adhered to. Read and observe all DANGER statements found in this Operation Manual and on your machine. BInjury can occur to you or to other personnel if the WARNING statements found on your machine or in the Operation Manual are ignored or are not adhered to. Read and observe all WARNING statements found in this Operation Manual and on your machine.
- CAUTION means: Damage can occur to the machine or to other property if the CAUTION statements found on your machine or in this Operation Manual are ignored or are not adhered to. Read and observe all CAUTION statements found in this Operation Manual and on your machine.
- DANGER: Failure to read the Owner’s Manual prior to operating or servicing your American Sanders machine could result in injury to you or to other personnel; damage to the machine or to other property could occur as well. You must have training in the operation of this machine before using it. If you or your operator(s) cannot read English, have this manual explained fully before attempting to operate this machine?
- DANGER: A. Sanding/finishing wood floors can create an explosive or combustible environment. Do not operate this machine around solvents, thinners, alcohol, fuels, floor finishes, wood dust, or any other flammable materials. Cigarette lighters, pilot lights, electrical sparks, and all other sources of ignition should be extinguished or avoided. Keep the work area well-ventilated. B. Dust generated from sanding wood floors can spontaneously ignite or explode. Promptly dispose of any sanding dust in a metal container clear of any combustibles. Do not dispose in a fire.
- DANGER: A. Electrocution could occur if the machine is being serviced while the machine is connected to a power source. Disconnect the power supply before servicing.
B. Electrocution or fire could occur if the machine is being operated with a damaged power cord. Keep the power cord clear of the pad. Always lift the cord over the machine. Do not move the machine by the power cord. C. Shock hazard. Do not use the machine if it has been rained on or sprayed with water. - DANGER: To avoid injury keep hands, feet, and loose clothing away from all moving parts on the machine. Disconnect the power cord before replacing the pad, changing the abrasive, or when servicing. Do not operate the machine unless all guards are in place. Never leave the machine unattended while connected to a power source.
- WARNING: Injury can occur if protective clothing or equipment is not used while sanding. Always wear safety goggles, protective clothing, and a dust mask while sanding.
- WARNING: This sander is not to be used on pressure-treated wood. Some pressure-treated woods contain arsenic and sanding pressure-treated wood produces hazardous dust. Inhaling hazardous dust from pressure-treated wood can cause serious injury or death. Sanding pressure-treated wood decks or uneven surfaces can damage the sander which is not covered under warranty or damage waiver.
- WARNING: Any alterations or modifications of this machine could result in damage to the machine or injury to the operator or other bystanders. Alterations or modifications not authorized by the manufacturer void any and all warranties and liabilities.
- WARNING: Risk of explosion. Floor sanding can result in an explosive mixture of fine dust and air. Use a floor sanding machine only in a well-ventilated area free from any flame or match.
A SPECIAL WARNING ABOUT BAG FIRES
Dust generated from sanding raw or previously finished wood floors CAN SPONTANEOUSLY IGNITE OR EXPLODE! The sanding machine’s DUST CONTAINMENT BAG MUST BE EMPTIED FREQUENTLY and before any work stoppage. NEVER STORE SANDING DUST IN OR AROUND STRUCTURES OR OTHER COMBUSTIBLE MATERIALS. Promptly dispose of any sanding dust outside in accordance with local regulations. Do not dispose in a fire.
General Power Tool Safety Warnings
WARNING: Read all safety warnings and instructions. Failure to follow warnings and instructions may result in electric shock, fire and or serious injury.
Save all warnings and instructions for future use. The term “power tool” in the warnings refers to your main-operated (corded) power tool or battery operated (cordless) power tool.
- Work area safety
- Keep the work area clean and well-lit. Clutter or dark areas invite accidents.
- Do not operate power tools in explosive atmospheres, such as in the presence of flammable liquids, gases, or dust. Power tools create sparks which may ignite the dust or fumes.
- Keep children and bystanders away while operating a power tool. Distractions can cause you to lose control.
- Electrical safety
- Power tool plugs must match the outlet. Never modify the plug in any way. Do not use any adapter plugs with earthed (grounded) power tools. Unmodified plugs and matching outlets will reduce risk of electric shock.
- Avoid body contact with earthed or grounded surfaces such as pipes, radiators, ranges, and refrigerators. There is an increased risk of electric shock if your body is earthed or grounded.
- Do not expose power tools to rain or wet conditions. Water entering a power tool will increase the risk of electric shock.
- Do not abuse the cord. Never use the cord for carrying, pulling, or unplugging the power tool. Keep the cord away from heat, oil, sharp edges or moving parts. Damaged or entangled cords increase the risk of electric shock.
- When operating a power tool outdoors, use an extension cord suitable for outdoor use. The use of a cord suitable for outdoor use reduces the risk of electric shock.
- If operating a power tool in a damp location is unavoidable, use a residual current device (RCD) or ground fault circuit interrupter (GFCI ) protected supply. Use of an RCD or GFCI reduces the risk of electric shock.
- Personal safety
- Stay alert, watch what you are doing, and use common sense when operating a power tool. Do not use a power tool while you are tired or under the influence of drugs, alcohol, or medication. A moment of inattention while operating power tools may result in serious personal injury.
- Use personal protective equipment. Always wear eye protection. Protective equipment such as dust masks, non-skid safety shoes, hard hats, or hearing protection used for appropriate conditions will reduce personal injury.
- Prevent unintentional starting. Ensure the switch is in off-position before connecting to the power source and/or battery pack, picking up, or carrying the tool. Carrying power tools with your finger on the switch or energizing power tools that have the switch on invites accidents.
- Remove any adjustment wrench or key before turning the power tool on. A wrench or key left attached to a rotating part of the power tool may result in personal injury.
- Do not overreach. Keep proper footing and balance at all times. This enables better control of the power tool in unexpected situations.
- Dress properly. Do not wear loose clothing or jewelry. Keep your hair, clothing, and gloves away from moving parts. Loose clothes, jewelry, or long hair can be caught in moving parts.
- If devices are provided for the connection of dust extraction and collection facilities, ensure these are connected and properly used. The use of dust collection can reduce dust-related hazards. It is recommended that the tool always be supplied via a residual current device with a rated residual current of 30mA or less.
- Power tool use and care
- Do not force the power tool. Use the correct power tool for your application. The correct power tool will do the job better and safer at the rate for which it was designed.
- Do not use the power tool if the switch does not turn it on and off. Any power tool that cannot be controlled with the switch is dangerous and must be repaired.
- Disconnect the plug from the power source and/or the battery pack from the power tool before making any adjustments, changing accessories or storing power tools. Such preventative safety measures reduce the risk of starting the power tool accidentally.
- Store idle power tools out of the reach of children and do not allow persons unfamiliar with the power tool or these instructions to operate the power tool. Power tools are dangerous in the hands of untrained users.
- Maintain power tools. Check for misalignment or binding of moving parts, breakage of parts, and any other condition that may affect the power tool’s operation. If damaged, have the power tool repaired before use? Many accidents are caused by poorly maintained power tools.
- Keep cutting tools sharp and clean. Properly maintained cutting tools with sharp cutting edges are less likely to bind and are easier to control
- Use the power tool, accessories, and tool bits, etc. in accordance with these instructions, taking into account the working conditions and the work to be performed. Use of the power tool for operations different from those intended could result in a hazardous situation.
- Service
- Have the power tool serviced by a qualified repair person using only identical replacement parts. This will ensure that the safety of the power tool is maintained. If the supply cord is damaged, it must be replaced by the manufacturer, its service agent, or similarly qualified persons in order to avoid a hazard.
Safety Warnings for Sanding Operations
- This power tool is intended to function as a sander. Read all safety warnings, instructions and specifications provided with this power tool. Failure to follow all instructions listed below may result in electric shock, fire, or personal injury.
- Operations such as grinding, wire brushing, polishing or cutting-off, are not recommended to be performed with this power tool. Operations
for which the tool was not designed may create a hazard and cause personal injury. - Do not use accessories which are not specifically designed and recommended by the tool manufacturer. Just because the accessory can be attached to your power tool, it does not assure safe operation.
- The rated speed of the accessory must be at least equal to the maximum speed marked on the power tool. Accessories running faster than their rated speed can break and fly apart.
- The outside diameter and thickness of your accessory must be within the capacity rating of your power tool. Incorrectly sized accessories cannot be adequately guarded or controlled.
- The arbor size of wheels, flanges, backing pads or any other accessory must fit the spindle of the power tool. Accessories with arbor holes that do not match the mounting hardware of the power tool will run out of balance, vibrate excessively and may cause loss of control.
- Do not use damaged accessory. Before each use inspect the accessory such as abrasive wheel for chips or cracks, backing pad for cracks, tear or excess wear, wire brush for loose or cracked wires. If power tool or accessory is dropped, inspect for damage or install an undamaged accessory. After inspecting or installing an accessory, position yourself or bystanders away from the plane of
the rotating accessory and run the power tool at maximum no-load speed for one minute. Damaged accessories will normally break apart during this time. - Wear personal protective equipment. Depending on the application, use a face shield, safety goggles, or safety glasses. As appropriate, wear a dust mask, hearing protectors, gloves and a workshop apron capable of stopping flying debris generated by various operations. The eye protection must be capable of stopping flying debris generated by various operations. The dust mask or respirator must be capable of filtering particles generated by your operations. Prolonged exposure to high intensity noise may cause hearing loss.
- Keep bystanders a safe distance away from work area. Anyone entering the work area must wear personal protective equipment. Fragments of work piece or a broken accessory mayfly away and cause injury beyond immediate area of operation.
- Hold power tool by gripping insulated surfaces
(handle) only, when performing an operation where the cutting accessory may contact hidden wiring or its own cord. Cutting accessory contacting a “live” wire may make exposed metal parts of the power tool “live” and shock the operator. - Position the cord clear of the spinning accessory. If you loose control, the cord may be cut or snagged and your arm or hand may be pulled into the spinning accessory.
- Never lay the power tool down until the accessory has come to a complete stop. The spinning accessory may grab the surface and pull the power tool out of your control.
- Do not run the power tool while carrying it at
your side. Accidental contact with the spinning accessory could snag your clothing, pulling the accessory into your body. - Regularly clean the power tools air vents. The motor’s fan will draw dust inside the housing and excessive accumulation may cause electrical hazards.
- Do not operate the power tool near flammable materials. Sparks could ignite these materials.
- Do not use excessively oversized sanding disc paper. Follow the manufacturer’s recommendations when selecting sanding paper. Larger sanding paper extending beyond the sanding pad presents a laceration hazard and may cause snagging, tearing of the disc or kickback.
- Risk of explosion. Floor sanding can result in an explosive mixture of fine dust and air. Use a floor sanding machine only in a well-ventilated area free from any flame or match.
Kickback is a sudden reaction to a pinched or snagged rotating wheel, backing pad, brush or any other accessory. Pinching or snagging causes rapid stalling of the rotating backing pad which in turn causes uncontrolled power tool to be forced in the opposite direction of the backing pad’s rotation at the point of the binding. For example, if an abrasive wheel is snagged or pinched by the work piece, the edge of the wheel that is entering into the pinch point can dig into the surface of the material causing the wheel to climb out or kick out. The wheel may either jump toward or away from the operator, depending on direction of the wheel’s movement at the point of pinching. Abrasive wheels may also break under these conditions. Kickback is the result of power tool misuse and incorrect operating procedures or conditions and can be avoided by taking proper precautions as given below.
- Maintain a firm grip on the power tool and position your body and arms to allow you to resist kickback forces. Always use auxiliary handles, if provided for maximum control over kickback or torque reactions during start up. The operator can control torque reactions or kickback forces, if proper precautions are taken.
- Never place your hand near the rotating accessory. Accessory may kickback over your hand.
- Do not position your body in the area where power tool will move if kickback occurs. Kickback will propel the tool in the direction opposite to the wheel’s movement at the point of the snagging.
- Use special care when working corners, sharp edges etc. Avoid bouncing and snagging the accessory. Corners, sharp edges or bouncing have a tendency to snag therotating accessory and cause loss of control or kickback.
Additional Rules For Safe Operation
- Empty the dust bag or dust collection receiver frequently. Do not leave residue in dust bag or dust collection receiver unattended. Always empty in a non-combustible metal container. Sanding wood or varnish produces dust that can self ignite and cause injury or damage. Follow this precaution for storage.
- Set all exposed nails. Sweep loose abrasive away from work area. Do not strike metal pipes, etc., with sanding paper. Striking metal or abrasive particles with sanding paper produces sparks that could ignite the sanding dust which can cause injury or damage.
- Do not operate a partially assemble power tool. Keep all adjustments within the manufacturer’s specifications. Keep all fasteners tight. Operating a partially assembled power tool could result in injury to the operator or bystander and could cause damage to the equipment or surroundings.
- Do not attempt to change the sanding paper while the power tool is running. The sanding pad can snag clothing and cause injury to limbs and moving sanding paper can cause abrasions.
- The power tool should only be used on an electrical system (mains) that is rated for the electrical requirements of the power tool as shown on the nameplate. Use only on an earthing (grounded) system. Do not service the power tool if it is energized or connected to an electrical circuit. Improper use could cause fire or electric shock.
Machine Components
Component
- Control Switch
- Dust Collection Bag
- Operating Handles
- Abrasive Wrench
- Sanding Pad
- Wall Guard
- Caster Adjustment Screw

Machine Specifications
| Model | Super 7R | Super 7R | Super 7R |
| Model Number | 07098A | 07099A | 07243A |
| Voltage / Frequency | 230V / 50Hz | 230V / 50Hz | 230V / 50Hz |
| Amperage (A) | 6 | 6 | 6 |
| Motor | 0.75 kW / 750 Watts | 0.75 kW / 750 Watts | 0.75 kW / 750 Watts |
| Abrasive Size | 7” X 7/8” Disc | 7” X 7/8” Disc | 7” X 7/8” Disc |
| Disc Rate | 2800 | 2800 | 2800 |
| Disc Driver System | Gear Driven | Gear Driven | Gear Driven |
| Power Cable | H05V/F3G 1.0mm sq X 15.4m | H05V/F3G 1.5mm sq X 15.4m | H05V/F3G 1.0mm sq X 15.4m |
| Cord Plug | AU1-10R | AU1-10R | CEE 7/7 or UK13 |
| Front Lamp | Not Applicable | Not Applicable | 230V LED |
| Dust Collection | Standard | Standard | Standard |
| Dust Control Rate | 110 CFM | 110 CFM | 110 CFM |
| Certification | AS / NZS | Not Applicable | CE / UKCA |
Safety Instructions
This floor-finishing machine shall be grounded while in use to protect the operator from electrical shock. The machine is provided with a three-conductor cord and a three-contact grounding attachment plug to fit the proper grounding-type receptacle. The green (or green and yellow) conductor in the cord is the grounding wire. Never connect this wire to other than the grounding pin of the attachment plug. This machine is for use on a nominal 230-volt circuit and has a grounding plug that resembles the plug illustrated in (A) in the sketch. Make sure that the machine is connected to an outlet having the same configuration as the plug. No adapter should be used with this machine.
Extension Cords (230V)
Use only an approved extension cord with two main conductors and one earthing conductor.
WARNING: If you use an extension cord, use an extension cord with a minimum wire size of 1.50 mm2. Do not use an extension cord longer than 15 meters. Do not join two extension cords.
WARNING: Do not cut, remove, or break the ground terminal. Do not try to fit a three-terminal plug into a receptacle or connector body that does not fit the plug. If the receptacle or connector body does not fit the plug, see your Authorized person to make the connection.
Electrical Connection Instructions (230V)
CAUTION: This machine will operate only on the AC frequency and electrical voltage shown on the nameplate. Make sure you have the correct frequency and voltage before connecting the power cord to an outlet. This machine must be connected to the electrical ground to the main conductors and one earthing conductor. Connect the plug to the type of receptacle shown. The green and yellow conductor cord is the ground wire. Never connect this wire to any terminal other than the ground terminal. 
WARNING: Always use this machine with an AC three-conductor electrical system connected to the electrical ground. Replace any worn, cut, or damaged cords. Replace any damaged plugs, receptacles, or connector bodies. Do not move the machine over an electrical cord. Always lift the cord over the machine.
Dust Collection
This sanding machine is designed to be operated with a remote vacuum dust collection system or with the included dust bag Preparing Remote Vacuum Dust Collection Systems To prepare the machine for remote vacuum dust collection systems that have a 2” hose end, follow this procedure:
- Install the 2” hose end (Figure 1 – A) directly into the exhaust tube (Figure 1 – B).
- The exhaust tube can be rotated for optimum convenience.
To prepare the machine for remote vacuum dust collection systems that have a 1-1/2” hose end, follow this procedure:
- Install the 2” hose end (Figure 1 – A) directly into the exhaust tube (Figure 1 – B).
- The exhaust tube can be rotated for optimum convenience.
NOTE: Start the remote vacuum collection system before operation. 
Preparing Using the Dust Bag
To prepare the machine for use with the included dust bag (Part No.53544B), follow this procedure:
- Install the dust bag by pressing the end onto the exhaust tube until the ring locks into the groove (Figure 2). This is best done by pressing on the back of the bag opening with the palm of your hand.
- The exhaust tube can be rotated for optimum convenience.
- To remove the dust bag from the exhaust tube, pry up the end of the bag opening to partially release the internal rib from the groove, then pull.
- To empty the dust bag, unzip the disposal flap and force the contents out by inverting the bag.
NOTE: For best results, empty frequently. Follow all warnings posted in this manual and on the dust bag. 
Machine Set-Up
Preparing the Machine for Operation
- Familiarize yourself with the machine. Read all danger, warning, and caution statements and the Owner’s Manual before operating this machine. If you or your operator cannot read English, have this manual explained fully before attempting to operate this machine.
- Remove screw and abrasive retainer. Center abrasive on pad and secure with abrasive retainer and screw.

- Return machine to upright position and tilt machine back on casters until it comes to rest on the exhaust bracket. Machine will be in a reclined position. Do not allow machine to rest on pad especially after use, or compression set may take place within elastomer on pad. This will create a flat spot and bounce during use.

Operating Instructions
- Move machine to the location of your work. Set any exposed nails with hammer and punch to avoid encounter with abrasive.
- WARNING: Bodily injury could occur if power is applied to the machine with the power switch already in the “ON” position. Always check to assure that the power switch is in the “OFF” position before applying power to the power cable.
- Make sure the control switch is in the “Off” position then connect the supply cable to an appropriately grounded fused circuit. Connect the supply cable to the motor pigtail.

- With the machine in the reclined position firmly grasp both handles and flip the control switch to the “ON” position. (Figure 4.)
- Gradually lower the pad to the surface intended for sanding. Make sure the machine is in motion while the pad is engaged with the surface to be sanded. You may use broad circular motion as you sand along the length of the surface or you may use a combination of forward and sidewards motions. In time you will develop your own technique to optimize coverage and dust recovery. It is advisable to not add effort to the pad as this may lead to “nosing in” or “tipping” which produces grooves or lines on the surface.
- When replacing the abrasive, emptying the contents of the dust bag, or sanding operation is completed, return machine to reclined position, flip control switch to “Off” then disconnect the motor pigtail from the supply cable.
- Empty dust bag whenever it becomes 1/3 full.
DANGER: Failure to disconnect the supply cable from the machine whenever servicing, replacing abrasive, or emptying the dust bag could result in electrocution or severe injury. Never leave machine unattended while the supply cable is connected.
DANGER: Never leave dust bag unattended with sanding dust in it. Sanding dust can spontaneously ignite and cause a fire or explosion. Empty dust bag into a metal container, clear of any combustibles. Do not empty content into a fire. Do not overfill the dust bag.
Adjustment Procedures
Leveling
To level machine: Grasp caster adjusting screw “A” with an appropriate tool (pliers etc.). Using a similar tool, loosen locknut “B” with a counterclockwise motion. 
Condition 1: Pad creates ridges on both edges or a “hop” is experienced. Rotate both adjusting screws equal amounts clockwise. Tighten locknut’s and test on a piece of plywood. Repeat procedure until condition is corrected. We recommend you not exceed 1/8” rotation for each attempt.
Condition 2: Pad creates a ridge on the tip of the pad. Rotate both adjusting screws counterclockwise, tighten locknuts and test. Repeat the procedure until the condition is corrected. Use only 1/8 rotation for each attempt.
Condition 3: Pad creates a ridge on only one side of the pad.Either rotate the adjusting screw of the side effected clockwise or rotate the adjusting screw opposite counterclockwise, depending on whether the ridge terminates beyond the tip of the pad or prior to it. If it is prior to the tip, adjust the side effected, otherwise adjust the opposite side.
Sanding Cuts & Sandpaper
Initial Cut:
The purpose of the initial cut is to remove old finish and gross imperfections on the floor surface. Use a course (20-36 grit) grain abrasive. If glazing, loading, or burning takes place immediately into an initial cut, select a coarser abrasive. If this should occur during an initial cut, the abrasive has dulled and must be replaced.
Final Cuts:
The purpose of a finishing cut is to remove the scratches produced during the initial cut. Use a fine (60-80 grit) grain abrasive. If the surface remains rough after a finishing cut, it may be necessary to use an even finer grain of abrasive (80-100grit). Care should be taken in selecting the grit size of the abrasive. A very fine grain will close the pores on a wood floor making admission of a stain difficult. If glazing or burning should occur the abrasive has dulled and must be replaced.
Routine Maintenance
CAUTION: Failure to perform maintenance at recommended intervals may void the warranty.
Carbon Brushes: Have the carbon brushes replaced at least every 500 hours and more frequently under heavy use.
Dust Bag: Periodically the dust bag should be turned inside out, shaken vigorously and machine washed in cold water to prevent pore blockage and loss of dust control.
Bearings: To insure reliable performance, have armature and pad driver bearings inspected for wear or damage after every 1500 hours. If used heavily, have the bearings replaced seasonally?
Lubrication: The machine comes fully lubricated. The gears in the gear box have enough lubrication for approximately six months of normal operation. Have the lubricant changed at least every 6 months or more frequently under heavy use.
Maintenance
CAUTION: Maintenance and repairs performed by unauthorized personnel could result in damage or injury. Maintenance and repairs performed by unauthorized personnel will void your warranty. Failure to perform maintenance at recommended intervals may void warranty.
Carbon Brushes
Inspect all four brushes every 6 months or 250 hours. Access to the brushes is gained through the front and back motor vent plugs and under both motor covers . Press tab (A) on the spring clip assembly in, rotate, then remove (Figure 8).Use needle-nose pliers to disconnect the shunt wire. If any brush has worn to 3/8” in length or shorter, replace the entire set. 
CAUTION: Use only motor brush PN 40818A or PN 40055A with shunt wire or motor failure will occur.
When replacing the brushes make sure that the brush seats against the commutator, the spring rest in the recess of the brush, and the brush is free to travel. When returning the switch cover, keep any wires clear of the commutator and any pinch site.
Gearbox Lubricant
To change the lubricant in the gearbox, follow this procedure:
- Put the machine upside down on a bench.
- Align one of the two holes in the rubber pad with one of the three holes in the rotating wall guard.
- Align both holes with one of the three screws in the gear housing cover. Remove the screw from the gear housing cover.

- Align the holes with each of the other two screws, then remove the screws.
- CAUTION: Make sure no dust enters the gearbox. Damage will occur to the gearbox.
- Remove the cover from the gear housing.
- Remove the old lubricant from the gearbox.
- Add six ounces of American Sanders Technology lubricant to the gearbox.
| Lubricants | |
| Quantity | Part Number |
| 1 Quart | 16610A |
| 1 Gallon | 16611A |
CAUTION: To prevent damage to the motor, do not add more than six ounces of lubricant to the gearbox.
- Using the three screws removed above, install the cover on the gear housing.
- Start the machine and let it run for 15 minutes. A small amount of excess lubricant should flow out the vent hole. If none appears it may be necessary to add additional lubricant.
- Wipe off excess lubricant and clear vent hole.
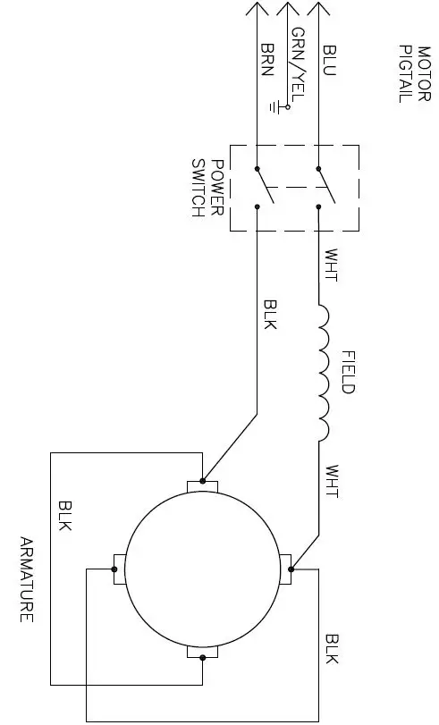
Electrical Schematic


Lower Assembly

| Item | Ref. No. | Description | Qty |
| 1 | 318303 | SPRING, LOAD, 76 | 1 |
| 2 | 307702 | SHAFT, DRIVE, GEAR | 1 |
| 3 | 915028 | KEY, 1/8 X 5/8, WDRF 5 | 1 |
| 4 | 87609A | WASHER, SEAL, 10,NEO- PRENE/STEEL | 3 |
| 5 | 317204 | DISC, GUARD, RETAINER | 1 |
| 6 | 21066A | DISC, SANDING, S-7R | 1 |
| 7 | 960125 | CLAMP, ABRASIVE, S-7R | 1 |
| 8 | 980603 | WASHER, LK 10 EXT TOOTH | 1 |
| 9 | 293406 | GASKET, EXHAUST, BRKT 95 | 1 |
| 10 | 962289 | SCREW, 1/4-20 X 3/4 SOCKET HD | 4 |
| 11 | 302101 | CLIP, STEEL | 1 |
| 12 | 962987 | SCREW, 10-24 X 3/8 PN ST TYP 23 | 1 |
| 13 | 987300 | WRENCH, PAPER CLAMP SCREW | 1 |
| 14 | 310803 | BRACKET, CASTER SUPPORT | 2 |
| 15 | 920670 | NUT, LOCK, ADJUST | 2 |
| 16 | 960130 | SCREW, SWIVEL, CASTER | 2 |
| 17 | 50740A | BEARING, BALL, 1/4 X 3/4, SHIELD | 4 |
| 18 | 298215 | COLLAR, SPACING | 2 |
| 19 | 85702A | SCR 1/4-20 X 1 3/4 HX ST CAP | 2 |
| 20 | 10212A | WHEEL & YOKE ASM. | 2 |
| 21 | 316804 | PLUG, PIPE, 77E17 | 1 |
| 22 | 56380216 | DECAL, POWER TOOL CAUTIONARY | 1 |
| 23 | 53544B | BAG, EDGER | 1 |
| Item | Ref. No. | Description | Qty |
| 24 | 303502 | GEAR, DRIVE | 1 |
| 25 | 302306 | COVER, GR HOUSING ASM. | 1 |
| 26 | 30563A | 2″ X 1.50″ HOSE ADAPTOR | 1 |
| 27 | 293616 | GUARD, DISC, S7A/R | 1 |
| 28 | 61564A | TUBE, EXHAUST, S-7 | 1 |
| 29 | 21077A | ADAPTOR, EXHAUST, SUPER-7 | 1 |
| 30 | 34232A | GASKET, GEAR CASE COVER | 1 |
| 31 | AS009900 | NUT-SLIP JOINT 2X2, LOCK (07098A & 07243A) | 1 |
| 80276A | NUT-SLIP JOINT 2X2 (07099A) | 1 | |
| 32 | 962109 | SCREW, 10-24 X 5/8, PN, SS | 4 |
| 33 | 30613A | SEAL, PIPE, S-7 & B-2 EDGERS | 2 |
| 34 | 902550 | BEARING, BALL, 6203 | 2 |
| 35 | L067304 | RING, RETAINING, R042 | 1 |
| 36 | 962974 | SCREW, 6-32 X 1/2, FH, ST, PH | 4 |
| 37 | 84808A | SCREW, 10-24 X 3/4, RD, SZ, PH | 3 |
| 38 | 980088 | WASHER, 94, BE7 | 2 |
| 39 | NB072400 | SCREW, SET, 1/4-20 X 3/16″ (07098A & 07243A) | 1 |
| [ ] | AS035800 | CASE, EDGER, S7-B2 | 1 |
| * | 30666A | WHEEL & YOKE URETHANE EDGERS | 1 |
| * | 10827A | EXHAUST CONVERSION KIT S-7R | 1 |
| * | 38728A | DISC CONV HOOK 6-7/8 10ea/BX | 1 |
| [ ] | 10827A | NOT SHOWN | |
| * | 10827A | OPTIONAL, NOT SHOWN |
Upper Assembly (07098A)

| Item | Ref. No. | Description | Qty |
| 1 | 902567 | BEARING BALL DOUBLE SEALED | 2 |
| 2 | 10110A | ARMATURE ASM SUPER 7R 240V 50 | 1 |
| 3 | 298306 | SPRING, LOAD, 56 | 1 |
| 4 | 962454 | SCREW, 1/4 – 20 X 1, SC ST CAP | 2 |
| 5 | 962988 | SCREW, 1/4-20 X 1-1/4, PN, ST, PH | 1 |
| 6 | 962727 | SCREW, 8-32 X 1/2 PN ST TP23 PH | 4 |
| 7 | 980643 | WASHER, 7/16 OD X .036 THK. | 2 |
| 8 | 962211 | SCREW, 10-24 X 2.5, RD P ST | 2 |
| 9 | 40055A | BRUSH, CARBON | 4 |
| 10 | 50932A | SPRING BRUSH HOLDER | 4 |
| 11 | 293403 | GASKET, EXHAUST FAN, BAFFLE | 1 |
| 12 | 962545 | SCREW, 6-32 X 3/8, FLAT HD | 4 |
| 13 | 980621 | WASHER, LOCK, EXTERNAL TOOTH | 1 |
| 14 | 962550 | SCREW, 8-32 X 5/16 | 1 |
| 15 | 407302 | RING, RETAINING | 1 |
| 16 | 297604 | OIL SEAL 92 | 1 |
| 17 | 73285A | LABEL, WARNING | 1 |
| 18 | AS014300 | NAMEPLATE, AMERICAN SANDERS, 3″ | 1 |
| 19 | 304204 | HOUSING, GEAR | 1 |
| 20 | 962404 | SCREW, 10-24 X 3-1/4, FH, ST, PH | 4 |
| 21 | AS013500 | FIELD & COIL, SUPER 7R, ASM., 240V | 1 |
| Item | Ref. No. | Description | Qty |
| 22 | 293514 | PINION, ARMETURE | 1 |
| 23 | 308202 | SPACER, BEARING | 1 |
| 24 | AS005100 | HOUSING AND GUARD | 1 |
| 25 | AS009800 | COVER AND HANDLE ASM., AUST. | 1 |
| 26 | AS008700 | COVER, MOTOR, BRUSH, SWITCH | 1 |
| 27 | AS008800 | COVER, MOTOR, BRUSH, LH, AUST. | 1 |
| 28 | AS007200 | RING, INSULATOR, BRUSH HOLDER | 1 |
| 29 | 962330 | SCREW 6-32 X 3/8 PAN HD | 4 |
| 30 | AS008100 | PLUG, VENT, PLATE | 2 |
| 31 | AS015000 | HOLDER, BRUSH, SUPER 7R, ASM., AUST. | 1 |
| 32 | AS014900 | NAMEPLATE, FRONT, SUPER 7R | 1 |
| 33 | AS035300 | CORD, SANDER, PIGTAIL, AUST. | 1 |
| 34 | AS035200 | CORDSET, 49 FEET, AUST. | 1 |
| 35 | AS081200 | STRAP, HOLDER, CORD, ASM. | 1 |
| 36 | NB9640 | SCREW, PAN HEAD, #10-32 UNF, X 3/4 | 1 |
| 37 | NB9735 | NUT, LOCK, 10-24, NYLON | 1 |
| 38 | 70175A | TAG WARNING ENG-SPN | 1 |
| 39 | AS020500 | SWITCH, ROCKER, HIGH INRUSH | 1 |
| 40 | AS033800 | COVER, ROCKER SWITCH | 1 |
| 41 | NB9645 | WASHER, FLAT, #10 | 1 |
Upper Assembly (07099A)

| Item | Ref. No. | Description | Qty |
| 1 | 902567 | BEARING BALL DOUBLE SEALED | 2 |
| 2 | 10110A | ARMATURE ASM SUPER 7R 240V 50 | 1 |
| 3 | 298306 | SPRING, LOAD 56 | 1 |
| 4 | 962454 | SCREW, 1/4 – 20 X 1, SC ST CAP | 2 |
| 5 | 962988 | SCREW, 1/4-20 X 1-1/4, PN, ST, PH | 1 |
| 6 | 962727 | SCREW, 8-32 X 1/2 PN ST TP23 PH | 4 |
| 7 | 980643 | WASHER, 7/16 OD X .036 THK. | 2 |
| 8 | 962211 | SCREW, 10-24 X 2.5, RD P ST | 2 |
| 9 | 40055A | BRUSH, CARBON | 4 |
| 10 | 50932A | SPRING BRUSH HOLDER | 4 |
| 11 | 293403 | GASKET, EXHAUST FAN, BAFFLE | 1 |
| 12 | 962545 | SCREW, 6-32 X 3/8, FLAT HD | 4 |
| 13 | 980621 | WASHER, LOCK, EXTERNAL TOOTH | 1 |
| 14 | 962550 | SCREW, 8-32 X 5/16 | 1 |
| 15 | 407302 | RING, RETAINING | 1 |
| 16 | 297604 | OIL SEAL 92 | 1 |
| 17 | AS014300 | NAMEPLATE, AMERICAN SANDERS, 3” | 1 |
| 18 | 306802 | PLUG, VENT | 2 |
| 19 | 304204 | HOUSING, GEAR | 1 |
| 20 | 962404 | SCREW, 10-24 X 3-1/4, FH, ST, PH | 4 |
| 21 | 47394A | SWITCH DPST 16A/125V SUPER | 1 |
| 22 | 70175A | TAG WARNING ENG-SPN | 1 |
| 23 | 42819A | FIELD & COIL ASM 240V | 1 |
| Item | Ref. No. | Description | Qty |
| 24 | 293514 | PINION, ARMETURE | 1 |
| 25 | 308202 | SPACER, BEARING | 1 |
| 26 | 73285A | LABEL, WARNING | 1 |
| 27 | 646302 | PLATE-SWITCH | 1 |
| 28 | 302312 | COVER & HANDLE ASM. POLISHED | 1 |
| 29 | 980662 | WASHER-SH 1224-00 LOCK | 1 |
| 30 | AS005100 | HOUSING AND GUARD ASM., ETL, CAST | 1 |
| 31 | 40130A | HOLDER ASM. BRUSH | 1 |
| 32 | 302310 | COVER MOTOR BRUSH R H | 1 |
| 33 | 302309 | COVER MOTOR BRUSH L H | 1 |
| 34 | AS020800 | CORD, POWER SUPPLY, SANDER, 1.5MM, AUST. | 1 |
| 35 | AS014900 | NAMEPLATE, FRONT, SUPER 7R | 1 |
| 36 | AS020700 | CORD, PIGTAIL, SANDER, 1.5MM, AUST. | 1 |
UPPER ASSEMBLY 07243A

| Item | Ref. No. | Description | Qty |
| 1 | 902567 | BEARING BALL DOUBLE SEALED | 2 |
| 2 | 10110A | ARMATURE ASM SUPER 7R 240V 50 | 1 |
| 3 | 298306 | SPRING, LOAD, 56 | 1 |
| 4 | 962454 | SCREW, 1/4 – 20 X 1, SC ST CAP | 2 |
| 5 | 962988 | SCREW, 1/4-20 X 1-1/4, PN, ST, PH | 1 |
| 6 | 962727 | SCREW, 8-32 X 1/2 PN ST TP23 PH | 4 |
| 7 | 980643 | WASHER, 7/16 OD X .036 THK. | 2 |
| 8 | 962211 | SCREW, 10-24 X 2.5, RD P ST | 2 |
| 9 | 40055A | BRUSH, CARBON | 4 |
| 10 | 50932A | SPRING BRUSH HOLDER | 4 |
| 11 | 293403 | GASKET, EXHAUST FAN, BAFFLE | 1 |
| 12 | 962545 | SCREW, 6-32 X 3/8, FLAT HD | 4 |
| 13 | 980621 | WASHER, LOCK, EXTERNAL TOOTH | 1 |
| 14 | 962550 | SCREW, 8-32 X 5/16 | 1 |
| 15 | 407302 | RING, RETAINING | 1 |
| 16 | 297604 | OIL SEAL 92 | 1 |
| 17 | 73285A | LABEL, WARNING | 1 |
| 18 | AS014300 | NAMEPLATE, AMERICAN SANDERS, 3″ | 1 |
| 19 | 304204 | HOUSING, GEAR | 1 |
| 20 | 962404 | SCREW, 10-24 X 3-1/4, FH, ST, PH | 4 |
| 21 | AS013500 | FIELD & COIL, SUPER 7R, ASM., 240V | 1 |
| 22 | 293514 | PINION, ARMATURE | 1 |
| 23 | 308202 | SPACER, BEARING | 1 |
| 24 | AS005100 | HOUSING AND GUARD ASM., ETL, CAST | 1 |
| Item | Ref. No. | Description | Qty |
| 25 | AS009800 | COVER AND HANDLE ASM., AUST. | 1 |
| 26 | AS005200 | COVER, MOTOR, BRUSH, SWITCH | 1 |
| 27 | AS008800 | COVER, MOTOR, BRUSH, LH, AUST. | 1 |
| 28 | AS007200 | RING, INSULATOR, BRUSH HOLDER | 1 |
| 29 | 962330 | SCREW 6-32 X 3/8 PAN HD | 4 |
| 30 | AS008100 | PLUG, VENT, PLATE | 2 |
| 31 | AS015000 | HOLDER, BRUSH, SUPER 7R, ASM., AUST. | 1 |
| 32 | 962310 | SCREW, 10-24 X 1/2 | 1 |
| 33 | AS091800 | CORD, PIGTAIL, HANDLE, IEC CE | 1 |
| 34 | NB9735 | NUT, LOCK, 10-24, NYLON | 1 |
| 35 | 70175A | TAG WARNING ENG-SPN | 1 |
| 36 | MP488800 | SWITCH, ROCKER, DPST, 20A | 1 |
| 37 | AS086800 | SPACER, SWITCH | 1 |
| 38 | AS081200 | STRAP, HOLDER, CORD, ASM. | 1 |
| 39 | NB9640 | SCREW, PAN HEAD, #10-32 UNF, X 3/4 | 1 |
| 40 | NB9645 | WASHER, FLAT, #10 | 1 |
| 41 | 70175A-FR | TAG WARNING ENG-FRN | 1 |
| 42 | AS099700 | SOCKET, LIGHT, BAYONET, ASM. | 1 |
| 43 | 85393A | SCREW, 10-24 X 1/4, PN SZ PH | 1 |
| 44 | 980603 | WASHER, LK 10 EXT TOOTH | 1 |
| 45 | AS037500 | LAMP, 230V, LED, DC, BAYONET | 1 |
| * | OPTIONAL, NOT SHOWN | ||
| * | MP513000 | CORD, POWER SUPPLY, CE, RED | 1 |
| * | MP539500 | CORD, UK13, C19 | 1 |
EC Declaration of Conformity
EC DECLARATION OF CONFORMITY according to EC Machinery Directive 2006/42/EC We, Amano Pioneer Eclipse Corp. (1 Eclipse Road, PO Box 909, Sparta NC28675, USA) with authorized EU representative (see info under section importer) declares under our sole responsibility that the following described equipment in our delivered version complies with the appropriate basic safety and health requirements of the above-mentioned Directives based on its design and type, as brought into circulation by us. In case of alteration of the machine, is not agreed upon by us, this declaration will lose its validity.
Applicable EC Directives:
- Electromagnetic Compatibility Directive 2014/30/EU of 26 February 2014
- Low Voltage Directive 2014/35/EU of 26 February 2014
- Machinery Directive 2006/42/EC + Amending Directive 95/16/EC of 17 May 2006
- Restriction of the use of certain hazardous substances in electrical and electronic equipment Directive 2011/65/EU of 8 June 2011
Applicable Harmonized Standards: EN 60335-1:2010 + Corr.1:2010 + Corr.2:2011 + A1:2013 + Corr.1:2014
- EN 60335-2-72: 2012, EN 62233:2008, EN 55014-1:2006 + A1:2009 + A2:2011 EN 55014-2:1997 + A1:2001 + A2:2008, EN 61000-3-2:2014
- EN 61000-3-3: 2013, EN 50581:2012,
- Type of Equipment: Commercial Wood Floor Sander
- Model Number(s): 07243A
- Description(s): SUPER7R 230V 50HZ
- Serial Number:
- Year in which CE marking was affixed: 2021
- Place: Sparta
- Date:
- Importer’s Name:
- Importer’s Address:
- Signature:
- Name:
- Position:
- Date:
- Name and Signature:
Limited Warranty
Super 7R 230V
TO QUALIFY FOR THIS WARRANTY
- The machine must be registered within 30 days from the time of purchase on a form provided by American Sanders. Your American Sanders Distributor is responsible for the registration of your machine. Please cooperate with your Distributor in supplying the necessary information on the card.
- The machine must have been purchased from American Sanders or an authorized American Sanders Distributor.
- This warranty extends to the original purchaser only and is not transferable to subsequent owners.
TIME PERIODS
ONE (1) YEAR WARRANTY – For the Super 7R. Warranted to be free from defects in material and workmanship for a period of one (1) year from the date of purchase by the original owners. (See Exclusions)
EXCLUSIONS (Not Covered by Warranty)
- Expendable wear items and parts that fail through normal wear by reason of their characteristics (cords, pads, grip face, wheels, isolators, filters, bags, or other consumable parts).
- This warranty does not extend to parts affected by misuse, neglect, abuse, accidents, damage in transit, overloading
the capacity of the machine, or failure due to lack of proper maintenance or care as described in the operating and maintenance instructions. All defective parts must be returned to the distributor for credit. - Minor adjustments, such as tightening of screws or bolts not connected with the replacement of parts, are not covered.
- Repairs or alterations by an organization other than the factory or an Authorized Service Center are not covered and will void any American Sanders warranty as to the parts or systems repaired or altered by a non-authorized organization.
THE OBLIGATION OF AMERICAN SANDERS
- The obligation of American Sanders under this warranty is limited to repairing or replacing, at its option, any part which is proven to be defective in material or workmanship under normal use for the applicable period stated above.
- Warranty repairs will be made by your American Sanders Distributor without charge for parts and labor. They will be compensated with a warranty labor rate of $75.00 per hour, for the first year of ownership.
- Parts repaired or replaced under this warranty are warranted only during the balance of the original warranty period. All defective parts replaced under these warranties become the property of American Sanders.
WARRANTY SERVICE
To obtain warranty service, take your machine and proof of purchase to any authorized American Sander Distributor. American Sanders will not reimburse expenses for service calls or travel. For the Distributor in your area, call American Sanders Customer Service Department at +1-336-372-8080, Monday through Friday, between the hours of 8:00am and 5:00 pm US Eastern Standard Time. If you are dissatisfied with the service that you receive, call or write American Sanders Customer Service Department for further assistance.
INSTRUCTIONS AND CONDITIONS FOR WARRANTY REIMBURSEMENT
- Order replacement part: Orders will be processed and charged, as normal procedure.
- Call American Sanders for the R/A number.
- You will need the Machine Serial Number and the Machine Model Number.
- Parts must be returned, accompanied by the R/A number to be eligible for warranty credit.
- All Warranty Parts will be shipped prepaid UPS Ground, any other method will be at the recipient’s expense.
- Freight on any Warranty Part after 30 days must be paid for by the Purchaser.
- The warranty labor rate is $75.00 USD per hour.
- Credit will be issued upon completion of the above steps, at the above rates.
Transportation of hazardous waste or contaminated equipment is subject to various laws and regulations. In returning machines, parts, or accessories under this limited warranty, the end user must certify in writing that the machines, parts, or accessories being returned have not been used for handling, clean up, or disposal of hazardous waste or hazardous materials including but not limited to such things as asbestos, anthrax etc. or if the machines, parts, or accessories being returned have been used for handling, clean up, or disposal of hazardous waste or hazardous materials, then the end user must have the machines, parts or accessories decontaminated by licensed and qualified decontamination professionals and provide written certification of this decontamination signed by the decontamination professionals. These machines, parts or accessories are to be returned only to the local American Sanders Service Center for warranty service along with decontamination certification.
DISCLAIMER OF CONSEQUENTIAL
THERE ARE NO WARRANTIES THAT EXTEND BEYOND THE DESCRIPTION OF THE LIMITED WARRANTIES STATED WITHIN. NO OTHER WARRANTY, EXPRESSED OR IMPLIED, INCLUDING BUT NOT LIMITED TO ANY IMPLIED WARRANTY OF MERCHANTABILITY OR FITNESS FOR A PARTICULAR PURPOSE, IS MADE EXCEPT AS EXPRESSLY STATED HEREIN. ANY STATUTORY IMPLIED WARRANTIES, INCLUDING ANY WARRANTY OF MERCHANTABILITY OR FITNESS FOR A PARTICULAR PURPOSE, THAT ARE IMPOSED BY LAW DESPITE THE EXPRESS LIMITATION OR WARRANTIES ABOVE, ARE EXPRESSLY LIMITED TO THE DURATION OF THE WRITTEN WARRANTY. BUYER UNDERSTANDS, ACKNOWLEDGES, AND AGREES THAT THE REMEDIES PROVIDED UNDER THIS LIMITED WARRANTY ARE THE SOLE AND EXCLUSIVE REMEDIES AVAILABLE TO THE BUYER. AMERICAN SANDERS DISCLAIMS ANY RESPONSIBILITY FOR THE LOSS OF USER TIME OF THE AMERICAN SANDERS MACHINE OR ANY OTHER INCIDENTAL OR CONSEQUENTIAL DAMAGES. THIS INCLUDES BUT IS NOT LIMITED TO INDIRECT, SPECIAL, OR CONSEQUENTIAL DAMAGES ARISING OUT OF OR IN CONNECTION WITH THE FURNISHING, PERFORMANCE, USE OF, OR INABILITY TO USE THE MACHINE. ANY EXTENSIONS OF OR MODIFICATIONS MADE TO THIS WARRANTY BY A DEALER/DISTRIBUTOR OF AMERICAN SANDERS ARE THE SOLE RESPONSIBILITY OF THE DEALER/DISTRIBUTOR.
American Sanders reserves the right to change its warranty policy without notice. Copyright 2022 American Sanders
READ THIS BOOK
This book has important information for the use and safe operation of this machine. Failure to read this book prior to operating or attempting any service or maintenance procedure to your American Sanders machine could result in injury to you or to other personnel; damage to the machine or to other property could occur as well. You must have training in the operation of this machine before using it. If your operator(s) cannot read this manual, have it explained fully before attempting to operate this machine.
All directions given in this book are as seen from the operator’s position at the rear of the machine. This product is intended for commercial use only.
American Sanders
- an AMANO Company
- 1 Eclipse Rd l PO Box 909
- Sparta, North Carolina 28675 l USA www.pioneereclipse.com.
- www.americansanders.com.
- +1-336-372-8080
- 1-800-367-3550
- Fax 1-336-372-2913
- LT074500
- Super 7R 230V_G 042222
© 2022 American Sanders























