NORDIC HOME AC-511 Portable AC

Product Information
The product is AC-511, which is a device that requires compliance with national gas regulations. The product can be controlled by either the control panel or the remote control. The energy classification of the device is not mentioned. The device can be installed on the wall using tools such as screwdrivers, rulers, and knives. The device has a timer setting, sleep mode, and automatic restart feature. The device has an air filter that needs to be cleaned and maintained regularly.
Product Usage Instructions
- Comply with national gas regulations while using the product.
- Control the device using the control panel or remote control.
- Install the device on the wall using screwdrivers, rulers, and knives.
- Set the timer for turning on and off the device.
- Use the sleep mode feature for energy efficiency.
- In case of an unexpected power outage, the device will automatically restart in the last mode used.
- Clean and maintain the air filter regularly.
Safety instructions
Warning
- Read this manual carefully before installing or using the product. Make sure you save this manual for future reference.
- Installation must be performed according to the installation instructions. Improper installation can cause water leakage, electrical shock, or fire.
- Use only the included accessories and parts, and specified tools for the installation. Using nonstan-dard parts can cause water leakage, electrical shock, fire, and personal injury or property damage.
- Make sure that the outlet you are using is grounded and has the appropriate voltage. The power cable is equipped with a three-pin grounding plug to protect against shock. Voltage information can be found on the label of the unit.
- The device must be used in a properly grounded wall outlet. If the wall outlet you intend to use is not properly grounded or protected by a time delay fuse or circuit breaker (the fuse or circuit breaker needed is determined by the maximum current of the device. The maximum current is indicated on the label on the device). Have an authorised electrician install a proper wall outlet.
- Install the device on flat, sturdy surface. Failure to do so could result in damage or unnecessary noise and vibrations.
- The device must be kept free from obstruction to ensure proper function and to reduce safety risks.
- Do not modify the length of the power cable or use an extension cable to power the device.
- Do not share a single wall outlet with other electrical appliances. Improper power supply can cause fire or electrical shock.
- Do not install the product in a wet room area such as a bathroom or laundry room. Too much expo-sure to water can cause electrical components to short circuit.
- Do not install the unit in a location that may be exposed to combustible gas, as this could cause fire.
- The unit has wheels to facilitate moving. Make sure not to use the wheels on thick carpet or to roll over objects, to prevent tipping the product over.
- If the product is knocked over during use, turn the device off and unplug it from the mains power supply immediately. Visually inspect the device to ensure there is no damage.
If you suspect the device has been damaged, contact an authorised electrician or the retailer where you purchased the product for assistance. - Do not operate the product if it has been dropped or damaged.
- Do not touch the device with wet or damp hands or when you are barefoot.
- In a thunderstorm, disconnect the product from the mains to avoid damage to the machine due to lightning.
- the product should be used and placed in such a way that it is protected from moisture. E.g., condensation, splashing water, etc. Do not place or store the product where it can fall or be pulled into water or any other liquid. Unplug from mains immediately if it occurs.
- All wiring must be performed strictly in accordance with the wiring diagram located inside of the device.
- The circuit board (PCB) has a fuse to provide overcurrent protection. The specifications of the fuse are printed on the circuit board, such as: T 3.15A/250V, etc.
- When the water drainage is not in use, keep any hoses either firmly attached to the product or store them safely to reduce choking risks. Specially to protect children from choking risks.
- This product can be used by children aged from 8 years and above and persons with reduced physical, sensory, or mental capabilities or lack of experience and knowledge if they have been given supervision or instructions concerning the use of the product in a safe way and understand the hazards involved. Children shall not play with the product. Cleaning and user maintenance shall not be made by children without supervision.
- If the power cable is damaged, it must be replaced by an authorised electrician or the retailer to avoid hazards.
- Before cleaning or other maintenance, turn the product off and disconnect it from the mains.
- Do not remove any protective covers or the housing exterior. Never use this appliance if it is not working properly, or if it has been dropped or damaged.
- Do not run the power cable under the carpeting. Do not cover the power cable with throw rugs, cable runners, or similar coverings. Do not route the power cable under furniture or other appliances. Place the power cable away from trafficked areas to prevent the power cable from being tripped over.
- Do not operate unit with a damaged power cable, power plug, power fuse or circuit breaker. Dispose of the product or take it to a company specialized in electrical repairs for examination and/or repair.
- To reduce the risk of fire or electric shock, do not use this product with any dimmer type devices.
- The product shall be installed in accordance with national wiring regulations.
- Contact a specialist in air conditioners for repair or maintenance of this product.
- Contact a specialist in air conditioners or similar qualified person for help with installation of this product.
- Do not block the ventilation exhaust pipe.
- Do not cover or obstruct the inlet or outlet ventilation guards.
- Do not use this product for functions other than those described in this instruction manual.
- Disconnect from mains if the product makes strange sounds, smells, or smoke comes out of it.
- Do not press the buttons on the control panel with anything other than your fingers.
- Do not start or stop the device by inserting or pulling out the power plug.
- Do not use hazardous chemicals to clean or allow them to come into contact with the device. Do not use the product in the presence of inflammable substances or vapour such as alcohol, insecticides, petrol, etc.
- Always transport the product in a vertical position.
- Do not pull the cable when disconnecting from the mains, instead hold and pull the power plug firmly.
- Turn the product off when not in use.
Fluorinated gases
- Fluorinated gases are contained in hermetically sealed equipment. For information on the type, quantity and CO2 equivalent in tons of fluorinated greenhouse gas, please see the label.
- Installation, servicing, maintenance, and repair of this unit must be performed by a certified technician.
- The product must be removed and recycled by a certified technician.
WARNING for R290 refrigerant
- Do not use means to accelerate the defrosting process or to clean, other than those recommended by the manu-facturer.
- The appliance shall be stored in a room without continuously operating ignition sources (for example: open flames, an operating gas appliance or an operating electric heater).
- Do not pierce or burn.
- Be aware that the refrigerants may not contain an odour.
- Appliance should be installed, operated and stored in a room with a floor area according to the amount of refrige-rant to be charged. For specific information on the type of gas and the amount, please refer to the relevant label on the unit itself. When there are differences between the label and the manual on the minimum room area descrip-tion, the description on label shall prevail.
For R290
- Any person who is involved with working on or breaking into a refrigerant circuit should hold a current valid certifi-cate from an industry-accredited assessment authority, which authorises their competence to handle refrigerants safely in accordance with an industry recognised assessment specification.
- Servicing shall only be performed as recommended by the equipment manufacturer.
- Maintenance and repair requiring the assistance of other skilled personnel shall be carried out under the supervi-sion of the person competent in the use of flammable refrigerants.
- Please follow the instruction carefully to handle, install, clear, service the air conditioner to avoid any damage or hazard.
- Flammable refrigerant is used within the product. When maintaining or disposing the air conditioner, the refrigerant (R290) shall be recovered properly, shall not discharge to air directly.
- Keep away from open fire or devices like switches which may generate sparks/arcing to avoid causing ignition of the flammable refrigerant used.
- Please follow the instruction carefully to store or maintain the product to prevent mechanical damage from occur-ring.
- Please follow the instructions carefully to avoid any hazards. For specific information on the type of gas and the amount, please see the label on the product itself.
Caution: Risk of fire/flammable materials Explanation of symbols displayed on the unit.
- WARNING This symbol shows that this product uses a flammable refrigerant. If the refrigerant is leaked and exposed to an external ignition source, there is a risk of fire.
- CAUTION This symbol shows that the manual should be read carefully.
- CAUTION This symbol shows that service personnel should be handling this product with reference to the manual.
- CAUTION This symbol shows that information is available such as a manual.
Transportation, marking and storage (R290)
Transport of equipment containing flammable refrigerants
See transport regulations.
Marking of equipment using signs
See local regulations.
Disposal of equipment containing flammable refrigerants
See national regulations.
Storage of equipment/appliances
Equipment should be stored in accordance with the manufacturer’s instructions.
Storage of packed (unsold) equipment
Storage package protection should be designed such that mechanical damage to the equipment inside the package will not cause the refrigerant to leak. Local regulations determine the maximum number of items of equipment that can be stored together.
Information on servicing
- Checks to the area
Before starting any work on systems containing flammable refrigerants, safety checks are necessary to ensure that the risk of ignition is minimised. For repairs to the refrigerating system, the following precautions must be taken with before starting work on the system. - Work procedure
Work must follow a controlled procedure to minimise the risk flammable gas or vapour being present while the work is in progress. - General work area
All maintenance staff and others working in the vicinity of the product must be instructed on the nature of work being carried out. Work in confined spaces must be avoided. The area around the workspace must be sectioned off. Ensure that the conditions within the area have been made safe by checking for flammable materials. - Checking for the presence of refrigerant
The area must be checked using an appropriate refrigerant detector before and during work, to ensure that the technician is aware of any potentially flammable atmospheres. Ensure that the leak detection equipment being used is suitable for use with flammable refrigerants, i.e. non-sparking, adequately sealed or intrinsically safe. - Fire extinguishers
If any hot work is to be conducted on the refrigeration equipment or any associated parts, appropriate fire ex-tinguishing equipment must be available. Keep a dry powder or CO2 fire extinguisher adjacent to the charging area. - No ignition sources
Anyone carrying out work on a refrigeration system that involves exposing any pipework that contains or has contained flammable refrigerants must not use any sources of ignition in such a manner that there is potential risk of fire or explosion. All possible ignition sources, including smoking, should be kept sufficiently far away from the site of installation, repair work, removal and disposal as flammable refrigerant may be released into the surrounding atmosphere. Before any work takes place, the area around the equipment must be surveyed to make sure that there are no flammable hazards or ignition risks. No Smoking signs must be displayed. - Ventilated area
Ensure that the area is in the open or that it is adequately ventilated before opening the system or conducting any hot work. Some ventilation must be provided while the work is in progress. The ventilation should safely disperse any released refrigerant and, ideally expel it to the atmosphere outdoors. - Checking the refrigeration equipment
Electrical components that are being replaced must be fit for the purpose and to the correct specification. The manufacturer’s maintenance and service guidelines must be followed at all times. If in doubt consult the manufactu-rer’s technical department for assistance.
The following checks shall be applied to installations using flammable refrigerants:- The charge size is in accordance with the room size within which the refrigerant containing parts are installed;
- The ventilation system and outlets are operating adequately and are not obstructed;
- If an indirect refrigerating circuit is being used, the secondary circuit shall be checked for the presence of refrige-rant;
- The labelling of the equipment is still visible and legible. Labels and signs that are illegible must be replaced;
- Refrigeration pipes or components are installed in a location where they are unlikely to be exposed to any sub-stance which may corrode components containing refrigerant, unless the components are made of materials which are inherently resistant to corrosion or are suitably protected against corrosion.
- Checking electrical devices
Repair and maintenance of electrical components must include initial safety checks and component inspection procedures. If there is a fault that could compromise safety, no power supply may be connected to the circuit until the fault has been corrected. If the fault cannot be corrected immediately but continuing operation necessary, an adequate temporary solution must be used. This must be reported to the owner of the equipment so that all parties are advised.
Initial safety checks must include:- Discharge of capacitors: this must be done in a safe manner to prevent sparking;
- Ensuring that there are no live electrical components or wiring exposed while charging, recovering or purging the system;
- That there is continuity of earth bonding.
Repairs to sealed components
- When repairing sealed components, all power supplies must be disconnected from the equipment being worked upon before any removal of sealed covers, etc. If it is absolutely necessary to maintain a power supply to equip-ment during servicing, a permanently operating form of leak detection must be located at the most critical point to provide a prior warning of any potentially hazardous situation.
- Particular attention must be paid to the following to ensure that working on electrical components does not result in alteration of the casing is in such a way that the level of protection is affected.This must include damage to cables, excessive number of connections, terminals not made to original specification, damage to seals, incorrect fitting of cable glands, etc. Ensure that apparatus is mounted securely. Ensure that seals or sealing materials have not degraded such that they no longer prevent the ingress of flammable atmospheres. Replacement parts must be in accordance with the manufacturer’s specifications.
NOTE: The use of silicon sealant may inhibit the effectiveness of some types of leak detection equipment. Intrinsi-cally safe components do not have to be isolated prior to working on them.
Repairing intrinsically safe components
Do not apply any permanent inductive or capacitance loads to the circuit without ensuring that this will not exceed the permissible voltage and current permitted for the equipment in use. Intrinsically safe components are the only types that can be worked on while live in the presence of a flammable atmosphere. The test apparatus must be at the correct rating. Replace components only with parts specified by the manufacturer. Other parts may result in the ignition of leaked refrigerant in the atmosphere.
Cabling
Check that cabling will not be subject to wear, corrosion, excessive pressure, vibration, sharp edges, or any other adverse environmental effects. The check must also take into account the effects of aging or constant vibration from sources such as compressors or fans.
Detection of flammable refrigerants
Under no circumstances should potential sources of ignition be used when searching for or detecting refrigerant leaks. Halide torches (or any other detector use naked flames) must not be used.
Leak detection methods
The following leak detection methods are deemed acceptable for systems containing flammable refrigerants. Electronic leak detectors may be used to detect flammable refrigerants, but the sensitivity may not be adequate, or may need re-calibration. (Detection equipment must be calibrated in a refrigerant-free area.) Ensure that the de-tector is not a potential source of ignition and is suitable for the refrigerant used. Leak detection equipment shall be set at a percentage of the LFL of the refrigerant and must be calibrated to the refrigerant used and the appropriate percentage of gas (25 % maximum) must be confirmed. Leak detection fluids are suitable for use with most refrigerants, but the use of detergents containing chlorine must be avoided as the chlorine may react with the refrigerant and corrode the copper pipework. If a leak is suspected, all naked flames must be removed / extinguished. If a leakage of refrigerant is found which requires brazing, all of the refrigerant must be recovered from the system or isolated (by means of shut-off valves) in a part of the system not affected by the leak. Oxygen- free-nitrogen (OFN) must then be passed through the system both before and during the brazing process.
Removal and evacuation
Conventional procedures must be used when accessing the refrigerant circuit for repairs or any other purpose. However, it is important that best practice is followed since flammability must be considered. The following procedu-re must be adhered to:
- Remove the refrigerant;
- Purge the circuit with inert gas;
- Evacuate the circuit;
- Purge again with inert gas;
- Open the circuit by cutting or brazing.
The refrigerant charge must be recovered into the correct recovery cylinders. The system must be flushed with OFN to render the unit safe. This process may need to be repeated several times. Compressed air or oxygen must not be used for this task. Flushing must be achieved by breaking the vacuum in the system using OFN and continuing to fill until the working pressure is achieved, then venting to the atmosphere, and finally reducing to a vacuum pressure. This process must be repeated until there is no refrigerant left in the system. When the final OFN charge is used, the system must be ventilated to atmospheric pressure to enable work to take place. This operation is absolutely vital if brazing operations are to take place on the pipework. Ensure that the power socket for the vacuum pump is not close to any ignition sources and that there is ventilation available.
Charging procedures
In addition to conventional charging procedures, the following requirements must be met.
- Ensure that there is no contamination of different refrigerants when using charging equipment. Hoses or lines must be as short as possible to minimise the amount of refrigerant contained in them.
- Cylinders must be kept upright.
- Ensure that the refrigeration system is earthed prior to charging the system with refrigerant.
- Label the system when charging is complete (unless it is already labelled).
- Extreme care must be taken not to overfill the refrigeration system.
The system must be pressure-tested using OFN prior to recharging. The system must be tested for leaks on com-pletion of charging but prior to commissioning. A follow-up leak test must be carried out prior to leaving the site.
Decommissioning
Before carrying out this procedure, it is essential that the technician is completely familiar with the equipment and all its details. It is recommended good practice that all refrigerants are recovered safely. Prior to the task being carried out, an oil and refrigerant sample must be taken in case analysis is required prior to reuse of reclaimed refrigerant. It is essential that electricity is available before starting the task.
- Familiarise yourself with the equipment and its operation.
- Isolate the system electrically.
- Before attempting the procedure ensure that:
- Mechanical equipment is available, if required, for handling refrigerant cylinders;
- All personal protective equipment is available and being used correctly;
- The recovery process is supervised at all times by a competent person;
- Recovery equipment and cylinders conform to the appropriate standards.
- Pump down refrigerant system, if possible.
- If a vacuum is not possible, make a manifold so that refrigerant can be removed from various parts of the system.
- Make sure that the cylinder is placed on the scales before recovery takes place.
- Start the recovery machine and operate in accordance with manufacturer’s instructions.
- Do not overfill cylinders. (No more than 80 % liquid charge by volume).
- Do not exceed the maximum working pressure of the cylinder, even temporarily.
- When the cylinders have been filled correctly and the process completed, make sure that the cylinders and the equipment are removed from the site promptly and that all isolation valves on the equipment are closed off.
- Recovered refrigerant must not be charged into another refrigeration system unless it has been cleaned and checked.
Labelling
Equipment must be labelled stating that it has been decommissioned and emptied of refrigerant. The label must be dated and signed. Ensure that there are labels on the equipment stating the equipment contains flammable refrigerant.
Recovery
When removing refrigerant from a system, either for servicing or decommissioning, ensuring that all refrigerants are removed safely is recommended good practice.
When transferring refrigerant into cylinders, ensure that only appropriate refrigerant recovery cylinders are used. Ensure that the correct number of cylinders for holding the total system charge are available. All cylinders to be used must be designated for the recovered refrigerant and labelled for that refrigerant (i.e. special cylinders for the recovery of refrigerant). Cylinders must be complete with pressure relief valves and associated shut-off valves in good working order. Empty recovery cylinders are evacuated and, if possible, cooled before recovery occurs. The recovery equipment must be in good working order with instructions concerning the equipment being used and must be suitable for the recovery of flammable refrigerants. A set of calibrated weighing scales must also be available and in good working order. Hoses must be complete with leak-free disconnect couplings and in good condition. Before using the recovery machine, check that it is in satisfactory working order, has been properly maintained and that any associated electrical components are sealed to prevent ignition in the event of a refrigerant release. If in doubt consult the manufacturer. The recovered refrigerant must be returned to the refrigerant supplier in the correct recovery cylinder, and the relevant Waste Transfer Note arranged. Do not mix refrigerants in recovery units and especially not in cylinders. If compressors or compressor oils are to be removed, ensure that they have been evacuated to an acceptable level to ensure that flammable refrigerant does not remain within the lubricant. The evacuation process must be carried out prior to returning the compressor to the supplier. Only electric heating to the compressor body shall be used to accelerate this process. Oil must be drained from systems safely.
OVERVIEW
This device can be controlled with the control panel alone or with the remote control.
- Control panel
- Louver and air flow control (horizontal)
- Louver and air flow control (vertical)
- Castors
- Handles (both sides)
- Air filter
- Air inlet (upper)
- Drain outlet
- Air outlet
- Air inlet (lower)
- Bottom drain outlet
Temperature ranges
Cooling mode: 17°C to 30°C (62°F to 88°F). Dry mode: 13-35°C (55-95°F). This temperature range indicates the temperature range this product can operate in. It is not an indication of how it can change the temperature of the room.
Placement

Your installation location should meet the following requirements:
- Make sure that you install the product on an even surface to minimize noise and vibration.
- Must be installed near a grounded wall outlet, and the drain outlet must be accessible.
- At least 50 cm (19.7”) from the nearest wall to ensure proper air conditioning. The front air ventilation should be at least 50 cm (19.7”) away from obstacles.
- Do not cover the air inlets or outlets, as this could cause damage to the device.
Energy rating
The energy rating and noise information for this device is based on standard installation using an un-extended exhaust hose. Operated in cooling mode and high fan speed with the remote control.
Tools needed
Screwdriver, ruler, knife, or scissors.
Accessories
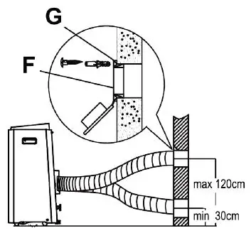
Wall installation

- Assemble the hose: connect (A), (B) and (E). So, it looks like (1).

- Connect the hose to the air outlet.
- Please make sure that you are allowed to make holes in the wall before proceeding. You might need to ask for permission first.

- Make a 125 mm (4.9 inch) hole into the wall for adapter (F). Min 30 cm (12 inch) from the ground. Max 120 cm (47 inch) from the ground.
- Fasten adapter (F) to the wall using the four screws and wall plugs(G).
Connect the hose to adapter (F).
NOTE: Cover the hole with the cap on adaptor (F) when not in use.
NOTE: To ensure proper function, do not overextend or bend the hose. Make sure that there are no obstacles around the air outlet (within 500 mm) in order for the air outlet to work properly.
Alternative installation
If you cannot or do not want to do a wall installation, you can alternatively simply place the hose in an open window for example. No installation accessories are included for alternative installations. They must be purchased separa-tely.
Control panel
- Mode button (“MODE”) = switch between cool, only fan, and dry modes. The LED indicates current mode.
- (-) and (+) buttons = Decrease/increase temperature setting in 1°C/2°F (or 1°F) increments. Range: 17°C to 30°C (62°F to 88°F). Or adjust fan speed.
NOTE: Can display temperature in Fahrenheit or Celsius. To change, press and hold the (-) and (+) buttons for 3 seconds. - Power button = Power the product on or off.
- If it has been powered off, it will not start within 3 minutes. This is to protect the device. It will automatically start after 3 minutes.
- Display = Displays error codes, timers, or temperatures. In cooling mode = Shows set temperature. In dry and only fan modes = Shows room temperature.
- Cooling mode = Press the “MODE” button until the “Cool” indicator lights up. Fan speed cannot be adjusted in this mode.
- During cooling mode when the temperature is lower than the set value, the product will temporarily pause. When the temperature rises again the product will continue cooling.
- Only fan mode = Press the “MODE” button until the “Fan” indicator lights up. The temperature cannot be adjusted. Do not place the hose or ventilation hose in a window in this mode.
- Dry mode = Press the “MODE” button until the “Dry” indicator lights up. Fan speed and temperature cannot be adjusted in this mode.
Note: Keep windows and doors closed for the best dehumidifying effect. Do not place the hose or ventilation hose in a window in this mode. - Sleep mode = Only available in cooling mode. From the remote control only. When activated, the set temperature will increase with 1°C/2°F (or 1°F) after 30 minutes.
The temperature will increase with additional 1°C/2°F (or 1°F) after another 30 minutes. The set temperature will be kept for 7 hours before it returns to the original setting, and it returns previous mode.
Remote control
Warning instructions (Remote control)
- The product will not respond to the remote control if curtains, doors, or other materials block the signals from the remote control.
- Prevent any liquid from falling into the remote controller. Do not expose the remote controller to direct sunlight or heat.
- If the infrared receiver on the product is exposed to direct sunlight, the product may not function properly. We recommend using curtains to prevent the sunlight from falling on the receiver.
- If other electrical appliances react to the remote control. Either move these appliances or consult the retailer or our support.

The device will make a sound when a remote control signal is received.
Range: 8 m.
Operating temperature: -5°C to 60°C° (23°F to 140°F).
- “TEMP ▼”: Decreases temperature in 1°C/1°F increments. Min. temperature is 17°C/62°F.
- “TEMP▲”: Increases temperature in 1°C/1°F increments. Max. temperature is 30°C/86°F.
- “ON/OFF”: Turns the device on or off.
- “FAN SPEED”: changes fan speed in the following order: Automatic fan mode > low > medium > high Note: automatic fan mode = randomly changing fan speed.
- “MODE”: change mode between automatic cooling mode > cooling > dry > only fan.
- “TIMER ON”: Set a timer to turn the device on.
- “SLEEP”: Activate or deactivate sleep mode.
- “TIMER OFF”: Set a timer to turn the device off.
- “LED DISPLAY”: Press this button to turn the display on or turn off (on the device).
- Change between °C or °F.
Note: Automatic modes are only available from the remote control
NOTE: Press and hold the buttons (10 and 8) for 5 seconds to lock the remote control’s buttons. Press and hold the buttons 2 seconds to unlock the remote control’s buttons.
Remote control display
- Automatic fan mode
- Cool mode
- Dry mode
- Only fan mode
- High
- Medium
- Low
= Sending or receiving data.
= Remote control is powered on.
= A timer to turn the device is active.
= A timer to turn the device off is active.
= Shows set temperature or room temperature or time when a timer has been set.
= Lock and unlock remote control buttons.
= Sleep mode is active.
HIGH= Currently in high fan speed.
MED= Currently in medium fan speed.
LOW= Currently in low fan speed.- No fan speed indicator = When no fan speed indicator is shown the fan is currently in automatic fan mode. Attention! Before using the remote control, ensure the device is connected to the mains.
Automatic cooling mode
Automatic cooling mode: automatically selects cooling mode, and changes fan speed based on the indoor tempera-ture. In automatic cooling mode, fan speed can not be set.
Cooling mode
Dry mode
Dry mode: fan speed can not be set since it automatically controlled.
Only fan mode
Only fan mode: you cannot set the temperature in this mode.
Set a timer (on)
Set a timer (off)
Timer: Set a timer. You can set up to 2 timers at the same time, one to turn on and one to turn off.
- Press “TIMER ON” or “TIMER OFF” to set a timer.
- Press “TEMP” ▼▲ buttons to set a time for the device to turn on or off.
- Point the remote control towards the device and wait 1 second, the timer activates.
The time will be incremented with 30 minutes up to 10 hours. After 10 hours and up to 24 hours, it will increase with 1-hour. After 24, it restarts at 0. Cancel a timer by setting it to 0.
Sleep mode
Sleep mode: Press to activate or deactivate sleep mode. Only available via the remote control. Not available in only fan or dry mode.
Remote control batteries
The remote controller is powered by two dry batteries (2x R03/LR03, 3.0V).
- Slide the battery cover on the remote control downward, to open the battery compartment.
- Insert the batteries, pay attention to the (+) and (-) polarities of the batteries, check that they match with the symbols inside the battery compartment.
- Slide the battery cover back into place.
- Do not mix old and new batteries or batteries of different types.
- Do not leave the batteries in the remote control if it is not going to be used within 2 months.
- Do not dispose of batteries as unsorted waste. Refer to your local laws for proper disposal of batteries.
Automatic restart
In case of an unexpected power cut, the product will restart and will continue in last used mode.
Air flow
Air flow can be adjusted manually with the louvers. Horizontally and vertically. Keep objects and obstructions away from the air outlets. Keep the louvers fully opened.
Water drain
This product has 2 drains. The upper drain is for dry mode to use as a continuous drain. The lower drain is for cooling mode.
- Water drain with plug.
- Drain hose.
To use dry mode (dehumidifying), remove the drain plug (1). Connect the drain hose (2) to the water drain. Place the other end of the hose directly on a floor drain. For example, a floor drain in your basement floor.
Make sure the hose connection is fastened securely to avoid water leakage. Ensure that the hose is not bent with any kinks that would stop the water flow. The end of the hose should be directed down to let the water flow smoothly. When the drain hose is not used, install the drain plug firmly to prevent water leakage.
- Drain plug (lower).
- Drain hose.
When you are using cooling mode, the water will gather in the lower drain. When the water level of the lower drain reaches a predetermined level, the device makes a sound 8 times, the display shows error code: P1. Cooling mode and dry mode will be stopped. However, the fan will continue to operate, this is normal. Carefully move the device to a floor drain or other suitable area, remove the lower drain plug slowly and let the water flow to the drain. Install the bottom drain plug and start the product. The error code P1 should disappear. If it is not disappearing, try to restart a few times. If the error persists, there could be problem with the product, we recommend contacting our support.
Note: Make sure the lower drain plug is installed firmly to prevent water leakage.

Cleaning and maintenance
- Always unplug the device from the mains before cleaning or maintenance.
- Do not use flammable liquids or chemicals to clean the unit.
- Do mot wash the device under running water. Doing so causes electrical danger.
- Do not operate the machine if the power cable was damaged during cleaning.
- A damaged power cable must be replaced with a new cable from the manufacturer.
Air filter
Removing the air filter.
CAUTION: Do not operate the device without the filter, because dirt and lint will clog it and reduce performance. Clean the air filter every 2 weeks for optimal performance.
Rinse with water and let it dry. The lower drain should be drained immediately after error code P1 occurs, and before storage to prevent mold. In households with animals, you will have to periodically wipe off the fan guard to prevent blocked airflow due to animal hair. Clean the device using a damp, lint-free cloth, and a mild detergent. Dry the device with a dry, lint-free cloth.
Storage
Store the device when not in use.
- Run the product in only fan mode for 12 hours in a warm room to dry it and prevent mold.
- Turn the device off and disconnect it from the mains.
- Clean the air filter. Install the clean and dry filter before storing it.
- Remove the batteries from the remote control.
- The product exterior may be dusted with an oil-free cloth or washed with a damp cloth with a mild detergent and wipe dry. Never use harsh cleansers, wax, or polish on the exterior. Be sure to wring excess water from the cloth before wiping the control panel. Excess water in or around the control panel may cause damage to the unit.
- The product is ready for storage. Store in cool and dark place. Exposure to direct sunshine or extreme heat can shorten the lifespan.
Error codes
- E0 = EEPROM error.
- E1 = Room temperature sensor error.
- E2 = Evaporator temperature sensor error.
- E3 = Condenser temperature sensor error.
- E4 = Display communication error.
- EC = Refrigerant leakage detection malfunction.
- P1 = Bottom drain is full.
Troubleshooting
General troubleshooting tips: turn the device off, disconnect the power cable, and check for any obstructions. Restart the device, if the malfunction is still present, turn the product off and disconnect from mains.
- Problem 1: Unit does not turn on when pressing the on/off button.
- Cause 1A: Error code: P1
- Solution 1A: The lower drain is full. Turn the device off, drain the water from the lower drain and restart the unit. Cause 1B: In cooling mode the room temperature is lower than the set temperature.
- Solution 1B: Set a lower temperature.
- Cause 1C: E0 EEPROM error.
- Solution 1C: You can try to power off and disconnect from power and wait 1 minute before connecting again. It could also be an indication of an electricity problem. Try another power outlet or check if any extension cables are being used. Try to connect directly to another power outlet. If nothing helps, contact our support or a qualified person.
- Problem 2: The product does not cool well.
- Cause 2A: The air filter is blocked with dust or animal hair.
- Solution 2A: Turn the device off and clean the air filter.
- Cause 2B: The ventilation hose is not connected, or it is blocked.
- Solution 2B: Turn the device off, disconnect the hose, check for obstructions, and reconnect the hose.
- Cause 2C: The device is low on refrigerant.
- Solution 2C: Contact a cold technician or a relevant company to inspect the unit and refill with refrigerant.
- Cause 2D: The temperature setting is too high.
- Solution 2D: Decrease the set temperature.
- Cause 2E: There are open windows or doors in the room.
- Solution 2E: Make sure all windows and doors are closed.
- Cause 2F: The room area is too large.
- Solution 2F: Double-check the cooling area.
- Cause 2G: There are heat sources inside the room.
- Solution 2G: Remove the heat sources if possible.
- Problem 3: The product is noisy and vibrates too much.
- Cause 3A: The floor is not level.
- Solution 3A: Place the device on a flat and level surface.
- Cause 3B: The air filter is blocked with dust or animal hair.
- Solution 3B: Turn the device off and clean the filter.
- Problem 4: The device is making liquid gurgling sounds.
- Cause 4A: This sound is caused by the flow of refrigerant inside the unit.
- Solution 4A: This is normal.
Support
More product information can be found at www.deltaco.eu.
Disposal of the packaging
The carton can be used for storing or moving the product. Dispose of the packing material by recycling it, according to your local regulations.
Disposal
Disposal of electric and electronic devices EC Directive 2012/19/EU This product is not to be treated as regular household waste but must be returned to a collection point for recycling electric and electronic devices. Further information is available from your municipality, your municipality’s waste disposal services, or the retailer where you purchased your product.
SIMPLIFIED EU DECLARATION OF CONFORMITY
The simplified EU declaration of conformity referred to in Article 10(9) shall be provided as follows: Hereby, Dis-tIT Services AB declares that the radio equipment type wireless device is in compliance with Directive 2014/53/EU. The full text of the EU declaration of conformity is available at the following internet address: www.aurdel.com/compliance/
DistIT Services AB, Glasfibergatan 8, 125 45 Älvsjö, Sweden
DistIT Services AB, Suite 89, 95 Mortimer Street, London, W1W 7GB, England





= Shows set temperature or room temperature or time when a timer has been set.
![Midea Smart Ac [cw058iu-awifi] User Manual Midea Smart Ac [cw058iu-awifi] User Manual](https://static-data1.manualsee.com/1/img/294/17740/2020/12/Midea-Smart-AC-CW058IU-AWIFI.png)















