MAXIM 61012 Tulum LED Outdoor Fandelight

INSTALLATION AND SAFETY INSTRUCTIONS READ AND SAVE THESE INSTRUCTIONS
SAFETY PRECAUTION
- WARNING –To make sure power is off before attempting installation.
- WARNING – Support Directly From Building Structure.
- WARNING –To reduce the risk of fire, electric shock, or injury to persons, unplug or disconnect the appliance from the power supply before the fan installation, cleaning, or servicing.
- WARNING –To Reduce The Risk Of Fire Or Electric Shock, Do Not Use This Fan With Any Solid-State Speed Control Device.
- WARNING –To Reduce The Risk Of Personal Injury, Do Not Bend The Blade Brackets When Installing The Brackets, Balancing The Blades, Or Cleaning The Fan. Do Not Insert Foreign Objects In Between Rotating Fan Blades.
- WARNING –Chemical Burn Hazard. Keep batteries away from children.
- This product contains a lithium button/coin cell battery. If a new or used lithium button/coin cell battery is swallowed or enters the body, it can cause severe internal burns and can lead to death in as little as 2 hours. Always completely secure the battery compartment. If the battery compartment does not close securely, stop using the product, remove the batteries, and keep it away from children. If you think batteries might have been swallowed or placed inside any part of the body, seek immediate medical attention.
- The batteries shall be disposed of properly, including keeping them away from children; Even used cells may cause injury.
- The installation is to be in accordance with the National Electrical Code, ANSI/NFPA 70-1999 and local codes. Consult a qualified electrician if in double.
- WARNING – To Reduce The Risk Of Electric Shock, This Fan Must Be Installed With A General-Use, Isolating Wall Control/Switch.
- All set screws must be checked, and retightened where necessary, before installation.
- After making the wire connections, the wires should be spread apart with the grounded conductor and the equipment-grounding conductor on one side of the outlet box and the ungrounded conductor on the other side of the outlet box.
- The splices after being made should be turned upward and pushed carefully up into the outlet box.
- Conductor of a fan identified as grounded conductor to be connected to a grounded conductor of power supply, conductor of fan identified as ungrounded conductor to be connected to an ungrounded conductor of power supply, conductor of fan identified for equipment grounding to be connected to an
equipment-grounding conductor. - CAUTION–To Reduce The Risk Of Electric Shock, Disconnect The Electrical Supply Circuit To The Fan Before Installing Light Kit.
- WARNING – To reduce the risk of fire, electric shock, or personal injury, mount directly to a structural framing member of to an outlet box marked (acceptable for fan support of 15.9 kg(35 lbs) or less). For outlet box mounting, use mounting screws provided with the outlet box.
PARTS & ACCESSORIES
Transmitter Kit 
Assembly Kit 
INSTALLATION INSTRUCTION

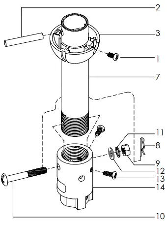
STEP 1
- Remove the Clevis Pin (8), Nut (9), Spring Washers (11), Flat Washers (12) & Bolt (10) on Coupling (14).
- Loosen the Screw (1) from Hanger Ball (3), remove the Hanger Ball (3) and Lock Pin (2).
- Route the wires and safety wire from the motor through the Downrod (7).
- Install the Downrod (7) to Coupling (14) and secure with Bolt (10), Flat Washer (12), Spring Washer (11), Nut (9) & Clevis pin (8).
- Tighten the 2 Set Screws (13) on the Coupling (14) to serve as a clamping force on the Downrod (7) to prevent fan shaking during operation.
- Route the Coupling cover (6), Canopy Ring (5), Canopy (4) and Hanger Ball (3) through the Downrod (7) in turn, and then install the Lock pin (2) through the hole on the Downrod (7). Slip the hanger ball (3) upward to lock Pin (2), and fix it by Screw (1), then slip down the Coupling Cover (6) in correct position.
- Remove the stopper(x3) on the top of fan motor.
STEP 2A – CONCRETE CEILING
SWITCH OFF THE ELECTRICAL MAINS AT THE CIRCUIT BREAKER FUSE BOX.
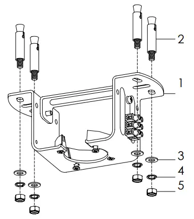
- Use the Mounting Bracket (1) as a guide, mark the spots where the 4 Expansion Bolts (2) will be drilled.
- Remove the Mounting Bracket (1), drill 4 holes and insert 4 Expansion Bolts (2) into the concrete ceiling, install the mounting bracket and secure with Flat Washers (3), Spring Washers (4) and Nuts (5).
IMPORTANT: SCREWS & NUTS MUST BE TIGHTENED TILL SNUG
STEP 2B – WOODEN CEILING
SWITCH OFF THE ELECTRICAL MAINS AT THE CIRCUIT BREAKER FUSE BOX.
- Use the Mounting Bracket (1) as a guide, mark the spots where the 4 Self Tapping Screws (2) will be drilled.
- Remove the Mounting Bracket (1), drill 4 holes for 3MM diameter, install the mounting bracket onto wooden ceiling with the 4 Self Tapping Screws (2) & Washers (3). IMPORTANT: SCREWS MUST BE TIGHTENED TILL SNUG
STEP 3
- Raise the fan and place the hanger ball onto mounting bracket.
- Rotate the fan until the notch on hanger ball snapped into the slot on mounting bracket and sits firmly.
NOTE : THE DOWNROD AND HANGER BALL SHOULD NOT ROTATE IF THIS STEP IS DONECORRECTLY. - Tighten the safety wire clamp.
- Place ring of safety wire through the expansion bolt or self tapping screw and fix it to the building structure.

- Connect the wire connector plugs correctly. The wire connector plugs design with fool proof device, please don’t force to plug. Otherwise it may affect the normal use of the light fan or burn the fan motor.

STEP 4
SWITCH OFF THE ELECTRICAL MAINS AT THE CIRCUIT BREAKER FUSE BOX.
- Connect wires from controller to power supply with wire connectors.
- Insert the controller and LED Driver into the space of the mounting bracket, and tidy up the wiring.

STEP 5 
- Carefully push the canopy to the bottom of the mounting bracket, make two sliding holes aligned to the two prominent screws on the mounting bracket, and then turn clockwise until tight.
- Push the canopy ring to the bottom of the canopy, canopy ring will be magnetically attached to the canopy.
SMART CONTROL ADD DEVICE MANUAL
- Ensure the light fan that needs intelligent control can be used normally, and disconnect the power supply.
- Make sure the Wi-Fi connected to the light fan is available and has normal Internet access.
- Search Smart Life or Tuya Smart on mobile devices, download and install it.

- Turn on WLAN on your mobile device and connect to the same Wi-Fi that you plan to connect to the light fan.
- Open the app, register and log in and make relevant settings according to the app requirements.
- Click Add Device or top right corner + to add device operation.
- Select Add Manually or Auto Scan. (*If the addition fails, power off the light fan for 1 minutes and repeat the add operation.)
Add Manually:- Choice –Lighting-Ceiling Fan-Ceiling Fan(Wi-Fi)
- Select the Wi-Fi that will be connected to the light fan, enter password, and click NEXT.
- Continuously turn on and off the light fan:
ON1-OFF-ON2-OFF-ON3-OFF-ON4. After about 4 seconds, the light fan will flash twice or “Beep” twice. - Choice Confirm the light is blinking rapidly, click NEXT.
- The light fan beeps or flashes once to indicate that the connection is successful.
Auto Scan:- Click Modify Wi-Fi config, Select the Wi-Fi that will be connected to the light fan and enter the password, click NEXT.
- Continuously turn on and off the light fan:
ON1-OFF-ON2-OFF-ON3-OFF-ON4. After about 4 seconds, the light fan will flash twice or “Beep” twice. - Wait for the light fan icon to appear in the interface. The light fan will beep or flash once. Click NEXT to add.
- Through app, personalized pictures and naming can be added to the light fan, and the fan and lamp can be controlled intelligently. Please refer to the relevant instructions in app for specific operation methods.
TRANSMITTER FUNCTION
TRANSMITTER SETTING (MODEL: FCT6000WT)
- Open the transmitter battery cover and install DC3V battery.(Model: CR2032)
- Turn on the power of the light fan.
- Within 30 sec after the “Beep”, press and hold the LEARN button for 3 sec. (Don’t press any other buttons.) Once the receiver has detected and learned the frequency, the receiver will “Beep” twice mean while the light will bright out twice.
- Programming/self-learning process is completed and transmitter is ready to use.
- Dial up to position “D”, the brightness of the light can be control low or high. NOTE: This option is not applicable for non-dimming products.

ATTENTION
- After completing the steps above, you should be able to operate the fan and light. If the fan and light are not responding to the transmitter, please turn the power off to the light fan and repeat step 2 and 3.
- If˜long˜time˜not˜to˜use˜the˜transmitter,˜please˜take˜the˜battery˜out.

NOTE: Button “D”: for dimming function; Button “O”; for CCT function; Please make sure the light is on before CCT.
Memory Function: if the power supply of the product is disconnected during use, and the power supply is switched on again, the fan will continue to operate according to the state before power off, and the light will be turned on by default.
TRANSMITTER SETTING (MODEL: REM002)
- This DC motor is equipped with self-learning frequency function transmitter. Read all the steps BEFORE proceeding. Each step must be followed exactly in order to program the transmitter.
- To use factory pre-programmed setting – Skip the below programming steps. Insert battery into transmitter, turn on the power supply to fan and it is ready to use.
FIRST ONE USE INSTRUCTION
- Dial up to position“O”, it is on/off only for the lighting, and it is the brightest of the light.
- Dial down to position“D”, the brightness of the light can be control low or high and color temperature.
SECOND ONE USE INSTRUCTION
- If you have more than 1 unit of this fan model in close proximity, it is equipped self-learning, please don’t press any key when self-learning.
- To set the second one down to the position of “1” (set to “0” position on one product when used directly).
- Turn on the power of the light fan.
- Within 30 sec after the “Beep”, press and hold the LEARN button for 3 sec. Once the receiver has detected and learned the frequency, the receiver will “Beep” twice, meanwhile the light will -bright out twice. Programming/self-learning process is completed and fan is ready to use.
ATTENTION
- If the fan is not responding to the transmitter. Turn off the power supply to fan for 30 sec and then restore power & reset the transmitter.
- If long time not to use the transmitter, please take the battery out.
TRANSMITTER FUNCTION (MODEL:REM002)
FAN SPEED
(1-low speed, 6-high speed)
Turns off the fan Timing the fan
- Auto off after 1 hr
- Auto off after 3 hr

- Auto off after 6 hr
- Cancel timing setup

- Forward or reverse operation: Press the button for 2 sec until there is a ‘Beep’ sound to change fan rotating direction. Fan change direction. (approx. 25 sec)
- Natural Wind: Press the button to change fan rotating direction. Fan speed changes within its range creating gentle natural wind effect.

- Lamp on-off control
When the first one dial down to the position of “D” and the light is on, long press top of the button adjustable color temperature. long press bottom of the button adjustable light, dimmer in the process, when the light bulbs reach to most bright and dark, have a “Beep” sound tip respectively.

- Forward
Fan rotates anti-clockwise creating a downward airflow delivering a cooling effect. Suitable for hot weather condition or air-conditioned condition. - Reverse
Fan rotates clockwise creating an upward airflow moving warm air off the ceiling areas. This function works best at lower fan speed.
Suitable for cold weather or air-conditioned condition.
TRANSMITTER HOLDER

Installing Transmitter Holder
- Install the back cover to the wall or any flat surface with the two mounting screws provided. Install the transmitter holder on the back cover. Put the transmitter in the holder. (Magnet attraction fixation).
Installing Transmitter Holder
- Install the transmitter holder to the wall or any flat surface with the two mounting screws provided.
TECHNICAL SPECIFICATIONS

| Model | No. of blades | Fan width | Light bulb | Voltage |
| 61012 | 3 | 710mm | 1 x 30W LED | 110-120V~ 60Hz |
| Speed | Amps | Wattage | RPM | CFM | Nett weight | Gross weight |
| 1 | 0.040 | 1.4 | 88 | 600 |
7.8 kg |
11.2 kg |
| 2 | 0.051 | 2.4 | 135 | 1000 | ||
| 3 | 0.075 | 4.5 | 185 | 1350 | ||
| 4 | 0.119 | 8.2 | 235 | 1750 | ||
| 5 | 0.190 | 14.1 | 285 | 2150 | ||
| 6 | 0.327 | 27.3 | 330 | 2600 |
Specifications˜&˜measurements˜shown˜are˜subject˜to˜±5%˜variations.
MAINTENANCE
Due to the fan’s natural movement, connections may get loose after a period of usage. To ensure a proper and safety usage, inspect the suspension system and tighten all connections every 6 months.
Cleaning
Cleaning your fan periodically will prolong its useful life. Basic cleaning procedures are as follows:
- Please shut off the power before you clean the light fan and replace the bulbs.
- The bulbs and nearby parts will be still hot after the power is shut off. To avoid burn, please clean them after they are cooled down.
- Don’t use sandpaper, wire brush and other sharp tools to clean the light fan.
- Don’t clean the light fan by using detergents, acid or alkaline solvents.
- Use only soft or lint-free cloth to clean the light fan.
- Please dry the light fan by cold-blast air after cleaning, in order to prevent dangerous leakage caused by water infiltrated into electriferous parts of the light fan or prevent rust of wet metal parts.
- There is no need to oil the fan.


















