
![]()
HD420 1/2 Inch Hammer Drill
Owner’s Manual
OPERATOR’S MANUAL
MANUEL D’UTILISATION MANUAL DEL OPERADOR
INCLUDES: Hammer Drill, Auxiliary Handle Assembly with Depth Stop Rod, Chuck Key, Chuck Key Strap, Operator’s Manual
WARNING: To reduce the risk of injury, the user must read and understand the operator’s manual before using this product.
GENERAL POWER TOOL SAFETY WARNINGS
WARNING
Read all safety warnings and all instructions. Failure to follow the warnings and instructions may result in electric shock, fire, and/or serious injury.
Save all warnings and instructions for future reference. The term “power tool” in the warnings refers to your mains-operated (corded) power tool or battery-operated (cordless) power tool.
WORK AREA SAFETY
- Keep the work area clean and well-lit. Cluttered or dark areas invite accidents.
- Do not operate power tools in explosive atmospheres, such as in the presence of flammable liquids, gases or dust. Power tools create sparks that may ignite dust or fumes.
- Keep children and bystanders away while operating a power tool. Distractions can cause you to lose control.
ELECTRICAL SAFETY
- Power tool plugs must match the outlet. Never modify the plug in any way. Do not use any adapter plugs with earthed (grounded) power tools. Unmodified plugs and matching outlets will reduce risk of electric shock.
- Avoid body contact with earthed or grounded surfaces such as pipes, radiators, ranges and refrigerators. There is an increased risk of electric shock if your body is earthed or grounded.
- Do not expose power tools to rain or wet conditions. Water entering a power tool will increase the risk of electric shock.
- Do not abuse the cord. Never use the cord for carrying, pulling or unplugging the power tool. Keep cord away from heat, oil, sharp edges or moving parts. Damaged or entangled cords increase the risk of electric shock.
- When operating a power tool outdoors, use an extension cord suitable for outdoor use. Use of a cord suitable for outdoor use reduces the risk of electric shock.
- If operating a power tool in a damp location is unavoidable, use a ground fault circuit interrupter (GFCI) protected supply. Use of a GFCI reduces the risk of electric shock.
PERSONAL SAFETY
- Stay alert, watch what you are doing, and use common sense when operating a power tool. Do not use a power tool while you are tired or under the influence of drugs, alcohol or medication. A moment of inattention while operating power tools may result in serious personal injury.
- Use personal protective equipment. Always wear eye protection. Protective equipment such as dust masks, nonskid safety shoes, hard hats, or hearing protection used for appropriate conditions will reduce personal injuries.
- Prevent unintentional starting. Ensure the switch is in the off-position before connecting to a power source and/or battery pack, picking up or carrying the tool. Carrying power tools with your finger on the switch or energizing power tools that have the switch on invites accidents.
- Remove any adjusting key or wrench before turning the power tool on. A wrench or a key left attached to a rotating part of the power tool may result in personal injury.
- Do not overreach. Keep proper footing and balance at all times. This enables better control of the power tool in unexpected situations.
- Dress properly. Do not wear loose clothing or jewelry. Keep your hair, clothing, and gloves away from moving parts. Loose clothes, jewelry or long hair can be caught in moving parts.
- If devices are provided for the connection of dust extraction and collection facilities, ensure these are connected and properly used. The use of dust collection can reduce dust-related hazards.
- Do not wear loose clothing or jewelry. Contain long hair. Loose clothes, jewelry, or long hair can be drawn into air vents.
- Do not use on a ladder or on unstable support. Stable footing on a solid surface enables better control of the power tool in unexpected situations.
POWER TOOL USE AND CARE
- Do not force the power tool. Use the correct power tool for your application. The correct power tool will do the job better and safer at the rate for which it was designed.
- Do not use the power tool if the switch does not turn it on and off. Any power tool that cannot be controlled with the switch is dangerous and must be repaired.
- Disconnect the plug from the power source and/or the battery pack from the power tool before making any adjustments, changing accessories, or storing power tools. Such preventive safety measures reduce the risk of starting the power tool accidentally.
- Store idle power tools out of the reach of children and do not allow persons unfamiliar with the power tool or these instructions to operate the power tool. Power tools are dangerous in the hands of untrained users.
- Maintain power tools. Check for misalignment or binding of moving parts, breakage of parts and any other condition that may affect the power tool’s operation. If damaged, have the power tool repaired before use. Many accidents are caused by poorly maintained power tools.
- Keep cutting tools sharp and clean. Properly maintained cutting tools with sharp cutting edges are less likely to bind and are easier to control.
- Use the power tool, accessories and tool bits etc. in accordance with these instructions, taking into account the working conditions and the work to be performed. Use of the power tool for operations different from those intended could result in a hazardous situation.
SERVICE
- Have your power tool serviced by a qualified repair person using only identical replacement parts. This will ensure that the safety of the power tool is maintained.
- When servicing a power tool, use only identical replacement parts. Follow instructions in the Maintenance section of this manual. Use of unauthorized parts or failure to follow Maintenance Instructions may create a risk of shock or injury.
HAMMER DRILL SAFETY WARNINGS
- Wear ear protectors with impact drilling. Exposure to noise can cause hearing loss.
- Use auxiliary handle(s), if supplied with the tool. Loss of control can cause personal injury.
- Hold power tool by insulated gripping surfaces, when performing an operation where the cutting accessory may contact hidden wiring or its own cord. Cutting accessory contacting a “live” wire may make exposed metal parts of the power tool “live” and could give the operator an electric shock.
- Know your power tool. Read the operator’s manual carefully. Learn its applications and limitations, as well as the specific potential hazards related to this tool. Following this rule will reduce the risk of electric shock, fire, or serious injury.
- Always wear eye protection with side shields marked to comply with ANSI Z87.1. Following this rule will reduce the risk of serious personal injury.
- Protect your lungs. Wear a face or dust mask if the operation is dusty. Following this rule will reduce the risk of serious personal injury.
- Protect your hearing. Wear hearing protection during extended periods of operation. Following this rule will reduce the risk of serious personal injury.
- Inspect tool cords periodically and, if damaged, have them repaired at your nearest authorized service center. Constantly stay aware of cord location. Following this rule will reduce the risk of electric shock or fire.
- Check damaged parts. Before further use of the tool, a guard or other part that is damaged should be carefully checked to determine that it will operate properly and perform its intended function. Check for alignment of moving parts, binding of moving parts, breakage of parts, mounting, and any other conditions that may affect its operation. A guard or other part that is damaged should be properly repaired or replaced by an authorized service center. Following this rule will reduce the risk of shock, fire, or serious injury.
- Make sure your extension cord is in good condition. When using an extension cord, be sure to use one heavy enough to carry the current your product will draw. A wire gauge size (A.W.G.) of at least 16 is recommended for an extension cord 50 feet or less in length. A cord exceeding 100 feet is not recommended. If in doubt, use the next heavier gauge. The smaller the gauge number, the heavier the cord. An undersized cord will cause a drop in line voltage resulting in loss of power and overheating.
- Inspect for and remove all nails from lumber before using this tool. Following this rule will reduce the risk of serious personal injury.
- If the power supply cord is damaged, it must be replaced only by the manufacturer or by an authorized service center to avoid risk.
- Save these instructions. Refer to them frequently and use them to instruct others who may use this product. If you loan someone this product, loan them these instructions also.
SYMBOLS
The following signal words and meanings are intended to explain the levels of risk associated with this product.
| SYMBOL | SIGNAL…………………………………………….MEANING | |
| DANGER: | Indicates a hazardous situation, which, if not avoided, will result in death or serious injury. | |
| WARNING: | Indicates a hazardous situation, which, if not avoided, could result in death or serious injury. | |
| CAUTION: | Indicates a hazardous situation, that, if not avoided, may result in minor or moderate injury. | |
| NOTICE | (Without Safety Alert Symbol) Indicates information considered important, but not related to a potential injury (e.g. messages relating to property damage). | |
Some of the following symbols may be used on this product. Please study them and learn their meaning. Proper interpretation of these symbols will allow you to operate the product better and safer.
| Some of the following symbols may be used on this product. Please study them and learn their meaning. Proper interpretation of these symbols will allow you to operate the product better and safer. | ||
| SYMBOL | NAME | DESIGNATION/EXPLANATION |
| Safety Alert | Indicates a potential personal injury hazard. | |
| Read Operator’s Manual | To reduce the risk of injury, users must read and understand the operator’s manual before using this product. | |
![]() | Wear Eye Protection | Always wear eye protection with side shields marked to comply with ANSI Z87.1. |
![]() | Wet Conditions Alert | Do not expose to rain or use in damp locations. |
| V | Volts | Voltage |
| A | Amperes | Current |
| Hz | Hertz | Frequency (cycles per second) |
| W | Watt | Power |
| min | Minutes | Time |
| Alternating Current | Type of current | |
| no | No Load Speed | Rotational speed, at no load |
![]() | Class II Construction | Double-insulated construction |
| …/min | Per Minute | Revolutions, strokes, surface speed, orbits etc., per minute |
ELECTRICAL
DOUBLE INSULATION
Double insulation is a concept in safety in electric power tools, which eliminates the need for the usual three wire grounded power cord. All exposed metal parts are isolated from the internal metal motor components with protecting insulation. Double insulated tools do not need to be grounded.
WARNING:
The double insulated system is intended to protect the user from shock resulting from a break in the product’s internal insulation. Observe all normal safety precautions to avoid electrical shock.
NOTE: Servicing of a product with double insulation requires extreme care and knowledge of the system and should be performed only by a qualified service technician. For service, we suggest you return the product to your nearest authorized service center for repair. Always use original factory replacement parts when servicing.
ELECTRICAL CONNECTION
This product has a precision-built electric motor. It should be connected to a power supply that is 120 volts, AC only (normal household current), 60 Hz. Do not operate this product on direct current (DC). A substantial voltage drop will cause a loss of power and the motor will overheat. If the product does not operate when plugged into an outlet, double-check the power supply.
EXTENSION CORDS
When using a power tool at a considerable distance from a power source, be sure to use an extension cord that has the capacity to handle the current the tool will draw. An undersized cord will cause a drop in line voltage, resulting in overheating and loss of power. Use the chart to determine the minimum wire size required in an extension cord. Only round jacketed cords listed by Underwriter’s Laboratories (UL) should be used.
When working outdoors with a product, use an extension cord that is designed for outside use. This type of cord is designated with “W-A” or “W” on the cord’s jacket.
Before using any extension cord, inspect it for loose or exposed wires and cut or worn insulation.
**Ampere rating (on product data plate) 0-2.0 2.1-3.4 3.5-5.0 5.1-7.0 7.1-12.0 12.1-16.0
Cord Length………………………………. Wire Size (A.W.G.)
| 25′ | 16 | 16 | 16 | 16 | 14 | 14 |
| 50′ | 16 | 16 | 16 | 14 | 14 | 12 |
| 100′ | 16 | 16 | 14 | 12 | 10 | — |
**Used on 12 gauge – 20 amp circuit.
NOTE: AWG = American Wire Gauge
WARNING:
Keep the extension cord clear of the working area. Position the cord so that it will not get caught on lumber, tools, or other obstructions while you are working with a power tool. Failure to do so can result in serious personal injury.
WARNING:
Check extension cords before each use. If damaged replace it immediately. Never use the product with a damaged cord since touching the damaged area could cause electrical shock resulting in serious injury.
FEATURES
PRODUCT SPECIFICATIONS
Chuck Capacity………………………………………………………………. 1/2 in.
Switch……………………………………………………………. VSR (Variable Speed Reversible)
Blows Per Minute …………………………………………………………0-48,000
BPM No Load Speed ………………………………………………….0-3,000 r/min. (RPM) Input:
HD420……………………………………………………………………..120 V, AC only, 60 Hz, 4.2 Amps
HD4201………………………………………………………………….120 V, AC only, 60 Hz, 600 Watts
ASSEMBLY
UNPACKING
This product requires assembly. Carefully remove the tool and any accessories from the box. All items listed in the Includes section must be included at the time of purchase.
WARNING:
Items in this Assembly section are not assembled to the product by the manufacturer and require custom installation. Use of a product that may have been improperly assembled could result in serious personal injury.
If any parts are damaged or missing, please call 1-800-525-2579 for assistance. In Mexico, please call 01-800-843-1111.
WARNING:
If any parts are damaged or missing do not operate this product until the parts are replaced. Use of this product with damaged or missing parts could result in serious personal injury.
WARNING:
Do not attempt to modify this product or create accessories or attachments not recommended for use with this product. Any such alteration or modification is misused and could result in a hazardous condition leading to possible serious personal injury.
AUXILIARY HANDLE ASSEMBLY
See Figure 1, page 11.
The drill is equipped with an auxiliary handle assembly. For ease of operation, use the handle with either the left or right hand. The handle can be rotated 360°.
- Loosen the handle assembly by turning the handle counterclockwise.
- Slide the auxiliary handle assembly onto the hammer drill in the desired operating position.
- Securely tighten by turning the auxiliary handle clockwise.
NOTE: Be sure the auxiliary handle is securely tightened against the depth stop rod clamp. This secures the depth stop rod at the desired depth of cut. It also secures the auxiliary handle.
INSTALLING THE CHUCK KEY STRAP
See Figure 2, page 11.
Use the chuck key strap to store the chuck key when not in use.
To install:
- Form a loop by forcing the end of the strap with the round holes through the slot on the opposite end.
- Place the loop over the cord and pull it tight.
- Mount the chuck key by inserting the geared end through the hole in the holder. Large keys fit in the larger hole; smaller keys fit in the small hole.
OPERATION
WARNING:
Do not allow familiarity with products to make you careless. Remember that a careless fraction of a second is sufficient to inflict serious injury.
WARNING:
Always wear eye protection with side shields marked to comply with ANSI Z87.1. Failure to do so could result in objects being thrown into your eyes, resulting in possible serious injury.
WARNING:
Do not use any attachments or accessories not recommended by the manufacturer of this product. The use of attachments or accessories not recommended can result in serious personal injury.
APPLICATIONS
You may use this product for the purposes listed below: Drilling in all types of wood products (lumber, plywood, paneling, composition board, and hardboard) Drilling in ceramics, plastics, fiberglass, and laminates Drilling in metals Driving screws Hammer drilling in concrete, brick, or another masonry
CAUTION:
This drill is not intended to be used for mixing concrete, drywall, grout or other similar types of viscous mixtures. Failure to obey this caution could cause poor performance, and possible injury, and will void your warranty.
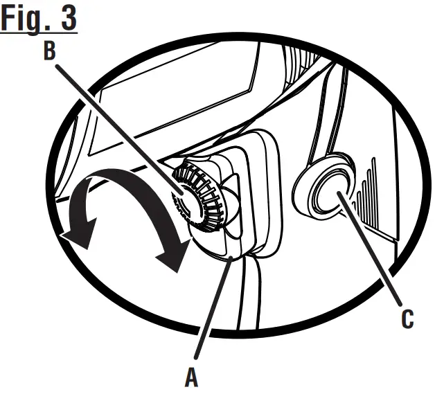
SWITCH TRIGGER
See Figure 3, page 11.
To turn the drill ON, depress the switch trigger. To turn it OFF, release the switch trigger.
VARIABLE SPEED
The variable speed dial delivers a higher speed by turning the variable speed dial clockwise. For slower speeds, turn the dial counterclockwise.
The variable speed switch delivers higher speed with increased trigger pressure and lower speed with decreased trigger pressure.
NOTE: You might hear a whistling or ringing noise from the switch during use. Do not be concerned; this is a normal part of the switch function.
LOCK-ON BUTTON
See Figure 3, page 11.
This drill is equipped with a lock-on feature, which is convenient for continuous drilling for extended periods of time.
To lock-on:
- Depress the switch trigger.
- Push in and hold the lock-on button, located on the side of the handle. Release the switch trigger.
- Release the lock-on button and the drill will continue running.
- To release the lock, depress and release the switch trigger.
- If the lock-on feature is engaged during use and the drill becomes disconnected from the power supply, disengage the lock-on feature immediately.
WARNING:
Before connecting the drill to a power supply source, always check to be sure it is not in a lock-on position (depress and release the switch trigger). Failure to ensure that it is not locked on could result in the accidental starting of the drill resulting in possible serious injury. Do not lock the switch trigger in applications where the drill may need to be suddenly stopped.
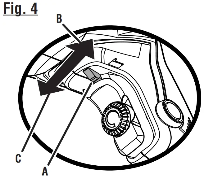
DIRECTION OF ROTATION SELECTOR
(FORWARD/REVERSE) See Figure 4, page 11.
The direction of bit rotation is reversible and is controlled by a selector located above the switch trigger. With the drill held in a normal operating position, the direction of the rotation selector should be positioned to the left of the switch trigger for forwarding drilling. The drilling direction is reversed when the selector is to the right of the switch trigger.
NOTICE:
To prevent gear damage, always allow the chuck to come to a complete stop before changing the direction of rotation.
To stop the drill, release the switch trigger and allow the chuck to come to a complete stop.
NOTE: The drill will not run unless the direction of the rotary selector is pushed fully to the left or right.
Avoid running the drill at low speeds for extended periods of time. Running at low speeds under constant usage may cause the drill to become overheated. If this occurs, cool the drill by running it without a load and at full speed.
TO INSTALL BITS
See Figures 5 – 6, pages 11 – 12.
- Unplug the drill. Insert the chuck key and twist counterclockwise.
- Open or close the chuck jaws to a point where the opening is slightly larger than the bit size you intend to use. Also, raise the front of the drill slightly to keep the bit from falling out of the chuck jaws.
- Insert the drill bit.
WARNING:
Make sure to insert the drill bit straight into the chuck jaws. Do not insert the drill bit into the chuck jaws at an angle then tighten, as shown in figure 6. This could cause the drill bit to be thrown from the drill, resulting in possible serious personal injury or damage to the chuck.
- Tighten the chuck jaws securely on the drill bit, using the chuck key provided.
- Remove the chuck key.
TO REMOVE BITS
See Figure 5, page 11.
- Unplug the drill.
- Loosen the chuck jaws using the chuck key provided.
- Remove the drill bit. Remove the chuck key.
USING THE AUXILIARY HANDLE ASSEMBLY
See Figure 7, page 12.
The drill is equipped with an auxiliary handle assembly. For ease of operation, use the handle with either the left or right hand. The handle can be rotated 360°.
To adjust the auxiliary handle assembly,
- Loosen the handle assembly by turning the handle counterclockwise.
- Rotate the auxiliary handle assembly to the desired operating position. Securely tighten by turning the auxiliary handle clockwise.
Be sure the auxiliary handle is securely tightened against the depth stop clamp. This secures the depth stop rod at the desired depth of cut. It also secures the auxiliary handle.
NOTE: For convenience and ease of starting threads, the hex nut has been trapped inside the molded slot in the auxiliary handle.
The depth stop rod helps control the depth of drilled holes.
NOTE: When properly installed, the teeth on the depth stop rod should be aligned with the teeth indicator on the depth stop clamp.
Adjust the depth stop rod so that the drill bit extends beyond the end of the rod to the required drilling depth.
When drilling holes with the depth stop rod installed, the desired hole depth has been reached when the end of the rod comes in contact with the surface of the workpiece.
SELECTING HAMMER MODE OR DRILLING MODE
See Figure 8, page 12.
To adjust for type of drilling, slide the selector on top of the motor housing to hammer mode or drilling mode. The hammer mode symbol is on the right and the drill bit symbol is on the left.
NOTE: The hammer drill has not been designed for reverse hammering.
Use carbide-tipped bits and select hammer mode when drilling in hard materials such as brick, tile, concrete, etc.
Select normal drill mode when drilling with twist drills, hole saws, etc., in soft materials.
DRILLING/DRIVING SCREWS
See Figure 9, page 12.
- Depress and release the switch trigger to be sure the drill is in the OFF position before connecting it to a power supply.
- Check the direction of the rotation selector for the correct setting (forward or reverse).
- Secure the material to be drilled in a vise or with clamps to keep it from turning as the drill bit rotates.
- Plug the drill into the power supply. Hold the drill firmly and place the bit at the point to be drilled, or where the screw is to be driven.
WARNING:
Do not drive a screw where there is likely to be hidden wiring behind the surface. Contact with a “live” wire will make exposed metal parts of the tool “live” and possibly shock the operator. If you must drive a screw where the hidden wire may be present, always hold the tool by insulated gripping surfaces (handle) when performing the operation to prevent a shock to the operator.
- Depress the switch trigger to start the drill.
- Move the drill bit into the workpiece, applying only enough pressure to keep the bit cutting or driving the screw. Do not force the drill or apply side pressure to elongate a hole. Let the tool do the work.
WARNING:
When drilling, be prepared for binding at bit breakthrough. When these situations occur, the drill has a tendency to grab and kick in the opposite direction and could cause a loss of control when breaking through material. If not prepared, this loss of control can result in possible serious injury.
- When drilling hard, smooth surfaces, use a center punch to mark the desired hole location. This will prevent the drill bit from slipping off-center as the hole is started.
- If the bit jams in the workpiece or if the drill stalls, stop the tool immediately. Remove the bit from the workpiece and determine the reason for jamming.
WOOD AND METAL DRILLING
For maximum performance, use high-speed steel bits for wood or metal drilling. Select drilling mode. Begin drilling at a very low speed to prevent the bit from slipping off the starting point
Wood Drilling
- Increase the speed as the drill bit bites into the material.
- When drilling through holes, place a block of wood behind the workpiece to prevent ragged or splintered edges on the backside of the hole.
Metal and Steel Drilling
- Use a light oil on the drill bit to keep it from overheating.
- The oil will prolong the life of the bit and increase the drilling action. Maintain a speed and pressure which allows cutting without overheating the bit. Applying too much pressure will:
- Overheat the drill;
- Wear the bearings;
- Bend or burn bits; and
- Produce off-center or irregular-shaped holes.
- When drilling large holes in metal, start with a small bit, then finish with a larger bit.
MASONRY DRILLING
For maximum performance, use carbide-tipped masonry impact bits or designated hammer drill bits when drilling holes in brick, tile, concrete, etc. Select hammer mode.
- Apply light pressure at medium speed for best results in brick.
- Apply additional pressure on hard materials such as concrete.
- When drilling holes in tile, practice on a scrap piece to determine the best speed and pressure. Begin drilling at a very low speed to prevent the bit from slipping off the starting point.
MAINTENANCE
WARNING:
Before inspecting, cleaning, or performing any maintenance, wait for all moving parts to stop and disconnect from the power supply. Failure to follow these instructions can result in death, serious personal injury, or property damage.
WARNING:
Always wear eye protection with side shields marked to comply with ANSI Z87.1. Failure to do so could result in objects being thrown into your eyes, resulting in possible serious injury.
WARNING:
When servicing, use only identical replacement parts. Use of any other parts could create a hazard or cause product damage.
GENERAL MAINTENANCE
Avoid using solvents when cleaning plastic parts. Most plastics are susceptible to damage from various types of commercial solvents and may be damaged by their use. Use clean cloths to remove dirt, dust, oil, grease, etc.
WARNING:
Do not at any time let brake fluids, gasoline, petroleum-based products, penetrating oils, etc., come in contact with plastic parts. Chemicals can damage, weaken or destroy plastic which could result in serious personal injury.
Electric tools used on fiberglass material, wallboard, spackling compounds, or plaster are subject to accelerated wear and possible premature failure because the fiberglass chips and grindings are highly abrasive to bearings, brushes, commutators, etc. Consequently, we do not recommend using this product for extended work on these types of materials. However, if you do work with any of these materials, it is extremely important to clean the product using compressed air.
LUBRICATION
All of the bearings in this product are lubricated with a sufficient amount of high-grade lubricant for the life of the unit under normal operating conditions. Therefore, no further lubrication is required.
POWER SUPPLY CORD REPLACEMENT
If replacement of the power supply cord is necessary, this must be done by an authorized service center in order to avoid a safety hazard.
CHUCK REMOVAL
See Figures 10 – 12, page 12.
The chuck may be removed and replaced with a new one.
- Unplug the drill.
- Open chuck jaws using the provided chuck key.
- Insert a 5/16 inch or larger hex key into the chuck of the drill and tighten the chuck jaws securely.
- Tap the hex key sharply with a mallet in a clockwise direction. This will loosen the screw in the chuck for easy removal.
- Open chuck jaws and remove the hex key. Remove the chuck screw with a screwdriver by turning it in a clockwise direction.
NOTE: The screw has left-hand threads. Insert the hex key into the chuck and tighten the chuck
jaws securely. Tap sharply with a mallet in a counterclockwise direction. This will loosen the chuck on the spindle. It can now be unscrewed by hand.
TO RETIGHTEN A LOOSE CHUCK
The chuck may become loose on the spindle and develop a wobble. Also, the chuck screw may become loose, causing the chuck jaws to bind and prevent them from closing.
To tighten:
- Unplug the drill.
- Open the chuck jaws.
- Insert the hex key into the chuck and tighten the chuck jaws securely.
- Tap the hex key sharply with a mallet in a clockwise direction.
- This will tighten the chuck on the spindle.
- Open the chuck jaws and remove the hex key.
- Tighten the chuck screw with a screwdriver.
NOTE: ILLUSTRATIONS START ON PAGE 11 AFTER THE FRENCH AND SPANISH LANGUAGE SECTIONS.
HD420/HD4201
A – Drilling/hammer mode selector
B – Depth stop rod
C – Chuck
D – Auxiliary handle assembly
E – Switch trigger
F – Direction of rotation selector
G – Lock-on button
H – Variable speed dial
I – Power cord
J – Chuck key
K – Chuck key strap 
A – Depth stop rod
B – Depth stop clamp
C – To tighten
D – To loosen
E – Notches
F – Tabs 

A – Switch trigger
B – Variable speed dial
C – Lock-on button 
A – Direction of rotation selector
B – Forward
C – Reverse 
RIGHT
A – Chuck key strap
B – To tighten
C – To loosen
D – Chuck key
E – Drill bit
F – Chuck jaws
G – Chuck 
WRONG 
A – Auxiliary handle assembly
B – To tighten
C – To loosen
D – 360° rotation
E – To increase drilling depth
F – To decrease drilling depth
G – Depth stop rod
H – Drilling depth 
A – Hammer mode
B – Drilling mode
C – Drilling/hammer mode selector 

A – Mallet
B – Chuck jaws
C – Hex key
D – Chuck 
A – Screwdriver 
A – Mallet
B – Hex key
OPERATOR’S MANUAL / 1/2 in. HAMMER DRILL
To request service, purchase replacement parts,
locate an Authorized Service Center and obtain Customer or Technical Support:
Visit www.ryobitools.com or call 1-800-525-2579
If any parts or accessories are damaged or missing, do not return this product to the store. Call 1-800-525-2579 for immediate service.
Please obtain your model and serial number from the product data plate.
This product is covered under a 3-year limited warranty. Proof of purchase is required.
MODEL NUMBER _______________
SERIAL NUMBER _________________
ONE WORLD TECHNOLOGIES, INC.
P.O. Box 1288, Anderson, SC 29622
Phone 1-800-525-2579
États-Unis, Téléphone 1-800-525-2579
USA, Teléfono 1-800-525-2579
www.ryobitools.com
990000163
3-1-21 (REV:07)






















