DOMETIC SPX1200I Climate Control Coolair Instruction Manual

Copyright
© 2023 Dometic Group. The visual appearance of the contents of this manual is protected by copyright and design law. The underlying technical design and the products contained herein may be protected by design, patent or be patent pending. The trademarks mentioned in this manual belong to Dometic Sweden AB. All rights are reserved.















1 Important notes
Please read these instructions carefully and follow all instructions, guidelines, and warnings included in this product manual in order to ensure that you install, use, and maintain the product properly at all times. These instructions MUST stay with this product. By using the product, you hereby confirm that you have read all instructions, guidelines, and warnings carefully and that you understand and agree to abide by the terms and conditions as set forth herein. You agree to use this product only for the intended purpose and application and in accordance with the instructions, guidelines, and warnings as set forth in this product manual as well as in accordance with all applicable laws and regulations. A failure to read and follow the instructions and warnings set forth herein may result in an injury to yourself and others, damage to your product or damage to other property in the vicinity. This product manual, including the instructions, guidelines, and warnings, and related documentation, may be subject to changes and updates. For up-to-date product information, please visit documents.dometic.com.
2 Explanation of symbols
DANGER! Indicates a hazardous situation that, if not avoided, will result in death or serious injury.
WARNING! Indicates a hazardous situation that, if not avoided, will result in death or serious injury.
CAUTION! Indicates a hazardous situation that, if not avoided, could result in minor or moderate injury.
NOTICE! Indicates a hazardous situation that, if not avoided, could result in minor or moderate injury.
Note Supplementary information for operating the product.
3 Safety Instructions
WARNING! Failure to obey these warnings could result in death or serious injury.
- Only use the parking cooler for the purpose specified by the manufacturer and do not make any alterations or structural changes to the device.
- Do not use the parking cooler if it is visibly damaged.
- Installation, maintenance and repair work may only be carried out by qualified personnel from a specialist company who are familiar with the risks involved and the relevant regulations.
- Do not use the parking cooler near flammable fluids and gases.
- Do not open the system in the event of a fire. Use approved extinguishing agents instead. Do not use water to extinguish fires.
- Disconnect all connections to the power supply when carrying out work on the device.
NOTICE! Indicates a situation that, if not avoided, can result in property damage.
- The freedom of movement of semi-trailers (of the outer edges of the semi-trailer when turning or jackknifing) and other vehicle attachments must not be restricted.
- Operating parking cooler with voltages other than those specified can result in damage to the devices.
- Do not operate the parking cooler if the ambient temperature is below 0 °C or above 52 °C. · se cable ducts to lay cables through walls with sharp edges.
- Do not lay loose or bent cables next to electrically conductive materials (metal).
- Do not pull on the cables.
- Attach and lay the cables in such a manner that they cannot be tripped over or damaged.
- The electrical power supply may only be connected by a specialist workshop.
- The connection to the vehicle’s electrical system should be protected as follows:
Power supply: 40 A
Voltage monitor: 2 A - Never lay power supply lines (battery leads) in the vicinity of signal or control cables.
4 Scope of delivery
Fig. 1 on page 1


5 Target Group
The mechanical and electrical installation and setup of the device must be performed by a qualified technician who has demonstrated skill and knowledge related to the construction and operation of automotive equipment and installations, and who is familiar with the applicable regulations of the country in which the equipment is to be installed and/or used, and has received safety training to identify and avoid the hazards involved.
6 Intended use
The CoolAir SPX 1200 parking cooler is designed for supplying the cab of a lorry with cooled and dehumidified air. It can be used while driving.
The CoolAir SPX 1200 parking cooler is not suitable for installation in agricultural machines and construction machines or similar equipment. It does not work properly in the event of strong vibrations and exposure to dust.
The CoolAir SPX 1200IC rear panel evaporator unit can only be operated in combination with a CoolAir SPX 1200C compressor unit. Both components together form the CoolAir SPX 1200 parking cooler.
This product is only suitable for the intended purpose and application in accordance with these instructions.
This manual provides information that is necessary for proper installation and/or operation of the product. Poor installation and/or improper operating or maintenance will result in unsatisfactory performance and a possible failure.
The manufacturer accepts no liability for any injury or damage to the product resulting from:
- Incorrect assembly or connection, including excess voltage
- Incorrect maintenance or use of spare parts other than original spare parts provided by the manufacturer
- Alterations to the product without express permission from the manufacturer
- Use for purposes other than those described in this manual
Dometic reserves the right to change product appearance and product specifications.
7 Installation
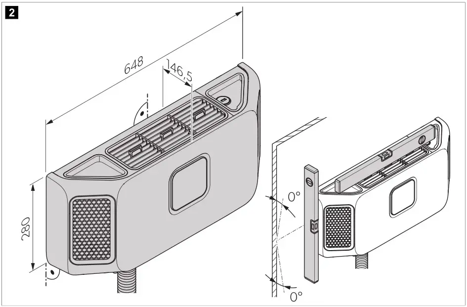
The evaporator unit must be installed in an upright position. Fig. 2 on page 2
The parking cooler consists of the following components:
- CoolAir SPX 1200C compressor unit (2)
- CoolAir SPX 1200IC rear panel evaporator unit (1) with connecting line (3)
Fig. 3 on page 2
The compressor unit (2) is attached to the firm and straight rear panel of the cab or by means of a firm fastening frame. The evaporator unit (1) is fitted on the inside of the rear panel of the cab.
Note
The connection line (3) can only be installed after fitting the evaporator unit and the compressor unit.
Notes on the installation
WARNING! Danger of electrocution
- Detach all connections to battery before starting the installation of the parking cooler.
- Ensure that all electrical components are electrically discharged before carrying out work on them.
CAUTION! Risk of injury
Improper installation of the air conditioning roof unit puts the safety of the user at risk and can result in irreparable damage to the device.
The manufacturer strongly recommends the use of a vehicle-specific fastening frame for an best installation procedure for the SPX 1200C compressor unit on the rear panel of the cab. Following installation of the unit, the specified unit software parameters must then be checked. Observe the following tips and information when installing the parking cooler:
- Consult the vehicle manufacturer on the following. Is the cab’s rear panel a suitable location for attaching the unit? Is the body designed to bear the static weight and loads occasioned by the parking cooler in a moving vehicle?
- Check the dimensions of the unit (Fig. 2).
- Always check before installation of the unit whether any vehicle components could be damaged, deformed or impaired in terms of their functionality as a result of the installation.
- Avoid any narrow radius when routing and bending supply lines. Use a suitable round object with a shim as a bending aid. A radius which is too narrow will kink the refrigerant line, and this will prevent the parking cooler from operating. Avoid any unnecessary and frequent mechanical stress to the supply line between the evaporator unit and the compressor unit. Damage can result in the loss of refrigerant and impair the performance of the unit.
Fig. 4 on page 3 - The supplied assembly parts must not be modified during installation.
- The ventilation slots (grille) may not be covered (minimum distance from other attachment parts: 10 cm).
- The device can be connected directly to the battery or via the lorry’s terminal block. The battery is preferred for the connection. On some vehicles larger consumers connected to the terminal block are switched off after a short while if the power requirement is too high. Ask your vehicle manufacturer for the specifications of the terminal block.
- Follow the vehicle manufacturer’s guidelines when installing the system and establishing the electrical connections.
- The device shall be installed in accordance with national wiring regulations.
Determining the installation position
The system’s installation position must meet the following criteria:
- All maintenance work must be easy to perform.
- Sufficient space must be available for the refrigerant line.
- The refrigerant line must be long enough (approx. 2.1 m) for connection of the condenser and evaporator unit. The line must not be routed under tension (Fig. 3).
- The fastening surface should be as flat as possible. Use spacer sleeves for uneven surfaces. If spacer sleeves are used, appropriately longer fastening screws with sufficient tensile strength (not included in the assembly set) must then be used.
Note
The fastening screws M6 x 40 mm included are designed for use with the spacer sleeves, l = 25 mm, (e.g. MAN TGX).
The fastening screws M6 x 110 mm included are designed for use with the spacer sleeves, l = 40 mm, (e.g. Volvo FH as of construction year 2013) (two spacer sleeves for each screw).
By combining the spacer sleeves, different distances between the rear wall of the cab and inner trim can be achieved.
The screw overhang beyond the nut must not exceed 15 mm.
If spacer sleeves are not to be used or if other ones are to be used, the fastening screws have to then be adapted to match them. Otherwise the device housing may be damaged.
Installing the evaporator unit
The evaporator unit is fitted horizontally on the cab’s rear panel, near the bunk.
NOTICE! Damage hazard
• Ensure that the drill template included is not upside down when positioned. You can position the drill template from the inside or from the outside onto the cab.
• Ensure that the following holes are used for the connecting and condensation line: From inside: Holes that bear the inscription “Inside” From outside: Holes that bear the inscription “Outside”
Find a suitable fastening position in the cab that allows sufficient air circulation.- Drill the holes for mounting the evaporator unit.
Fig. 5 on page 4 - Drill the hole for the connection line (Ø 50 mm).
Fig. 6 on page 5 - Drill the holes for the condensation line (Ø 18 mm).
NOTICE! Damage hazard
Ensure that the coupling halves with the copper pipes are not twisted or kinked.
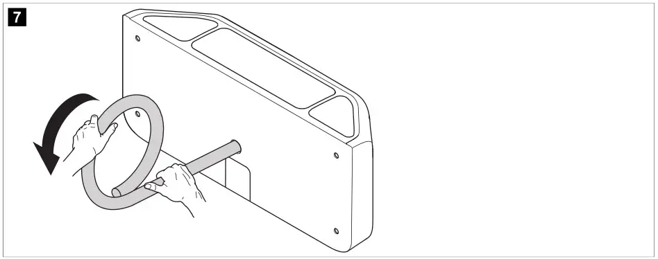
Carefully unwind the connection line.
Fig.7 on page 5- Fit the evaporator unit. Fig. on page 6
- Fasten the evaporator unit from the outside. Fig. on page 7
Sealing and attaching the hood
- Mount one clip. If you wish to avoid damaging the cab’s rear panel (drilling a hole), you can also fix the hood in place using a suitable adhesive. Observe the instructions provided by the adhesive manufacturer.
- Mount the hood. Fig. 10 on page 8
Routing the supply lines to the compressor unit
Observe the following notes when routing the supply lines:
- The installation manual for the SPX 1200C compressor unit should also be observed.
- Mount the SPX 1200C compressor unit first to enable the exact position of the compressor unit to be determined. This will save you bending the copper pipe several times to make it fit.
- Ensure that the maximum length of the supply lines does not exceed 2.1 m.
- To avoid damaging the cab’s rear panel fix the clip in place using a suitable adhesive. Observe the instructions provided by the adhesive manufacturer.
- Shorten any supply line which is not needed by bending a curve.
- Fasten the supply lines to the cab’s rear panel using the clips.
Fig. 11 on page 9
Connecting the compressor unit to the evaporator unit
- Route the connection cable in a curve out through the opening in the floor of the compressor unit.
- Fasten the connection cable as shown.
Fig. 12 on page 10
Fig. 13 on page 11
Installing the electrical connection lines
- Connect the unit directly to the battery.
Ask your vehicle manufacturer for the specifications of the battery. - Route the power supply lead as illustrated.
Fig. 14 on page 12
a) Run the wiring loom to the battery along a route where it is protected.
b) Connect the negative lead (black) for the power supply.
c) Connect the negative lead (black) for the voltage monitor.
d) Connect the positive lead (red) for the power supply via a 40 A fuse.
e) Connect the positive lead (red) for the voltage monitor via a 2 A fuse.
8 Configuration
Before the system is first put into operation, the control unit settings can be adjusted to suit the various installation conditions Fig. 15. Those adjustments must be made by the installer.
The configuration mode can still be activated if the low voltage cut-out has switched off the system and only residual voltage is available. Fig. 15 on page 13

Using the configuration mode

P.01: Low voltage shut-down
The battery monitor protects the battery against discharging excessively.
If the unit is switched off by the battery monitor, it means the battery charge level is low. Avoid repeated starting or using electrical equipment. Ensure that the battery is recharged. As soon as the required voltage is available again, the system can be operated again.
If only the power supply voltage specified here is available to the parking cooler, the system is switched off.

P.02: Unit for temperature display

P.05: Tilt sensor
The electronics of the system prevents that the system is switched on when the vehicle is parked at a slope. Since some vehicles` roof already is tilted, the tilt sensor has to be calibrated to the zero setting before first use.


9 Technical data


![]()
YOUR LOCAL DEALER
dometic.com/dealer
YOUR LOCAL SUPPORT
dometic.com/contact
YOUR LOCAL SALES OFFICE
dometic.com/sales-offices
A complete list of Dometic companies, which comprise the Dometic Group, can be found in the public filings of:
DOMETICGROUPAB • Hemvarnsgatan 75 • SE-l7754Solna • Sweden


















