Qlima R 4224S TC-2 Petroleum Heater User Manual
Dear Sir, Madam,
Congratulations on your purchase of this heater. You have purchased a quality product, which will serve you for many years to come. This, of course, provided you use the heater correctly. Please read these Directions for Use first, to ensure the maximum lifetime for your heater.
This appliance comes with a 48-month manufacturer’s warranty on all defects in material or workmanship.
We wish you much warmth and comfort from your heater.
Yours sincerely,
PVG Holding b.v.
Customer Service Department
GENERAL DIRECTIONS FOR USE
Below you will find the main steps to be taken for using your heater. For more details, please refer to the MANUAL (pages 78 ff.).
- Remove all packaging materials (refer to Section A, Fig. A).
- Fill the removable tank I and wait 180 minutes before you ignite the heater (refer to Section B, Fig. I).
- Insert the batteries into the battery holder K (refer to Section A, Fig. G).
- Check whether the combustion chamber D is fully upright (refer to Section A, Fig. F).
- Ignite the heater by turning the knurled wick adjustment knob 2 as far to the right as possible. Lightly press the ignition button 3 down to ignite the heater. (refer to Section C, Fig. K and L).
- After igniting the heater it will take 10 to 15 minutes before you can check if the heater burns well (refer to Section D).
- Switch off the heater (refer to Section E)
- As a fire precaution, the tank must be filled either when the heater has been switched off or in another room than the room where the heater is installed.
- Always ensure that the tank is closed properly after filling it at a safe distance from all sources of heat and open flames (see chapter B).
- Store all fuel containers with their original caps and seals in a cool and dark place.
- Fuel ages. Use new fuel at the start of every heating season.
- The use of Qlima Premium Quality Fuels as a heating fuel assures you that you have a good quality fuel.
- Before changing brands and/or types of fuel make sure that the mobile heater first completely empties all of the remaining fuel inside the heater.
MAIN COMPONENTS
- OFF – button
- Knurled wick adjustment knob
- Ignition button
- Combustion chamber
- Combustion chamber handle
- Fuel indicator
- Grill
- Lid for removable tank
- Removable tank
- Fuel gauge
- removable tank
- Battery holder
- Handle
- Cabinet
SAFETY INSTRUCTIONS
Read Safety Precautions Before Operation and Installation.
To prevent death or injury to the user or other people and property damage, the following instructions must be followed. Incorrect operation due to ignoring of instructions may cause death, harm or damage.
Read this manual carefully before installing or operating your heater. Make sure to save this manual for future reference
Explanation of the words/symbols of warning, caution, danger
WARNING | indicates that improper handling could have dramatic consequences like death, serious injury, etc. |
CAUTION | might pose a serious problem, depending on the circumstances. Please observe these precautions with great care, since they are essential to your safe |
DANGER | indicates that wrongfully operating will most definitely result in a hazardous/life threatening situation. |
The appliance shall be installed and operated in accordance with national and local legislation and European union standards.
WARNING
- This appliance is not intended for use by persons (including children) with reduced physical, sensory or mental capabilities, or lack of experience and knowledge, unless they have been given supervision or instruction concerning use of the appliance by a person responsible for their safety.
- Children should be supervised to ensure that they do not play with the appliance.
- This appliance is intended to be used by expert or trained users in shops, in light industry and on farms, or for commercial use by lay persons.
- lf an abnormal situation arises (like a burning smell), immediately turn off the unit and disconnect the power. Call your dealer for instructions to avoid electric shock, fire or injury.
WHAT YOU NEED TO KNOW IN ADVANCE
ALWAYS MAKE SURE THAT THERE IS SUFFICIENT VENTILATION
This device is fitted with a security system that stops it when the temperature in the room is too high. When the heater has switched off (manually or automatically) it may not be restarted for 15 minutes. In order to prevent damage to the device, please do not force the ignition of the heater during this period. This heater is equipped with an air quality control system N. When there is insufficient ventilation in the room or when the heater is being used in a room which is too small, the heater will shut off automatically. For comfortable and safe heating ensure that there is sufficient ventilation.
Note: To avoid unexpected shut off, we recommend to put a door or window ajar when the heater is operating. Read this user manual carefully before using the appliance and keep it for future reference. Install this device only when it complies with local/national legislation, ordinances and standards. This product is intended to be used as a heater in residential houses and is only suitable for use in dry locations, in normal household conditions, indoors in living room, kitchen and garage.
Regardless of the model, you must always make sure that the heater is used in a room large enough to enable the heater to be used safely without extra ventilation. If the room is smaller than required, you must always open a door or window slightly (ensuring an opening of approx. 2.5 cm). It is important that every room where the heater is used has sufficient air intake and efficient air outflow (both openings must have a minimum cross section of 50 cm2 ). No modifications to the safety system are allowed, as that will invalidate the guarantee that the air probe 4 will work properly. Consult your dealer in case of doubt.
SAFETY WARNING
![]()
- Each room in which the mobile liquid fuel heater is used must be fitted with a sufficient air inlet and efficient air outlet (minimum cross-section of 50 cm² for each port).
- Avoid any contact with the grill which may be very hot.
- For heaters with electrical power supply: “If the power supply cable for this heater is damaged, its replacement must be carried out by the manufacturer or by a repair workshop recognised by the importer, to avoid any danger.
- This mobile liquid fuel heater is an auxiliary space heater for intermittent operation.
FUEL WARNING
Especially for France: Your heater was designed to operate exclusively on fuel for liquid fuel-operated mobile heaters in accordance with the Decrees of 18-07-2002 and 25-06-2010. The use of other fuels is forbidden. Ask your dealer or check our website for the addresses of our retailers. The liquid fuel-operated mobile heater is intended as an extra heater, and not as a continuous source of heat.
Especially for United Kingdom: Only use Class C1 paraffin fuel in accordance with BS2869; Part 2, or equivalent.
SAFETY SYSTEM
When you have turned on the heater, if the room temperature is relatively low (19 to 20°C) it may automatically switch off. The cause of this is build-up of heat in the heater. This is a logical consequence of the safety mechanism. This will not occur when using the heater at lower ambient temperatures.
SAFE TOP
The heater is supplied with a safe top. This application decreases the temperature of the top plate. In this way, the risk of harmful accidents at accidentally touching the top plate is considerably decreased. However, be aware that the top plate still becomes hot.
Avoid any contact with the top plate and grille.
The user must comply with the following instructions for proper use:
DO NOT
- use the liquid fuel-operated mobile heater in caravans, boats, and vehicle cabins;
- use the liquid fuel-operated mobile heater in insufficiently ventilated rooms(consult the table of properties for the minimum dimensions of the room to be heated), underground rooms and / or at a height of over 1500 metres;
- modify the heater safety features
This type of heater must only be used in public reception rooms if the regulatory procedure has been followed. The user must inform himself of this procedure before use.
THE RIGHT FUEL
Your heater has been designed for use with high-quality water-free pure paraffin oil like Qlima Premium Quality Fuels. Only fuels of this kind will ensure clean and proper burning. Lower quality fuel may result in:
- excessive tar deposits on the glass fibre wick
- incomplete burning
- reduced heater lifetime
- smoke and/or smells
- deposits on the grid or mantle
Using the right fuel is therefore essential for safe, efficient, and comfortable use of your heater.
Only the use of the correct fuel will ensure safe, efficient, and comfortable use of your heater
Damage and/or malfunctions of the heater due to the use of other than high quality water-free pure paraffin oil is not covered by the warranty.
Always refer to your local dealer for the right fuel for your heater.
MANUAL
INSTALLING THE HEATER
- Carefully remove your heater from the box and check the contents. In addition to the heater you also need to have:
- a transportation cap
- these directions for use
- a manual fuel pump

Keep the box and the packaging materials (Fig. A) for storage and/or transportation.
- Remove the other packaging materials:
- Release the right side of the grill. Lift the grill from the slot (Fig. B) and pull it forward.
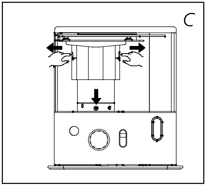
- Pull both ends of the packaging to the sides and at the same time slightly downwards (see Fig. C).
- Remove the combustion chamber from the heater and remove the packaging underneath (see Fig. D).
- Put the combustion chamber back into its place. The combustion chamber is positioned correctly when it can be smoothly moved a little to the left and to the right by its handle E (Fig. F). Close the grill: Slightly lift it to reposition it in its slot.
- Open the lid of the removable tank 8 and remove the piece of polyfoam.


- Fill the removable tank as indicated in Section B.
- Insert the batteries into their holder K at the back of the heater (Fig. G). Ensure that the positive and negative poles match the + and – marks indicated on the battery housing. Close the battery cover.
- Do not mix the + and the – pole
- Do NOT recharge non rechargeable batteries! 4
- Do NOT mix different types and brands of batteries, do NOT mix old and new batteries.
- If the appliance is stored or not used for a longer period: always remove the batteries
- Do NOT short circuit the electrical power supply terminals
- To remove the batteries: simply remove them from the battery enclosure

- The floor should be firm and completely level. Reposition the heater, when it is not level. Do not correct the situation by placing books or other goods under the heater. Please refer to the separate instructions in the carton box for fixing of the heater.
- Your heater is now ready for use.

FILLING FUEL
Fill the removable tank in a suitable place since there can always be some spillage. Follow the procedure below:
- Make sure that the heater is switched off.

- Open the upper lid and lift the removable tank out of the heater (Fig. H).
Note: Some drops may leak from the tank. Put down the removable tank (cap pointing upwards, handle on floor and screw off the fuel cap. - Fill the removable tank using a fuel pump (refer to fuel pump operation instructions.) Make sure that it is in a higher position than the removable tank (Fig. I). Insert the ribbed hose into the opening of the removable tank.

- Check the removable tank fuel gauge while filling the tank (Fig. J). Stop filling once the gauge indicates that the tank is full. Never overfill the tank, especially not when the fuel is very cold (fuel expands when it heats up).
- Let the remaining fuel in the pump flow back into the jerry can and carefully remove the pump. Carefully screw the fuel cap back on the tank. Clean off any spilled fuel.
- Check whether the fuel cap is straight and tightened properly. Reinstall the removable tank in the heater (cap down). Close the lid.

IGNITING THE HEATER
A new heater may give off some smells for a short while, when it is used for the first time. You should therefore provide extra ventilation or ignite the heater outside the living room.
When you use the heater for the first time, first put the filled removable tank into place, and then wait approximately 3 hours before you ignite the heater. This allows the glass fibre wick to soak up the fuel. Follow the same procedure when you have completely burnt up all fuel from the tank, and after the glass fibre wick has been replaced.
Before igniting the heater, always check the fuel indicator F to see whether the removable tank needs filling up.
Always ignite the heater with the ignition mechanism. Never use matches or a cigarette lighter.
Follow the procedure below:
- Turn the knurled wick adjustment knob 2 clockwise to its stop (Fig. K).

- Press the ignition button down 3 (Fig. L), but do not apply too much force. Release the ignition button as soon as a flame is visible in the combustion chamber D.

After having ignited the heater, always check whether the combustion chamber D is level, by sliding it slightly to the left and the right by its handle E (Fig. F). This should be a smooth movement. If the combustion chamber is not level, this will cause smoke and soot to develop.
BURNING OF THE HEATER
After you have ignited the heater, it will take 10 to 15 minutes before you can check whether the heater is burning well. Too high a flame may cause smoke and soot, whereas too low a flame causes smells. Fig. Q shows the minimum and maximum permissible burning heights of the flame. The flame can be slightly adjusted with the knurled wick adjustment knob B (Fig. M).
Burning that is too low may be caused by:
- insufficient fuel (fill the tank)
- poor fuel quality (contact your dealer)
- insufficient ventilation (put window or door ajar)
- wastage of the wick (contact your dealer or replace the wick, refer to section L
SWITCHING OFF THE HEATER
Push the OFF-button A. The flame will extinguish after a little while (Fig. N)
MALFUNCTION, CAUSES AND SOLUTIONS
If any malfunctioning cannot be solved from the directions below, please contact your dealer.
THE HEATER DOES NOT IGNITE
- The batteries are not positioned correctly in the holder. Check (Fig. G).

- There is not enough power left in the batteries for the ignition. Replace (Fig. G).

- You have run out of fuel from the tank or the wick has been replaced.
After having refilled and replaced the removable tank, wait for 180 minutes before igniting the heater. - You are pushing the ignition button C with too much force. Push it in less forcefully (Section C).
IRREGULAR FLAME AND/OR SOOT AND/OR SMELLS
- Use the handle E to put it level, until you can easily slide it slightly to the left and to the right and the chamber is level.
- You are using fuel which is past its ‘use by’ date. Start every heating season with fresh fuel.
- You are using the incorrect type of fuel. Refer to THE RIGHT FUEL (See Section ’What you need to know in advance’).
- Dust has gathered in the lower part of the heater. Contact your dealer.
- The wick height is not correct. Contact your dealer.
THE HEATER SLOWLY EXTINGUISHES
- The removable tank is empty. See Section B.
- The lower reservoir is contaminated by moist. Contact your dealer.
- The wick has hardened on the upper side. Burn the heater until all fuel is used (Section G). Use the right fuel.
- You are using fuel which is past its ‘use by’ date. Start every heating season with fresh fuel.
THE HEATER REMAINS BURNING LOW
- Wick position too low. Contact your dealer.
- Before you refilled the tank, the heater had burnt up almost all the fuel. After having refilled and replaced the removable tank, wait for 180 minutes before igniting the heater.
- You are using the incorrect type of fuel. Refer to THE RIGHT FUEL (See Section ’What you need to know in advance’).
- The room is insufficiently ventilated. Leave a window or a door wide open for a while.
THE HEATER IS BURNING TOO HIGH
- THE HEATER IS BURNING TOO HIGH
- You are using an incorrect, too volatile type of fuel. Refer to THE RIGHT FUEL (See Section ’What you need to know in advance’).
- Wick position too high. Contact your dealer.
MAINTENANCE
Your heater needs hardly any maintenance. It is, however, important that you remove dust and stains in time with a damp cloth, because otherwise these may cause stains that are hard to remove. Under normal conditions, only 2 components are subject to wear:
THE BATTERIES TYPE C (R14)
You may replace the batteries yourself. Do not dispose of old batteries along with the other domestic waste. Follow the locally applicable regulations regarding the disposal of domestic chemical waste. Do not throw batteries into the fire, where they can explode or release dangerous liquids. If the appliance is to be stored or unused for a long period, the batteries should be removed from the appliance.
THE WICK
To extend the glass fibre wick life, you must occasionally let the heater burn until the tank is completely emptied and the heater extinguishes by itself. Do this when you notice that the flame is weakening. The burn-out will cause some smells, so it is recommended that you take the heater outside of the living room
Do not remove any heater components yourself. Always contact your dealer for repairs.
Let the heater cool down first, before you start any maintenance or service work.
STORAGE (END OF THE HEATING SEASON)
We recommend that you burn up all the fuel in the fuel tank at the end of the heating season and store the heater properly. Follow the procedure on the next page:
- Ignite the heater outside the living room and let it burn until all fuel is used.
- Let the heater cool down.
- Clean the heater with a damp cloth and then dry it with a dry cloth.
- Remove the batteries from the holder K and store them in a dry place.
- Clean the fuel filter.
- Store the heater in a dust-free place, if possible in its original packaging. Unused fuel cannot be used for the next heating season. If there is still some fuel left, do not throw it away, but dispose of it in accordance with the local regulations for the disposal of domestic chemical waste. Always start the new heating season with fresh fuel. When you start re-using the heater, follow the instructions again (starting from Section A and as specified).
TRANSPORTATION
Take the following measures to avoid fuel leakage during the transportation of the heater:
- Let the heater cool down.
- Remove the removable tank I from the heater and remove the fuel filter. Some drops may leak from the filter; keep a cloth at hand. Store the fuel filter and the removable tank outside the heater.
- Place the transportation cap (Fig. O) into the position of the fuel filter. Press it tight. The transportation cap will, as much as possible, prevent oil leakage from the heater during transport.
transportation cap
- Always move the heater in an upright position.
- Make the fixed tank empty with a fuel pump before transportation or in case of wrong or dirty fuel. First remove the fuel filter and then insert the fuel pump into the empty fixed tank. Follow the same procedure if the fuel tank contains water.
SPECIFICATIONS

| R4224STC-2 | I R7227STC-2 | |
| Ignition | electrical | |
| Fuel | paraffin | |
| Capacity (kW)* | 2.4 | 2.7 |
| Suitable space (m3)** | 40-85 | 45-95 |
| Fuel consumption (I/hr)* | 0.250 | 0.281 |
| Fuel consumption (g/hr)* | 200 | 225 |
| Burning time per tank (hr)* | 16.8 | 15.0 |
| Capacity removable tank (litres) | 4.2 | 4.2 |
| Weight (kg) | 8.6 | 8.7 |
| Dimensions (mm) (including base plate) | width 455 | |
| depth 295 | ||
| height 495 | ||
| Required batteries | 6V D.C. (R14 x 4) | |
| Wick type | 0 | |
- At maximum setting
- Specified values are indicative
WARRANTY PROVISIONS
Your heater comes with a 48-month warranty starting on the date of purchase. Within this period all defects in material or workmanship will be repaired without any charge. The following provisions shall apply regarding this warranty:

- We expressly dismiss all other claims for damages, including consequential damages.
- Any repairs or replacements of components within the term of warranty will not result in an extension of the term of warranty.
- The warranty will no longer apply, when the heater has been modified, non-original parts have been used, or when it is repaired by third parties.
- The warranty will not apply to parts that are subject to normal wear, such as the batteries, the wick and the manual fuel pump. See for the complete list of parts excluded from warranty on Qlima.com/warranty.
- The warranty will only apply, when you present the original, dated proof of purchase, provided no changes have been made to it.
- The use of correct fuel is crucial for the correct working of the heater. The warranty shall not apply to damages caused by actions not in compliance with the Directions for Use, neglect, and the use of an incorrect type of fuel, or fuel past its use-by date. The use of incorrect fuel can even be dangerous*, please refer to the chapter ‘the right fuel’.
- Transportation costs and the risks involved during the transportation of the heater or heater components will always be the responsibility of the purchaser.
In order to avoid unnecessary costs, we recommend that you always read the ’Directions for Use’ carefully first. In case they offer no solution, please take the heater to your dealer for repair.
Highly inflammable substances may induce uncontrollable burning, causing flames to break out. Should this happen, never try to move the heater, but always switch off the heater immediately (refer to Section E). In cases of emergency you may use a fire extinguisher, but only a type B extinguisher: a carbon dioxide or powder extinguisher.
REPLACEMENT OF THE WICK
ENSURE THAT THE HEATER IS OFF AND COMPLETELY COOL BEFORE STARTING TO REPLACE THE WICK.
- Open the tank cover and remove the fuel tank .

- 1b. Remove the batteries to prevent possible burns.
- 1c. Open the front grille and remove the combustion chamber 4.
- 1d. Remove the wick adjuster 2 and ignition button 3 by pulling it straight out.
- 2a. Unscrew the 5 screws, 1 from the back and 2 from the right side and 2 from the left side of the cabinet.
- 2b. Remove the sensor at the back side of the cabinet.
- Remove the cabinet by pulling it straight up.
- Remove the 1 screw on the wind cover A/B.

- 5a. Remove the connector (1EA) from the ignitor.

- 5b. Remove the tip-over safety switch by unscrewing 1 screw.

- 5c. Remove the 3 connectors (3EA) from the printplate.

- Unscrew 4 wing nuts.

- Remove the wick adjuster assembly.

- Press the pin of the wick which is assembled inside the wick case assembly. Disassemble the wick, the wick holder, the wick case assembly seperately.

- Install the new wick and insert the three pins on the new wick into the 3 holes on the wick sleeve in the upward direction (See the arrow marked “up” on the wick sleeve).

- Push the new wick into the retainer teeth of the wick sleeve so that the wick adheres tightly around the inside of the wick sleeve, smoothing out any wrinkles.

- Line up the pins with the slotted holes inside the wick adjuster. Then lightly press each of the three pins of the wick (now attached to the wick sleeve) towards the inside. Insert the three pins into the slanted grooves of the wick adjuster. Press on each of the three pins, inserting them securely in the holes.

- Turn the wick adjustment knob 2 and check to be sure that the wick moves up and down freely.

- Slide the wick adjuster assembly down the draft tube. Position the adjuster shaft to the front of the heater.

- Snug 4 wing nuts on the mounting stud, but do not tighthen them.

- Raise the wick to its highest position and tighten the wing nuts in several steps.

- Check the wick height. It should be 5/16 above the collar.
- Check for the correct clearance between wick holder and draft tube. It should be the same all around.

- Reinstall the tip-over switch assembly by pushing the extinguish knob 1.

- Remove the connector (1EA) from the ignitor.

- Check the function of the tip-over safety stop by pushing the extinguish button 1 to upset the pendulum.

- Reinstall the automatic ignition assembly.

- Reinstall the wind cover A / B.

- Reinstall the cabinet N.

- Tighten the 5 screws on the cabinet and reinstall the sensor at the back of the cabinet N.

- Reinstall the combustion chamber 4 and the fuel tank 9.

- Reinstall the wick adjusting knob 2 and ignition button 3. Close the front plate.


Product Description


WARNING
CAUTION
DANGER


















