TeachLogic IMA-232 Receiver Amplifier

Getting to Know Your Sound System
Make note of the location of the speakers and ceiling sensor in your classroom. Ensure that you have unpacked and charged your battery-powered microphones. Keep this guide handy for future reference.
Please note that some amplifier/receiver controls will differ. Refer to their markings, user manual, or our teachlogic.com for more information on their function.
USING THE AMPLIFIER
- Power & Status Indicator
- Red: OFF
- Blue: ON and activated
- Amber: STANDBY
- Mic Channels/Volume Controls
- Greenlight: Microphone on and connected to channel
- No light: Microphone is not on; and/or sensor is not plugged in; and/or sensor is not receiving mic signal
- Input Volume Controls
- Controls volume of connected external devices
- Input Jack and Volume Control
- Connects additional external devices to the system (ex. iPhone or mp3 player)
- Output Volume Control and Output Jack
- Connects devices for recording lessons
- Use one input + one output to connect to a computer for video conferencing

USING THE SAPPHIRE PENDANT MICROPHONE
- Power button and status indicator
- Solid Red: OFF
- Solid Blue: ON
- Solid Purple: External devices quieted
- Mute microphone: Briefly press the power button once (flashing blue). Unmute microphone: Briefly press power button again (solid blue).
- Aux Input: Connects devices (like music player) to microphone.
- Priority Switch: Changes volume of devices plugged into amp inputs
- To increase/decrease volume level: Slide button up or down
- To immediately quiet the volume level of the external device: Push button once
- To resume volume level of external device: Push the button again
- Gain Switch
- There are 3 levels to adjust your microphone volume: Normal | -3 dB | -6 dB
You may increase/reduce the volume to accommodate changes in room noise. •
- There are 3 levels to adjust your microphone volume: Normal | -3 dB | -6 dB
- USB Charge Port (found on the bottom of the mic)

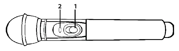
USING THE HANDHELD MICROPHONE
- ON/OFF switch
- Battery Level Indicator
- Green: Charged
- Red: Low battery
- Flashing Red: Batteries need replacement or wrong batteries installed.

SETTING UP THE MICROPHONES
- Power ON the amp by pressing the power button. The power button will illuminate solid blue when powered ON.
- Set the CH A and CH B volume controls to the 12 o’clock position.

- Sapphire Mic: Connect the lanyard to the metal clip and place it around neck. Adjust lanyard so the top of the mic sits on your collar bone. Set the gain switch on the side:
- If the room is noisy: set at “Normal”
- If the room is quiet: set at “-6 dB”

- Turn “ON” the Sapphire via the front switch; push and hold until light turns on (takes about 3 seconds).

- On the amp, check to confirm that the LED next to CH A volume control is illuminated green, indicating IR signal is being received.

- Have another person move around the room while you are talking to verify the volume level is sufficient in each student seating location.

- Have the other person give you a thumbs up/down and adjust the amplifier volume level accordingly until you reach the ideal level.

- While talking, walk around the room to ensure you have reception without feedback.
- Handheld Mic: Repeat this process using CH B to set the ideal volume level.

CHARGING THE MICROPHONES
Charger Status Indicator
- Blue: ON
- Red: Battery charging
- Green: Charging complete
- Ensure your microphone is fully charged before its initial use.
- Charging takes approx 6-8 hrs.
- The battery typically lasts 8-9 hrs.

WHEN REPLACING BATTERIES IN THE HANDHELD MIC, ALWAYS REPLACE IN PAIRS. ONLY USE RECHARGEABLE BATTERIES!
Do not force mics into the cradle. Ensure that both the charger and Sapphire are aligned in the same direction facing front as shown.
TROUBLESHOOTING
The system is turned on but there is no LED indicator light
- Check if system has been unplugged.
- Verify that the electrical outlet is generating power.
System has power (LED indicator blue) but no sound
- Make sure the microphone is on.
- Ensure the mic signal indicator light is illuminated green.
- Ensure the ceiling sensor LED is green. If not, the sensor is not receiving power.
Voice is distorted or sound drops
- Ensure there’s nothing between the mic and ceiling sensor (mics will not work if placed in pockets, for example).
- Battery charge level may be low. Charge and retest.
Hum is heard w/computer plugged into Comp/Aux input
Locate the “COMP ANTI-HUM” switch on the back panel of the amp and slide to “ON”.
The receiver does not “wake up” from standby
- Volume of the external device too low when played
- Microphone not on or not working properly





























