FISHER PAYKEL DW24UI Stainless Steel Door Panel

IMPORTANT!
- This guide is provided to assist in safely installing this accessory door panel to the dishwasher.
- For more information, refer to the Installation Guide supplied with your dishwasher.
- Handles are not supplied with this kit and can be purchased separately through an authorized Fisher & Paykel dealer.
Installations
The selected handle must be fitted to the panel prior to installation onto the product.
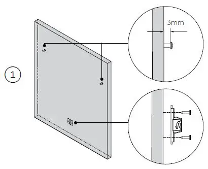
ADA DOOR PANEL (82085)
FIX SLIDER BRACKET
Top screw detail
(between panel and screw head)
Fix the slider bracket to the panel through the lower pilot holes.
HANG DOOR PANEL
Close the door of the dishwasher and align the screws of the accessory panel into the lower keyhole of the dishwasher door.
ALIGN DOOR PANEL
Slide the custom panel up so that the top of the door panel is flush with the control panel. The panel can only slide upwards and can be lifted off and reinstalled if required.
SECURE DOOR PANEL
Open the door and remove the four screws and replace with Ø3.9 x 1 1/2” (38mm) screws to fix the panel into place.
CHECK DOOR BALANCE
- Check the door balance by opening and closing the door.
- If the door drops when released, increase the tension.
- If the door rises when released, decrease the tension.

Before installing the standard (tall) door panel, an infill bracket must be attached as a cosmetic feature to fill the gap between the top of the dishwasher and the underside of the cabinet top. The infill bracket is not needed for cabinets using ADA door panels.
STANDARD (TALL) DOOR PANEL (82084)
The selected handle must be fitted to the panel prior to installation onto the product.
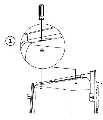
REMOVE HOLE PLUGS
- Open the door.
- Push a small screwdriver downward through the screw hole from the top of the appliance to remove the plastic plug.
- Do not install the mounting bracket!

INSTALL INFILL BRACKET
- Remove two screws pre-installed from the infill bracket.
- Use the same screws to attach the bracket to the top of the appliance. Do not tighten fully.

ALIGN AND SECURE DOOR PANEL
- Fix slider bracket (See step 1 of ADA door panel)
- Hang door panel (See step 2 of ADA door panel)
- Align door panel Slide the standard door panel up so that the distance between the top of the door panel and control panel is 1.65” (42mm). The panel can only slide upwards and can be lifted off and reinstalled if required.
- Check door balance (See step 4 of ADA door panel)
- Secure door panel (See step 5 of ADA door panel)

ALIGN DISHWASHER IN CABINETRY
- Push the appliance into the cabinetry. Ensure the infill bracket do not hit the top of the cabinet while pushing.
- Slide the side wings of the bracket outward to cover the hollow space.
- Hand tighten the two screws for the infill bracket and reinstall the hole plugs.

























