NS100
Night Vision Monocular
User Manual

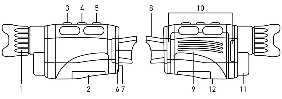
- Focusing wheel
- USB and microSD slots
- IR UP button
- IR DOWN button
- SHOT button
- POWER button
- MENU/MODE button
- Eyepiece
- Battery compartment
- Strap hooks
- IR filter
- Tripod adapter
Ermenrich NS100 Night Vision Monocular
Never, under any circumstances, look directly at the Sun, another bright source of light, or at a laser through this device, as it may cause PERMANENT RETINAL DAMAGE and may lead to BLINDNESS.
Specifications
| Zoom, x | 1–5 |
| Observation distance, m | 500–1000 (in complete darkness), 3~∞ (in weak light) |
| Tripod adapter thread | 1/4″ |
| Operating temperature range, °C/°F | −20…+60 (operating), −30…+70 (storage)/−4…+140 (operating), −22…+158 (storage) |
| IR-illumination | IR LEDs 3W (7 brightness levels) |
| Power supply | 5 alkaline AA batteries (not included) |
| Storage | class 10, microSD up to 128GB |
| Image format and resolution | JPG; 10M/8M/5M/3M/VGA |
| Video format and resolution | AVI; 1920x1080px@30fps, 1280x720px@30fps |
The manufacturer reserves the right to make changes to the product range and specifications without prior notice.
Cleaning and precautions
Do not expose the device to direct sunlight — that could cause a fire!
Do not scratch or touch the optical surfaces with your fingers.
Remove the batteries before cleaning the device! Use only dry, lint-free cloths to wipe the outer parts of the device. Do not use cleaning fluid to avoid electronic damage. To avoid scratching the lenses, only use a soft cloth and do not press too hard.
Keep the device away from dust and water. Keep the device in a bag or a box. Remove the batteries from the device if it has not been used for a long time.
Battery safety instructions
- Always purchase the correct size and grade of battery most suitable for the intended use.
- Always replace the whole set of batteries at one time; taking care not to mix old and new ones or batteries of different types.
- Clean the battery contacts and also those of the device prior to battery installation.
- Make sure the batteries are installed correctly with regard to polarity (+ and –).
- Remove batteries from equipment that is not to be used for an extended period of time.
- Remove used batteries promptly.
- Never short-circuit batteries as this may lead to high temperatures, leakage, or explosion.
- Never heat batteries in order to revive them.
- Do not disassemble batteries.
- Remember to switch off devices after use.
- Keep batteries out of the reach of children, to avoid the risk of ingestion, suffocation, or poisoning.
- Utilize used batteries as prescribed by your country’s laws.




















