
Aurora Limited
6 Little Burrow,
Burrowfields,
Welwyn Garden City,
AL7 4SW, United Kingdom


t≥10mm
Ø = EN-DDL10160 &
EN-DL10160 = 60mm
EN-DDL10260 = 70mm
EN-DDL1019 = 90mm

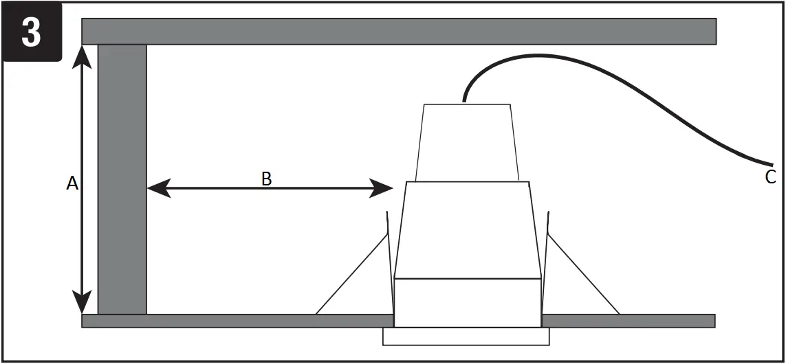
A
60mm void depth for EN-DDL10160 & EN-DDL10260
65mm void depth for EN-DDL1019
B
50mm min. clearance to joists etc.
C
240V~ Mains Input

A
Connect using a suitable Junction Box
(Supplied by other)
B
Brown – (L) Live
Blue – (N) Neutral


NON-DIMMABLE:
EN-DL10160
DIMMABLE:
EN-DDL10160, DDL10260, DDL1019
Document Version: EN-DL10160_DDL10160_DDL10260_DDL1019_V1_19 (AURORA)
PLEASE READ THESE INSTRUCTIONS CAREFULLY BEFORE INSTALLATIONLEAVE A COPY FOR THE USER / MAINTENANCE ENGINEER FOR FUTURE REFERENCE
IMPORTANT INSTALLATION INFORMATION
- Installation should be carried out by a qualified electrician in accordance with the latest edition of the National wiring regulations (For Australia please check the latest edition of the Wiring Rules -AS/NZS 3000:2007).
- Mains supply voltage 220-240V AC
- EN-DL10160 is not dimmable
- EN-DDL10160, DDL10260 & DDL1019 are dimmable from 100 – 20% with most leading or trailing edge dimmers.
- For full dimmer compatibility please see www.Auroralighting.com
- These luminaires are for indoor use only.
- Class II, Double Insulated an earth is not required.
- These downlights must be disconnected before insulation resistance testing of the lighting circuit.
- This luminaire is IP44 rated and is suitable for bathroom zones 1 and 2.
- We do not recommend mixing LEDs circuits with products such as extractor fans. This is due to the sensitive nature of LEDs and is not product specific
- Connect Mains supply using a suitable junction box:
Brown – (L) Live
Blue – (N) Neutral - Please Note: May not be compatible with PIR’s. Please contact sales office for compatibility.
This luminaire is not suitable for covering with insulation material.
Environmental Protection (W.E.E.E.) – Aurora’s WEEE Reg.No. WEE/BG0130YX (UK Only)
Waste Electrical & Electronic Equipment Regulations (WEEE) requires that any of our products showing this marking (left) must not be disposed of with other household or commercial waste. Aurora does not levy any WEEE disposal charges to its customers for affected WEEE related products. To prevent possible harm to the environment or human health from uncontrolled waste disposal, please separate any such product from other waste types and recycle it responsibly at your local facilities. Check with your Local Authority, Recycling Centre or retailer for recycling advice. If, when you purchased any Aurora product, your supplier included a WEEE disposal fee, you should then contact your supplier for advice on his take back of the product for the correct disposal.
GUARANTEE
This product is guaranteed for a period of 3 years from the date of purchase. The guarantee is invalid in the case of improper use, installation, tampering, and removal of the Q.C. date label, installation in an improper working environment or installation not according to the current edition of the National Wiring Regulations. Should this product fail during the guarantee period it will be replaced free of charge, subject to correct installation and return of the faulty unit. Aurora does not accept responsibility for any installation costs associated with the replacement of this product. This warranty is in addition to the statutory rights in your country of purchase. Aurora reserves the right to alter specifications without prior notice.



















