
Colour Changing Humidifier
K811 v001: 18/03/22
Please read and retain these instructions for future reference
Dimensions
(W) 12 x (D) 16cm
Length of mains lead: 150cm
K811 Color Changing Humidifier
- POWER: 12W
WATER CAPACITY: 500ML
LED LIGHTS: 3
ACCESSORIES: ADAPTER, MEASURING CUP, MANUAL
TIMER 10SEC, 2HR, 4HR
FEATURES: 7 COLOR CHANGE LIGHTS, - REMOTE CONTROL INCLUDED (Batteries included)
- SETTINGS: ON/OFF, INTERMITTENT CONTINUOUS, TIMER
Model: 24V
Input voltage: 100-240V ac, 50/60Hz
Output voltage: DC24V 0.65A
Power: 12X-14W
Aerosolized amount: Level 2
Ultrasonic frequency: 2.4MHz
Size: 160x160x120mm volume: max 500ml
ASSEMBLY INSTRUCTIONS / INSTRUCTIONS FOR USE:
Unpack the components carefully. Please check all parts have been removed from the packaging.
For best results when used in the bedroom add aromatherapy oil (not supplied) to improve sleep quality.
Use requirements
- This product is suitable for use with clean water or pure water it is not suitable for use with corrosive liquid.
- If the product is not carefully operated, water may leak into the humidifier internally. If there is water leaking, please unplug the power supply immediately, and pour out the water. Clean the body and let stand for about 3 days in a ventilated place. Leave it dry naturally after use.
WARNINGS AND SAFETY INSTRUCTIONS:
WHEN USING ELECTRICAL APPLIANCES, BASIC SAFETY PRECAUTIONS SHOULD ALWAYS BE FOLLOWED:
- READ ALL INSTRUCTIONS BEFORE USE.
- FOR DOMESTIC INDOOR USE ONLY.
- DO NOT USE OUTDOORS OR FOR COMMERCIAL USE.
- BEFORE USE, CHECK THOROUGHLY FOR ANY DEFECTS, AND DO NOT USE IF DEFECTS ARE FOUND.
TAKE CARE NOT TO DROP THE APPLIANCE AS HEAVY IMPACTS MAY CAUSE INTERNAL DAMAGE. - BEFORE CONNECTING THE APPLIANCE, CHECK IF THE VOLTAGE INDICATED ON THE BOTTOM OF THE APPLIANCE IS IN ACCORDANCE WITH THE MAIN VOLTAGE IN YOUR HOME.
- CHECK THE APPLIANCE AND POWER CABLE CAREFULLY FOR DAMAGE BEFORE EACH USE.
- THIS APPLIANCE CAN BE USED BY CHILDREN AGED FROM 8 YEARS AND ABOVE, AND PERSONS WITH REDUCED PHYSICAL, SENSORY OR MENTAL CAPABILITIES OR LACK OF EXPERIENCE AND KNOWLEDGE IF THEY HAVE BEEN GIVEN SUPERVISION OR INSTRUCTION CONCERNING THE USE OF THE APPLIANCE IN A SAFE WAY AND UNDERSTAND THE HAZARDS INVOLVED. CHILDREN SHALL NOT PLAY WITH THE APPLIANCE. CLEANING AND USER MAINTENANCE SHALL NOT BE MADE BY CHILDREN WITHOUT SUPERVISION.
- CHILDREN OF LESS THAN 3 YEARS SHOULD BE KEPT AWAY UNLESS CONTINUOUSLY SUPERVISED.
- SOME PARTS OF THIS PRODUCT CAN BECOME VERY HOT AND CAUSE BURNS. PARTICULAR ATTENTION HAS TO BE GIVEN WHERE CHILDREN AND VULNERABLE PEOPLE ARE PRESENT.
- THE USE OF ANY ACCESSORY OR ATTACHMENTS NOT RECOMMENDED BY COOPERS OF STORTFORD MAY CAUSE INJURIES AND INVALIDATE ANY WARRANTY YOU MAY HAVE.
- DO NOT LET THE POWER CABLE HANG OVER THE EDGE OF A TABLE OR COUNTER, OR TOUCH HOT SURFACES.
- DO NOT PLACE ON OR NEAR HEAT SOURCES.
- USE ON A LEVEL, STABLE SURFACE.
- DO NOT COVER THE ITEM IN ANY WAY WHEN IN USE AS THIS MAY CAUSE OVERHEATING.
- DO NOT USE THIS APPLIANCE FOR ANY OTHER USE THAN THE INTENDED USE IT IS DESIGNED FOR.
- ENSURE THERE IS SUFFICIENT DISTANCE BETWEEN THIS APPLIANCE AND OTHER ITEMS ON THE WORK SURFACE OR WORKSTATION, OR SUFFICIENT DISTANCE BETWEEN THE APPLIANCE AND THE CONFINES OF THE AREA IN WHICH IT IS SITUATED. WE RECOMMEND A MINIMUM CLEARANCE AROUND ALL FACES OF AT LEAST 10CM.
- TO PROTECT AGAINST ELECTRIC SHOCK, DO NOT IMMERSE THE POWER CABLE, PLUG, OR APPLIANCE, IN WATER OR ANY OTHER LIQUID.
- UNPLUG FROM THE OUTLET WHEN NOT IN USE AND BEFORE CLEANING.
- DO NOT OPERATE ANY APPLIANCE WITH A DAMAGED POWER CABLE OR PLUG OR AFTER THE APPLIANCE MALFUNCTIONS, OR HAS BEEN DAMAGED IN ANY MANNER. WE RECOMMEND THAT THE POWER CABLE IS NOT KINKED OR STORED IN A TWISTED MANNER AND THAT YOU REGULARLY CHECK ITS CONDITION.
- ANY REPAIRS MUST BE CONDUCTED BY A QUALIFIED ELECTRICIAN OR ELECTRICAL SERVICE AGENT.
Parts
- Mist mouth
- Cover
- Atomizing chamber
- Outlet S. Spray switch
- Light switch
- 4 hours timing light
- 2 hours timing light
- 10 seconds of intermittent light
- Continuous fog light
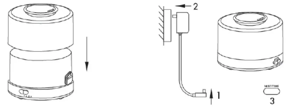
- Power adaptor socket

User Guide
Mist/Time Spray Switch
Tip: When you press the “MIST/TIME” switch for the first time, the dehumidifier will work in fog mode by default. If you press the “MIST/TIME” switch for 10 seconds, the MID/CONT LED light will flash, and the humidifier will emit low-level mist from the nozzle.
- Press the “MIST/TIME” switch for the first time, and the light will come on and the mist sprays out.
- Press the “MIST/TIME” switch a second time; the humidifier will work in 10-second intermittent spray mode and stop for 10 seconds mode. The “10-second intermittent signal” lights up.
- Press the “MIST/TIME” switch a third time, and the humidifier works in a 2-hour time mode, with the “2 hours timing signal” lights lit up.
- Press the “MIST/TIME” switch a fourth time, the humidifier will work in a 4-hour timer mode, with the “4 hours timing signal” lit up.
- Press the “MIST/TIME” switch a fifth time to turn off the humidifier.
Light Switch
- When the humidifier starts working, the light will change into an automatic colourful cycle mode.
- When the light is circulating and you press the “LIGHT” switch, the current light colour will be set.
- Press the “LIGHT” switch again to choose your lighting colour and level: press the switch to change to a colour you want each time (with seven different colours to choose from. Each colour has two levels.
- After browsing the colours, press the “LIGHT” switch again to turn off the light.
- Press the “LIGHT” switch again to return to the seven-colour automatic cycle mode.
User instructions
![]() | |
| 1. Pull the cover up to open | 2. Add water to the atomizing chamber |
![]() | |
| 3. Push cover down to close | 4. Connect to the power supply |
Remote Control (requires 1 x CR2032 battery – included)
- ON/OFF button: Press to turn on, press to turn off.
- Intermittent: Press for intermittent fogging, spray for 10 seconds stop for 10 seconds to extend the spray time switch to Continuous.
- Continuous: For fog output. In intermittent fog mode, press this button to change to continuous fog mode.
- Timing: Spray timing. Press once to set it to 120 minutes, and press twice to set to 240 minutes.
- Big/small: Output fog, adjust output. When the air is too dry choose a bigger setting.
- Light: For colour selection, press the button once to cycle, and press it twice to fix the colour.

How to add aromatherapy oil
Turn off the power supply, remove the cover, and add the aromatherapy oil of your choice to the atomizing chamber. Follow manufacturers’ instructions. Then add a suitable amount of water. Close the cover and turn on the power supply.
Note:
When adding water, use the scale mark to add the right amount of water to the tank. If the amount of added water is over or under the highest scale, there will be less or more sprayed out.
If there is too much water, there will be less steam. Once the water level has dropped, there will be more steam.
Care and Maintenance
- Switch off the humidifier at the switch and the power supply.
- Remove the cover and pour out the water in the atomizing chamber from the side showing the “MAX” position.
- Wipe the shell and water tank inside the cavity with a soft cotton cloth.
- Wipe the centre of the tank oscillator gently with cotton buds. This is suggested once every 7 to 14 days.
Troubleshooting
| Faults | Cause | Action |
| No power | Connect the power supply, press the “MIST/TIME” switch | |
| Not enough water | Add water to the atomizing chamber | |
| No steam | Too much water | Pour out the water from the atomizing chamber |
| The oscillator is covered by a scale | Clean the scale on the oscillator | |
| Cover or water retaining cover out of the fog on the membrane other foreign bodies covered | Only use cotton buds to clean the centre of the tank oscillator. |
PLUG WIRING (UK & IRELAND)
This appliance is supplied with a mains adaptor/charger with BS1363 plug pins.
DO NOT use If the socket outlets in your home or office are not suitable for this product’s mains adaptor/ charger plug pins. Attempts to insert the mains adaptor/charger into the wrong socket are likely to cause electric hazards or damage.
DO NOT use any other mains transformer/charger than the one that is supplied with this product.
DISPOSAL
- Coopers of Stortford use recyclable or recycled packaging where possible.
- Please dispose of all packaging, paper, cartons, and packaging in accordance with your local recycling regulations.
- Plastics, polybags – these are made from the following recyclable plastic.

| Code & Symbol | ![]() | ![]() |
| Type of Plastic | Polypropylene | ABS |
| Commonly used for | Microwaveable food containers, yoghurt pots, butter tubs, disposable plates and cups | CDs, crisp packets, various flexible packaging, baby bottles, sunglass lenses |
| Notes | Commonly recycled and collected from household recycling bins (packaging tape itself is not recyclable but does not interfere with cardboard) | Not often or widely recycled |
The Enterprise Department
UK Head Office, 11 Bridge Street, Bishop’s Stortford, CM23 2JU
Tel: 0844 4824400*, Fax: 01279 756595
www.coopersofstortford.co.uk
EU address: D.S.B. LD, 160 Bd. de Fourmies, 59100 Roubaix, France
Tel: (+44) 1279 701269
*UK Calls cost around 7 pence per minute plus your telephone company’s network access.
Please check with your telephone supplier.























