![]()
anslut 014756 Humidifier

SAFETY INSTRUCTIONS
- Do not touch the power cord or the plug with wet hands.
- Never start the product manually if there is no water in the container.
- This product can be used by children from 8 years of age and by persons with physical, sensorial or mental disabilities, or persons who lack experience or knowledge, if they are supervised or receive instructions concerning the safe use of the product and understand the risks involved. Keep children under supervision to make sure they do not play with the product. Do not allow children to use, clean or maintain the product without supervision.
- Never use additives in the container that are not recommended by the manufacturer.
- Do not put any objects or pets in the container.
- Make sure that no water gets into the steam outlet.
- Do not touch the water in the pan or wet parts when the product is in use.
- Never block the steam outlet or cover the product.
- A damaged cord or plug must be replaced by an authorised service centre or qualified person to ensure safe use.
- Do not use an extension cord. The product should be connected to a separate circuit.
- Do not place the product near water or any other liquid.
- Do not dismantle the product or attempt to modify, or repair it.
- Do not step or sit on the product.
- Do not use the product in explosive environments, for example in the vicinity offlammable liquids, gas or dust. Do not place the product near sources of heat.
- Never pour or swill water on the product.
- Switch off the product before unplugging it, otherwise there is a risk of personal injury and/or material damage.
- Use distilled water for humidification.
- Do not use the product if the power cord or plug are damaged. A damaged cord or plug must be replaced by an authorised service centre or qualified person to ensure safe use.
- Switch off the product and pull out the plug in thunderstorms.
- Switch off the product immediately and pull out the plug if it starts to smell or makes an abnormal noise.
- Pull out the plug and empty and clean the container if the product is not going to be used for some time.
- Change the water in the container and pan frequently to avoid the growth of bacteria.
- Never use additives such as essential oils, perfume, drugs etc. in the water.
- Switch off the product and pull out the plug before moving it. Be careful and avoid tilting the container, otherwise there is a risk of water leaking out.
- Pull out the plug immediately if the product tips over, or is tilted so that water runs out. Have the product checked and repaired before using it again.
- Temperature range: 5 to 40°C. Relative air humidity: Max 80%.
- Be aware that high humidity levels may encourage the growth of biological organisms in the environment.
- Do not permit the area around the humidifier to become damp or wet.
- If dampness occurs, turn the output of the humidifier down. If the humidifier output volume cannot be turned down, use the humidifier intermittently.
- Do not allow absorbent materials, such as carpeting, curtains, drapes, or tablecloths, to become damp.
- Unplug the appliance during filling and cleaning.
- Never leave water in the reservoir when the appliance is not in use.
- Empty and clean the humidifier before storage.
- Clean the humidifier before next use.
- Micro-organisms that may be present in the water or in the environment where the appliance is used or stored, can grow in the water reservoir and be blown in the air causing very serious health risks when the water is not renewed and the tank is not cleaned properly every 3 days.
- Empty the tank and refill every third day. Before refilling, clean it with fresh tap water or cleaning agents if required by the manufacturer.
- Remove any scale, deposits, or film that has formed on the sides of the tank or on interior surfaces, and wipe all surfaces dry.
- The instructions for ultrasonic humidifiers and impeller humidifiers provided with specific antibacterial components to be added to the water, shall state, if relevant, the type or characteristics of the antibacterial component to be used and shall clarify that these additives shall be added to the water at each refilling.
SYMBOLS
TECHNICAL DATA
- Rated voltage: 220 – 240 V ~ 50 Hz
- Output: 22W
- Protection rating: 11
- Volume container: 4.51
- Nominal supplied water: 220 ml/h
- Noise level: 38 dB(A)
- Weight: 1.18
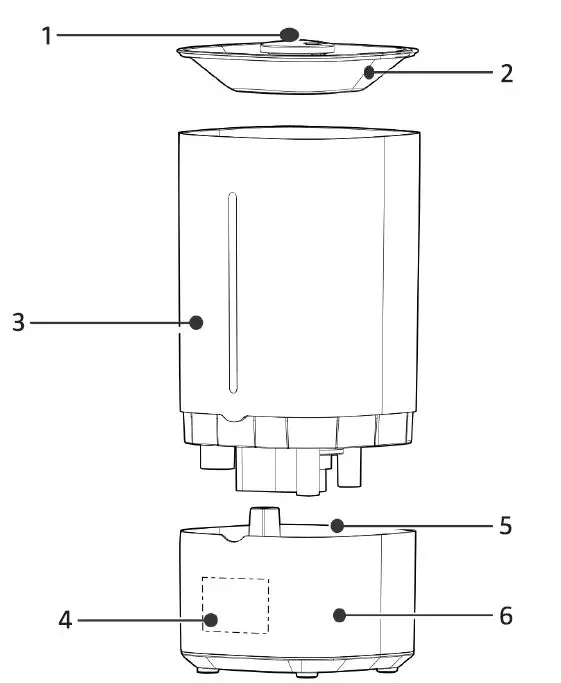
DESCRIPTION
- Steam outlet
- Top cover
- Water container
- Control panel
- Pan
- Bottom casing

FUNCTION
- Place the humidifier on a stable, horizontal surface, at least 2 metres from curtains and other appliances.
- Plugin the plug, start the humidifier and check that all the status lights go on for 1 second and then go off. The humidifier is now in standby mode.
- In standby mode, tap (!) to start the humidifier in high power mode. Press (!) again to switch off the heat humidifier.
- When the humidifier is running, tap (!) to adjust the amount of steam. Each tap switches in the order of medium, low, high, and medium model. Blue status light indicates high mode, green medium mode, and yellow low mode.
- In run mode, press (!) to switch on or off the status light.
- If the container is removed in run mode, or the product switches off as a result of a lack of water, the product goes into standby mode. The red status flashes for 10 seconds and then goes off. Press (!) while the light is flashing to switch off before the 10 seconds have run out.
HOW TO USE
- Pull out the plug before filling with water.
- Make sure that water does not get into the steam outlet when filling.
- Do not fill water over the MAX mark.
- The humidifier switches off automatically when the water in the container is used up and the red status light starts flashing.
- If there is no water in the pan, fill with water and wait 1 minute before starting the humidifier.
FILLING WITH WATER (THREE METHODS)
The humidifier can be filled in three ways. Use alternative one the first time the container is filled.
NOTE: Before using for the first time, remove the foam plastic cover from the float.
Alternative one 
- Remove the top cover.
- Remove the container.
- Fill the container from the tap.
Alternative two
Fill the container through the nozzle. Make sure that water does not get into the steam outlet. 
Alternative three
Remove the top cover and fill the container. Make sure that water does not get into the steam outlet. 
FITTING THE CONTAINER
The container should be fitted with the side with the logotype facing the same way as the control panel on the bottom casing. 
DIRECTION OF STEAM OUTLET
The steam outlet can be turned 360° to point the steam in the required direction. 
MAINTENANCE
NOTE: Switch off the humidifier and pull out the plug before cleaning.
CLEANING
- Clean the base and container every week and remove any scale.

- Wipe the surface of the container with a soft, damp cloth.
- Clean the container with distilled water and a mild detergent.

TROUBLESHOOTING
The troubleshooting table is used to identify the caus i:>s of common problems and how they can be rectified. Contact the retailer if the problem cannot b 0 rectified with the help of the troubleshooting table.























