7000020CM3000
7000020CM3000
7000020GYE000
7000020QT5000
ClimaTrend Hygro Quadro Sensor
Instruction Manual
7000020CM3000 ClimaTrend Hygro Quadro Sensor
Visit our website via the following QR Code or web link to find further information on this product or the available translations of these instructions.
RECYCLAGE
Attention! For first-time operation and battery replacement:
First, insert batteries for the main unit and then insert batteries for the outdoor sensor.
Service: www.bresser.de/weather

A. Display
A1: Channel number with reception and battery symbol
A2: Temperature
A3: Temperature tendency indicator
A4: Comfort level symbol
A5: Humidity
A6: Hi-/Low-Alarm for temperature /humidity
A7: Marking for the selected channel
A8: Symbol for MAX/MIN
A9: Display for internal temperature and humidity
A10: Alarm symbol for temperature/humidity
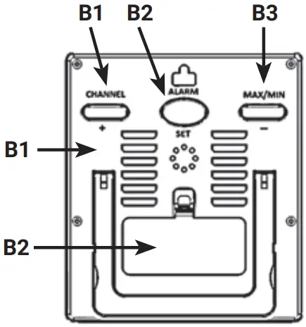
B. Buttons
B1: CHANNEL/ + button
B2: ALARM/ SET button
B3: MIN/MAX/ – button
C. Housing
C1: Housing body
C2: Battery compartment (3x AAA battery)
C3: Wall mounting hole
C4: Stand
D. Outdoor Sensor
D1: Display, temperature, and humidity
D2: Channel number, as Channel 1, Channel 2, Channel 3
D3: Transmission signal lamp
D4: Wall mounting hole
D5: Battery compartment (2x AAA battery)
D6: °C and °F switch
D7: Corresponding Channel switch
About this manual
Please read the safety instructions and the user manual carefully before using the device.
GENERAL WARNINGS
RISK OF CHOKING!
Keep packaging material, like plastic bags and rubber bands, out of the reach of children, as these materials pose a choking hazard.
RISK of ELECTRIC SHOCK!
This device contains electronic components that operate via a power source (Batteries). Only use the device as described in the manual; otherwise, you run the risk of an electric shock.
RISK of FIRE/EXPLOSION!
Do not expose the device to high temperatures. Use only the recommended batteries. Do not short-circuit the device or batteries, or throw them into a fire. Excessive heat or improper handling could trigger a short circuit, a fire, or an explosion.
RISK of property damage!
Do not disassemble the device. In the event of a defect, please contact your dealer. The dealer will contact the Service Centre and can send the device in to be repaired, if necessary.
ATTENTION!
Use only the recommended batteries. Always replace weak or empty batteries with a new, complete set of batteries at full capacity. Do not use batteries from different brands or with different capacities. Remove the batteries from the unit if it has not been used for a long time.
ATTENTION!
The manufacturer is not liable for damage related to improperly installed batteries!
SCOPE OF DELIVERY
Main unit (A), Remote sensor (B), Instruction manual Required batteries (not included with purchase): 3x AAA / LR03 (1.5V) for Main Unit 6x AAA / LR03 (1.5V) for Outdoor Sensors
INSTALLATION OF MAIN UNIT
- Open the battery compartment of the main unit and insert three new batteries with 1,5V AAA, polarity as illustrated.
- ALL LCD segments will be displayed for about a few seconds.
- Close the battery compartment.
INSTALLATION OF OUTDOOR SENSOR
- Open the battery compartment of the outdoor sensor with a screwdriver.
- Insert two new batteries 1,5 AAA, and the display shows the temperature and humidity and Channel number 1.
- Press the °C and °F switch (D6) to select the temperature unit.
- Use the Channel switch (D7) to change between Channel 1, Channel 2, or Channel 3. There are a total of 3 outdoor sensors, set all 3 to different channels.
MAIN UNIT
- The measurements of the installed outdoor sensors will be transmitted to the main unit and the radio-controlled reception symbol (A1) appears.
- If the reception is successful, the display will show the temperature and humidity of the respective outdoor sensor, the temperature trend symbol (A3), and the symbol of the comfort level (A4).
- Then the radio-controlled reception symbol disappears.
- In display section 4, the measured values of the internal sensor (Indoor) will appear.
- If the values are not received from a channel, ‘–’ appears on the display, check the batteries and try it again. Check if there is any source of interference.
- You can start the initialization manually.
- Button function:
(1) CHANNEL / + button
A. Press it to select different display sections.
B. In setting mode, press it equals UP.
C. Press and hold to enforce radio-controlled reception.
- Press the CHANNEL/+ button until the arrow (A7) appears on the desired channel. Channel 1, 2 or 3, or IN for enforcing a radio-controlled reception for all outdoor sensors simultaneously.
- Press and hold this button for 3 seconds to search for signals from the desired outdoor sensor.
- The radio-controlled reception symbol (A1) appears.
- The base station will scan the measurements.
- If the reception is successful, the display will show the temperature and humidity of the desired outdoor sensor, the temperature trend symbol (A3), and the symbol of the comfort level (A4).
- Then the radio-controlled reception symbol disappears.
(2) MIN/MAX / – button
A. In normal mode, press and hold it for more than 3 seconds to switch °C and °F.
B. Press this button, and MAX appears on the display.
C. On the display appear the maximum values since the last reset.
D. Press and hold the MIN/MAX- button to delete the maximum values of the currently selected channel.
E. Press this button again
F. MIN appears on the display
G. On the display appear the minimum values since the last reset.
H. Press and hold the MIN/MAX- button to delete the minimum values of the currently selected channel.
I. Press again to go back to the display of the present values.
NOTE: Press and hold the MIN/MAX /- or CHANNEL / + button for fast running.
SETTING THE ALARM FOR TEMPERATURE AND HUMIDITY
1. Temperature alarm
- Press the CHANNEL /+ button until the arrow appears on the desired channel (channel 1-3, IN)
- Press and hold the ALARM / SET button for 3 seconds.
- HI AL and upper-temperature limit (CH 1-3: 70°C – default, IN: 60°C) start flashing on the display.
- Press the CHANNEL /+ or MIN/MAX/- button to adjust the desired upper-temperature limit.
NOTE: press and hold the MIN/MAX /- or CHANNEL / + button for fast running. - press and hold the ALARM / SET button after setting the value when still flashing to activate the alarm function.
- The alarm symbol (A10) appears on the display
- Save the setting with the ALARM / SET button
- LO AL and lower temperature limit (CH 1-3: -50°C【- default, IN: -9.9°C) starts flashing on the display.
- Press the CHANNEL / + or MIN/MAX /- button to adjust the desired lower temperature limit.
- Press and hold the ALARM / SET button after setting the value when still flashing to activate the alarm function.
- The alarm symbol (A10) appears on the display.
- Save the setting with the ALARM/button.
2. Humidity alarm
- HI AL and upper humidity limit (CH 1-3: 95% – default, IN 95% ) starts flashing on the display (channel 1-3, IN)
- Press the CHANNEL / + or MIN/MAX/- button to adjust the desired upper humidity limit
- Press and hold the ALARM / SET button after setting the value when still flashing to activate the alarm function
- The alarm symbol (A10) appears on the display
- Save the setting with the ALARM / SET button
- LO AL and lower humidity limit (CH 1-3: 20% – default, IN: 20%) start flashing on the display.
- Press the CHANNEL / + or MIN/MAX /- button to adjust the desired lower humidity limit.
- Press and hold the ALARM / SET button after setting the value when still flashing to activate the alarm function.
- The alarm symbol (A10) appears on the display. (10) Save the setting with the ALARM / SET button.
DISPLAY OF ADJUSTED ALARM VALUES
- Press the ALARM /SET button in normal mode to show the adjusted upper alarm limits
- Press again the ALARM / SET button in normal mode to show the adjusted lower alarm limits
- Press again this button to return to the normal display
DEACTIVATING /ACTIVATING THE ALARM
- Press the CHANNEL / + button until the arrow appears on the desired channel.
- Press and hold the ALARM / SET button for 3 seconds.
- The upper-Temperature Alert limit starts flashing on the display
- In Temperature and Humidity Alarm Mode, each press of the ALARM / SET button rotates between
• Upper-Temperature Alert
• Lower Temperature Alert
• Upper Humidity Alert
• Lower Humidity Alert - When the above alerts are displayed, pressing the ALARM/SET button for 3 seconds will deactivate/activate the corresponding alert.
- The alarm symbol (A10) disappears/appears on the display.
- Save the setting with the ALARM / SET button.
DISABLING WHEN ALARMS ARE ACTIVATED
Press the ALARM/SET button to stop the alarm sound. HI AL or LO AL still flashing on the display.
COMFORT LEVEL
| Temperature range | Humidity range | |
| COM | 20-28 °C | 40-70% |
| WET | >65% | |
| DRY | <45% |
EC DECLARATION OF CONFORMITY
Hereby, Bresser GmbH declares that the equipment type with part number: 7000020000000 is in compliance with Directive: 2014/53/EU. The full text of the EU declaration of conformity is available at the following internet address:
www.bresser.de/download/7000020/CE/7000020_CE.pdf
UKCA Declaration of Conformity
Bresser GmbH has issued a „Declaration of Conformity“ in accordance with applicable guidelines and corresponding standards. The full text of the UKCA declaration of conformity is available at the following internet address:
www.bresser.de/download/7000020/UKCA/7000020_UKCA.pdf
Bresser UK Ltd.
Suite 3G, Eden House, Enterprise Way, Edenbridge, Kent TN8 6HF, Great Britain
CLEANING AND MAINTENANCE
Before cleaning the device, disconnect it from the power supply (remove batteries)! Only use a dry cloth to clean the exterior of the device. To avoid damaging the electronics, do not use any cleaning fluid.
DISPOSAL
Dispose of the packaging materials properly, according to their types, such as paper or cardboard. Contact your local waste-disposal service or environmental authority for information on the proper disposal.
Do not dispose of electronic devices in the household garbage! As per Directive 2012/19/EU of the European Parliament on waste electrical and electronic equipment and its adaptation into German law, used electronic devices must be collected separately and recycled in an environmentally friendly manner.
WARRANTY
The regular warranty period is 2 years and begins on the day of purchase. To benefit from an extended voluntary warranty period as stated on the gift box, registration on our website is required.
You can consult the full warranty terms as well as information on extending the warranty period and details of our services at www.bresser.de/warranty_terms.
Contact
Bresser GmbH
Gutenbergstraße 2
46414 Rhede · Germany
www.bresser.de
[email protected]![]()
@BresserEurope
Bresser UK Ltd.
Suite 3G, Eden House Enterprise Way
Edenbridge, Kent TN8 6HF
Great Britain
Errors and technical changes are reserved.
Manual_7000020000000_ClimaTrend-Hygro-Quadro_en-de_BRESSER_v092022a
References
IBERIA.COM en United States - the best prices for Iberia flights
Bresser | Startseite | Expand Your Horizon mit BRESSER
index · powered by h5ai 0.26.1 (http://larsjung.de/h5ai/)
index · powered by h5ai 0.26.1 (http://larsjung.de/h5ai/)
bresser.de/garantiebedingungen
Bresser | BRESSER ClimaTrend Hygro Quadro - Thermo- und Hygrometer mit 4 unabhängigen Messdaten | Expand Your Horizon
bresser.de/warranty_terms
Bresser | Batterie Anweisung | Expand Your Horizon




















