
Thermo-Hygro-3CH-Sensor
433MHz
Art. Nr.: 7009981

Instruction Manual


General Warning
DANGER!
This device contains electronic components which operate via a power source (power supply and/or batteries). Do not let children use the device while unattended. Only use the device as described in the manual, otherwise, you run the risk of an electric shock.
Children should only use the device under adult supervision. Keep packaging material, like plastic bags and rubber bands, out of the reach of children, as they pose a choking hazard.
Keep batteries out of the reach of children. Make sure you insert the batteries correctly. Empty or damaged batteries could cause burns if they come into contact with the skin. If necessary, wear adequate gloves for protection.
DANGER!
Do not expose the device to high temperatures. Use only the recommended batteries. Do not short-circuit the device or batteries, or throw them into a fire. Excessive heat or improper handling could trigger a short circuit, a fire, or an explosion!
NOTE!
Do not disassemble the device. In the event of a defect, plea- se contact your dealer. The dealer will contact the Service Centre and can send the device in to be repaired, if necessary.
Use only the recommended batteries. Always replace weak or empty batteries with a new, complete set of batteries at full capacity. Do not use batteries from different brands or with different capacities. The batteries should be removed from the unit if it has not been used for a long time. NOTES ON CLEANING Separate the device from the power supply or remove the batteries before cleaning.
NOTE!
Only use a dry cloth to clean the exterior of the device. Do not use any cleaning fluid to avoid damaging the electronics.
SCOPE OF DELIVERY
Outdoor sensor, instruction manual, batteries required (not included): 2 pcs. Batteries (1.5V, type AAA)
FEATURES OF THE REMOTE UNIT


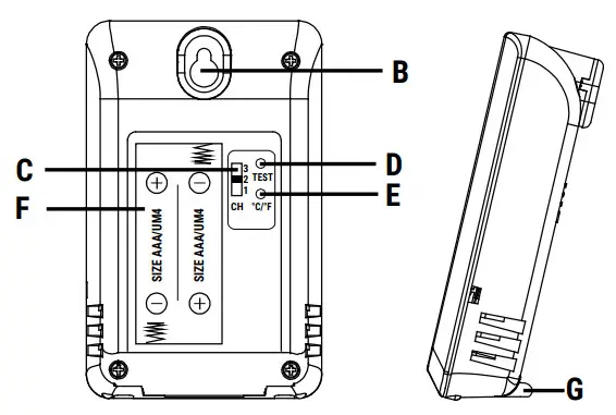
A DISPLAY (ON THE FRONT SIDE)
Displays temperature, humidity, current channel, and low battery warning symbol ![]()
B WALL MOUNT
For mounting the sensor on walls.
C SET THE TRANSMISSION CHANNEL (1-3)
Input channel for the weather station. Set the channel before inserting the batteries.
D TEST
TEST key transmits the current measured values.
E °C / °F-BUTTON
°C/°F button switches between Celsius (°C) and Fahrenheit (°F).
F BATTERY COMPARTMENT
The unit requires 2 pcs. UM-4 or “AAA” 1.5V batteries
G STAND
For positioning the device on a flat surface
FIRST OPERATION
- Open the battery compartment cover.
- Set the desired channel with the switch. If you are using only one transmitter, please leave the selection at „1“.
- Insert 2 new UM-4 or „AAA“ 1.5V batteries observing correct polarity.
- Close the battery compartment cover and set the unit in the desired location.
Although the outdoor sensor is weatherproof, it should not be placed in places exposed to direct sunlight, rain or snow.
TIPS FOR SETTING UP:
Please follow the instructions below to ensure optimum operation of the equipment:
- Assign each external transmitter unit its own channel.
- Place the receiver unit and transmitter unit within 1 meter of each other and activate the manual search for available signals from all connected outdoor sensors on the main unit (weather station not included with delivery).
„Batteries empty“ indicator
When batteries are nearing depletion, the symbol
is displayed on the sensor and weather station.
DISPOSAL
Dispose of the packaging materials properly, according to their types, such as paper or cardboard. Contact your local waste- disposal service or environmental authority for information on the proper disposal.
Do not dispose of electronic devices in the household garbage! As per the Directive 2002/96/EC of the European Parliament on waste electrical and electronic equipment and its adaptation into German law, used electronic devices must be collected separately and recycled in an environmentally friendly manner.
In accordance with the regulations concerning batteries and rechargeable batteries, disposing of them in normal household waste is explicitly forbidden. Please make sure to dispose of your used batteries as required by law — at a local collection point or in the retail market. Disposal in domestic waste violates the Battery Directive. }
Batteries that contain toxins are marked with a sign and a chemical symbol.

¹battery contains cadmium
²battery contains mercury
³battery contains lead
EC DECLARATION OF CONFORMITY
Hereby, Bresser GmbH declares that the equipment type with part number: 7009981 is in compliance with Directive: 2014/53/EU. The full text of the EU declaration of conformity is available at the following internet address: www.bresser.de/download/7009981/CE/7009981_CE.pdf
UKCA DECLARATION OF CONFORMITY
Bresser GmbH has issued a „Declaration of Conformity“ in accordance with applicable guidelines and corresponding standards. The full text of the UKCA declaration of conformity is available at the following internet address: www.bresser.de/download/7009981/UKCA/7009981_UKCA.pdf
Bresser UK Ltd. • Suite 3G, Eden House, Enterprise Way, Edenbridge, Kent TN8 6Hf, Great Britain
TECHNICAL DATA:
Measurement
Temperature range: -40-70°C (-40-158 °F)
Temperature steps: 0.1 °C/°F
Humidity range: 20-90% RH
Humidity steps: 1%
Transmission
Transmission frequency: 433,92 MHz
Maximum transmission power < 10mW
Transmission range: 30 meters (free field)
Power supply
2x AAA 1.5V batteries (not included)
WARRANTY & SERVICE
The regular guarantee period is 5 years and begins on the day of purchase. You can consult the full guarantee terms and details of our services at www.bresser.de/warranty_terms.

Bresser GmbH
Gutenbergstr. 2 DE-46414 Rhede
Germany
Service:
Web: www.bresser.de/weather
E-Mail: [email protected]
Bresser UK Ltd.
Suite 3G, Eden House, Enterprise Way, Edenbridge,
Kent TN8 6Hf, Great Britain
www.bresser.de/start/bresser![]()



















