resistex 600014 Neoled 1349lm BL 4000K Waterproof LED Strip Instruction Manual
Safety notes
- Never work when voltage is present on the luminaire.

- The installation must be performed by a professional installer in compliance with the standards and regulations relating to electrical installations.

- Risk of electrostatic discharges. (ESD Norm). Handle with precautions.

- Please observe the notes and steps described in the mounting instructions.
Maintenance instructions
- Do not use chemicals or abrasives products to clean the fixture.

- Keep these instructions for dismantling or future maintenance. You can consult additional information about RESISTEX luminaires on the website www.resistex-sa.com.

RESISTEX cannot be responsible for any misuse of the product.
DIMENSION / SIZE

Diagram

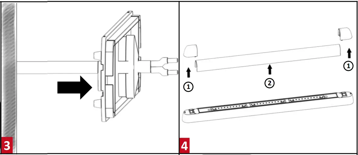
INSTALLATION






Support
www.resistex-sa.com
RESISTEX EXPLOITATION, 11
Quai de la Banquière CS 80010, 06730
Saint-André-de-la-Roche – France
Tél. 04 93 276 276
Fax 04 93 276 280
[email protected]
APE 2740Z – Siret 487 593 477 00010
SAS CAPITAL 649979 €
T.V.A. F.R. 73 487 593 477

























