scheppach BTS 700 Electric Belt and Disc Sander

Dear customer,
We wish you a pleasant and successful working experience with your new machine.
According to the applicable product liability law the manufacturer of this device is not liable for damages that arise on or in connection with this device in case of:
- improper handling,
- non-compliance with the instructions for use,
- repairs by third party, nonauthorized skilled workers,
- installation and replacement of non-original spare parts,
- improper use,
- failures of the electrical system due to the non-compliance with the electrical specifications and the VDE 0100, DIN 57113 / VDE 0113 regulations
Recommendations:
Read the entire text of the operating instructions prior to the assembly and operation of the device.
These operating instructions are intended to make it easier for you to get familiar with your device and utilize its intended possibilities of use.
The operating instructions contain important notes on how to work safely, properly and economically with your machine and how to avoid dangers, save repair costs, reduce downtime, and increase the reliability and working life of the machine.
In addition to the safety regulations contained herein, you must in any case comply with the applicable regulations of your country with respect to the operation of the machine.
Put the operating instructions in a clear plastic folder to protect them from dirt and humidity, and store them near the machine. The instructions must be read and carefully observed by each operator prior to starting the work. Only persons who have been trained in the use of the machine and have been informed on the related dangers and risks are allowed to use the machine. The required minimum age must be met.
In addition to the safety notes contained in the present operating instructions and the special regulations of your country, the generally recognized technical rules for the operation of woodworking machines must be observed.
General Notes
- When you unpack the device, check all parts for possible transport damages. In case of complaints the supplier is to be informed immediately. Complaints received at a later date will not be acknowledged.
- Check the delivery for completeness.
- Read the operating instructions to make yourself familiar with the device prior to using it.
- Only use original parts for accessories as well as for wearing and spare parts. Spare parts are available from your specialized dealer.
- Specify our part numbers as well as the type and year of construction of the device in your orders.
| BTS700 | |
| Delivery Status | |
| Belt and Disc Sander | |
| Table for band grinder | |
| Table for plate grinder | |
| Vacuum connector | |
| Transverse cutting template | |
| Accessories bag | |
| Hexagonal spanner SW 3 | |
| Operating manual | |
| Technical Data | |
| Dimensions L x W x H mm | 380/300/370 |
| ø Disc mm | 125,0 |
| RPM Disc | 2850 |
| Belt dimensions mm | 25,4 x 762 |
| Belt Speed m/ min | 820 |
| Table Size mm | Band grinder ø 148 mm Plate grinder 184 x 98 mm |
| Table Tilt | 0°-45° |
| Gewicht kg | 7,4 |
| Drive | |
| Motor V/Hz | 230–240/50 |
| Input P1 W | 250 |
Subject to technical changes!
Noise characteristic values according to EN 50144:
Sound pressure LpA = 81.2 dB(A)
Sound power LWA = 92.2 dB(A)
- Wear ear-muffs.
- Wear safety goggles.
- Wear a breathing mask.
- Read and follow the operating and safety instructions before you start working with this power tool.
Equipment
- Grinding belt
- Grinding belt table
- Grinding protection
- Plate grinding belt (Velcro® fastener)
- Grinding table adjustable
- Grinding table adjustment
- ON/OFF-Button
- Motor
- Grinding belt adjustment screw
- Vacuum connector for plate grinding
- Vacuum connector for belt grinding
- Transverse cutting template


In these operating instructions we have marked the places that have to do with your safety with this sign:
General Safety Rules
When using electric tools basic safety precautions should always be followed to reduce the risk of fire, electric shock and personal injury.
- Keep your working area clean and tidy
- A disorderly working area can lead to accidents.
- Be aware of the effects of the environment
- Do not leave electrical power tools out in the rain.
- Do not use electrical power tools in moist or wet surroundings.
- Ensure that your working area is well-lit.
- Do not use electrical power tools in areas where there is risk of fire or explosion.
- Protect yourself from electric shock
- Avoid touching earthed objects such as pipes, heating radiators, ovens or refrigerators with parts of your body.
- Keep other people at a safe distance.
- Do not allow other people, in particular children, to touch the electrical
- power tool or the mains lead. Keep them away from your working area.
- Store currently unused electrical power tools in a safe place.
- When not being used electrical power tools should be stored in dry conditions in a high or enclosed place, out of reach of children.
- Do not overload your electrical power tool
- By keeping within the specified working range of the tool you will work more safely and achieve a better result.
- Use the right electrical power tool for the task
- Do not use low-output devices for heavy tasks.
- Do not use an electrical power tool for purposes for which it was not intended. For example, do not use a hand operated circular saw for trimming tree branches or cutting logs.
- Wear suitable clothing
- Do not wear loose-fitting clothing or jewellery.
They could become caught on moving parts. - We recommend that you wear anti-slip footwear when working outdoors.
- If you have long hair, wear a hair net.
- Do not wear loose-fitting clothing or jewellery.
- Use personal protective equipment
- Wear protective goggles.
- Wear a dust mask if your work generates dust.
- Attaching the vacuum dust extraction device.
- Where there are connection points provided for vacuum dust extraction please ensure that the connections are made and used properly.
- Do not use the mains lead for purposes for which it was not intended.
- Do not use the mains lead to pull the plug out of the mains socket. Protect the mains lead from heat, oil and sharp edges.
- Securely support the workpiece
- An additional support is necessary for long workpieces (table, trestle, etc.) in order to prevent the machine from tipping over.
- Use clamps or a vice to grip the workpiece firmly.
This is much safer than holding it with your hand.
- Avoid placing your body in an unnatural position.
- Make sure that you have secure footing and always maintain your balance.
- Avoid awkward hand positions in which a sudden slip could cause one or both hands to come into contact with the ginding wheel/belt.
- Take care of your tools
- Keep cutting tools sharp and clean in order to be able to work better and more safely.
- Follow the instructions for lubrication and for tool replacement.
- Check the connection cable of the electric tool regularly and have it replaced by a recognised specialist when damaged.
- Check extension cables regularly and replace them when damaged.
- Keep the handle dry, clean and free of oil and grease.
- Pull the mains plug out of the mains socket.
- Never remove loose splinters, chips or jammed wood pieces from the running saw blade.
- During non-use of the electric tool or prior to maintenance and when replacing tools such as saw blades, bits, milling heads.
- Make sure that no spanners, keys etc. are left attached.
- Check before switching on that all spanners, keys and setting tools have been removed.
- Avoid unintentionally starting up the device.
- Check that the switch is set to OFF on the device when the mains plug is inserted into the mains socket.
- Using an extension lead for working outdoors.
- Only use approved and appropriately identified extension cables for use outdoors.
- Only use cable reels in the unrolled state.
- Remain alert.
- Watch what you are doing. Proceed with caution.
Do not use electrical power tools if you cannot concentrate.
- Watch what you are doing. Proceed with caution.
- Check the electric tool for potential damage
- Protective devices and other parts must be carefully inspected to ensure that they are fault-free and function as intended prior to continued use of the electric tool.
- Check whether the moving parts function faultlessly and do not jam or whether parts are damaged. All parts must be correctly mounted and all conditions must be fulfilled to ensure the fault-free operation of the electric tool.
- The moving protective hood may not be fixed in the open position.
- Damaged protective devices and parts must be properly repaired or replaced by a recognized workshop, insofar as nothing different is specified in the operating manual.
- Damaged switches must be replaced at a customer service workshop.
- Do not use any faulty or damaged connection cables.
- Do not use any electric tool on which the switch cannot be switched on and off
- CAUTION!
– Exercise elevated caution for double mitre cuts. - ATTENTION!
- The use of inserted tools and accessories other than those recommended by the manufacturer could lead to you being injured.
- Have your electrical power tool repaired at an electrical equipment repair specialist.
- This electrical power tool complies with the relevant safety regulations. Repairs may only be carried out by a specialist electrical repair centre using original spare parts, otherwise, injury could occur to the user.
Intended Use
The machine complies with the applicable EG guideline for machines.
- The belt- disc sander is defined as a portable machine.
- The work station and surroundings of the machine must be kept free from disturbing objects to prevent accidents.
- On principle, the workpieces to be processed must be free from foreign material such as nails or screws.
- Only operate the machine as intended in technically acceptable conditions, considering the operating instructions and bearing safety and risk issues in mind! Have faults that may impair the safety corrected immediately.
- The safety, work, and maintenance regulations of the manufacturer as well as the dimensions specified under Technical data must be complied with.
- The applicable accident prevention regulations and other generally accepted safety-related regulations must be adhered to.
- The machine must only be operated, maintained or repaired by persons who are familiar with it and instructed concerning possible risks. Unauthorized modifications of the machine exclude the manufacturer’s liability for resulting damage.
- The machine must only be operated with the manufacturer’s original parts and tools.
- Any other use is considered as improper. The manufacturer is not liable for resulting damage; the risk is solely with the user.
Please note that our equipment has not been designed for use in commercial, trade, or industrial applications. Our warranty will be voided if the machine is used in commercial, trade, or industrial businesses or for equivalent purposes.
Remaining hazards
The machine has been built using modern technology and in accordance with recognized safety rules.
Some hazards, however, may still remain.
- The grinding wheel poses a danger of injury to fingers and hands by improper feeding or placement of tools.
- Danger of injury from thrown tools due to improper holding or feeding.
- The use of incorrect or damaged mains cables can lead to electrical injuries.
- Although having regarded all considerable rules there may still remain not obvious remaining hazrds.
- Minimize remaining hazards by following the instructions in ”Safety Rules”, ”Use only as authorized” and in the entire operating manual.
Unpacking the Machine

Check the delivery for possible transport damage.
In case of damage, the carrier has to be notified immediately. Check the delivery is complete.
Inform the retailer immediately if there are any parts missing.
The machine is shipped complete in a cardboard box. Additional parts for attachment to the machine have to be located and accessed prior to mounting.
1 Belt and Disc Sander
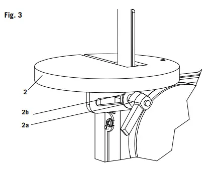
2 1 band grinding table
2 a 1 locking lever M 8 for band grinding table
2 b 1 washer 8 mm for band grinding table
3 1 plate grinding table
3a 2 locking screws M6 for plate grinding table
3b 2 flat washers 6 mm for plate grinding table
4 1 vacuum connector
4a 3 crosshead screws M4 x 10 for vacuum connector
4b 3 washers 4 mm
5 1 transverse cutting template for plate grinding
table
6 2 hexagonal spanners SW 3 mm
Operating manual
Assembly
ATTENTION! Ensure that the machine is disconnected from the mains supply.
Assembly of the grinding belt table 
Slide the grinding belt table on, above the grinding belt, and fasten it under the table with the locking lever and the washer (2a and 2b ).
The locking lever is pre-tensioned by a spring and can be adjusted by pulling the grip.
ATTENTION!! To prevent fingers from being squeezed between the band and table a minimum separation of 2 mm has to be maintained between the table and grinding band.
Assembly the plate-grinding table 
Slide the plate-grinding table (3) so the lugs fit into the notch on the machine and press the table up until the drilled holes match, and secure it with the locking screws and washers (3a and 3b) on both sides.
Mounting the vacuum connector 
Mount the vacuum connector (4) to the machine using the slotted screws and washers (4a and 4b).
Next, fit the guard (4c) using the bolt (4a and 4d). Make sure the guard reaches onto the lower edge of the sanding table.
If the sanding table is inclined, the guard must be adjusted for height.
Mounting the rubber feet 
Mount the 4 rubber feet (1 a) to the base plate
ATTENTION! If the machine has a tendency to move or tilt during operation, it must be restrained in the workspace by four screws (not provided).
Operation as a stationary machine
If your belt/disc sander is to be used in a permanent location, it is recommended you secure it to a workbench or other stable surface. When mounting the belt/disc sander to a workbench, holes should be drilled through the supporting surface of the workbench.
- Mark holes on the workbench where belt/disc sander is to be mounted using holes in the base as a template for hole pattern.
- Drill holes through the workbench.
- Place belt/disc sander on the workbench aligning holes in the base with holes drilled in the workbench.
- Insert bolts (not included) and tighten securely with lock washers and hex nuts (not included).
Note: All bolts should be inserted from the top. Install the lock washers and hex nuts from the underside of the workbench.
Operation as a mobile machine
If your belt/disc sander is to be used as a portable tool, it is recommended you fasten it permanently to a mounting board that can easily be clamped to a workbench or other stable surface. The mounting board should be of sufficient size to avoid tipping while belt/disc sander is in use. Any good-grade plywood or chipboard with a 3/4 in. (19 mm) thickness is recommended.
Initial operation
Settings
ATTENTION! Ensure that the machine is disconnected from the mains supply.
Adjustment of the grinding belt 
The belt has already been factory-preset.
The correct position is for it to run in the middle of the rollers.
By turning the adjustment screw, (9), the belt can be adjusted to the left or the right.
Adjustment of the grinding belt table 
Normally the table is used at an angle of 90° to the grinding belt.
The table has an adjustment screw to fix the table’s 90° angle to the belt. Adjustment is made as follows:
- Release the table, with the locking lever, and lift it as far as possible backwards.
- Place a 90° steel set square on the table, touching the other side of the belt.
- If the angle does not equal 90°, readjust the screw (d) with the hexagonal spanner until the table is exactly at 90°.
- The table can be tilted forward. Release the locking lever, tilt the table to the desired angel and fasten the locking lever again.
Adjustment of the plate-grinding table
To ensure that the table is at 90° to the grinding plate, place a template on the table against the plate.
If a readjustment is necessary, release the two locking screws (e) and alter the position to 90°.
Then, tighten the two locking screws (e) again.
The table can be inclined downwards by up to 45°.
Operating notes and functions
Note: Work very carefully when grinding very thin workpieces. Only apply as much pressure as necessary for grinding.
Warning: There can be powerful recoil if the workpiece touches the right side of the grinding plate. Non-compliance with this warning can cause serious injuries.
Grinding a convex surface on the grinding plate:
To grind convex surfaces always use the grinding plate.
The workpiece has to be pushed from the left side to the centre of the plate.
- Keep a strong hold of the workpiece. Make sure your fingers do not touch the grinding belt.
- Press the workpiece firmly against the grinding plate.
Slide the workpiece on the left side so as to use the whole surface of the grinding plate.
Grinding of bevels and angles 
The working table can be adjusted freely, from 0° to 45°.
To do this, loosen the two locking screws.
Set the table to the desired inclination.
ATTENTION!!
Even when inclined, the separation between the working table and the grinding-plate must never be more than 2mm!
Tighten the locking screws again.
Grinding fronts with the transverse cutting template 

The transverse cutting template provided facilitates precise grinding. We recommend its use for grinding of (short) fronts.
Note! Always move the work piece from the left to the centre of the grinding plate, never beyond!
Risk of injury, as the work piece can be thrown off!
Surface grinding on the grinding belt.
Keep a firm hold on the workpiece. Take care of your fingers! Risk of injury!
Move the workpiece evenly over the grinding belt by pressing it firmly on the table.
ATTENTION!! Be especially careful when grinding very thin or long material (possibly even without a grinding table).
Do not use too strong pressure or the ground material will not be removed from the grinding belt.
Initial operation
Turning the grinding machine on and off 
The switch (7) is located on the terminal box. To turn the machine on, press “I” (green). To turn the machine off, press “O” (red).
Transverse cutting template 
A transverse cutting template (12) is provided for use on the grinding table.
The template can be used for angles of up to 45°, to the left or right, by releasing the locking button and adjusting the transverse cutting template to the desired angle. The button is then tightened again.
Backing plate for belt 
The backing plate, (f), is a very robust piece of steel, providing a good backing surface during grinding. The plate has to be adjusted so it almost touches the grinding belt. For adjustment, release the two screws holding the plate in the machine rack. Then adjust the plate and tighten the screws again.
To remove the plate to perform special jobs (e.g. for polishing or grinding contours), loosen the two attachment screws.
Exhaust 
There are two dust extraction connectors, (g-h), with a diameter of 38mm, which can be connected easily to a vacuum system. There is an exhaust device for the belt and the grinding table.
Electrical Connection
The installed electric motor is connected ready-for-use. The connection accords with the respective VDE and DIN regulations.
The customer’s mains supply, as well as the extension cords used, also has to comply with these regulations.
Connection and repair of electrical equipment is only to be carried out by a specialist electrician.
Maintenance
ATTENTION! Always unplug the mains plug for cleaning or maintenance work.
Warning: Only use OEM parts for maintenance work.
Using parts other than original parts can cause damage to the machine.
In general:
- Ensure that the connection cables are in a good condition and do not have any cuts.
- Ensure that the moving parts are aligned perfectly, firmly attached and not obstructed in their movement.
Lubrication:
Use lubricant in cans for the moving parts.
Cleaning:
Clean the motor cover and the machine and vacuum up the dust.
Assembly and disassembly of the grinding belt 

- Loosen the locking screw (a) on the upper cover (e).
- Loosen the crosshead screws (b) holding the lateral cover. Fold the lateral cover and raise it (two pins of the machine rack).
- Release the guiding button on the belt (c). Remove the grinding belt (d) from the three rollers.
- Install a new band and replace the cover (e) on. Tighten the screws again.
Make sure the belt is running centrally. If necessary, adjust it (see chapter “belt guide”).
Disassembly and assembly of the grinding-plate 
If the grinding disc (e) is worn, pull it off the grinding plate. (Velcro® fastening) Place the new disc on the center and push it on to the grinding plate.
ATTENTION! Remove the grinding disc if it does not run circularly. Readjust it.





















