Instruction Manual
242 L Upright Freezer
INSTRUCTION MANUAL
MODEL: AK-242-UF
Important Safety Instructions
READ CAREFULLY AND KEEP FOR FUTURE REFERENCE
Read this manual thoroughly before first use, even if you are familiar with this type of product. The safety precautions enclosed herein reduce the risk of fire, electric shock and injury when correctly adhered to. Keep the manual in a safe place for future reference, along with any warranty information, your purchase receipt and packaging carton. If applicable, pass these instructions on to the next owner of the appliance.
Pay particular attention to messages that follow this safety alert symbol or the words DANGER, WARNING or CAUTION. These words are used to alert you to a potential hazard that can seriously injure you and others. The instructions will tell you how to reduce the chance of injury and let you know what can happen if the instructions are not followed.
This symbol alerts you to take care as the appliance contains flammable materials: isobutane as refrigerant and cyclopentane as insulation blowing gas. While isobutane (R600a) is a gas with a high level of environmental compatibility, it is nevertheless flammable. Do not expose the appliance to high heat, sparks and open flames. During transport and installation, ensure that none of the components of the refrigerant circuit become damaged.
Refrigerant matters
WARNING: Do not damage the refrigerant circuit! Never use an appliance with a damaged refrigerant circuit! If the refrigerant circuit becomes damaged, avoid proximity to open fires and all types of heat and ignition sources. Thoroughly ventilate the room in which the appliance is located.
The room for installing the appliance must be at least 1m³ per 8g of refrigerant.
The amount and type of refrigerant in the appliance can be found in the Technical Specifications on page 19 and on the appliance rating plate.
It is hazardous for anyone other than an authorised service person to service this appliance.
In Queensland, the authorised service person MUST hold a Gas Work Authorisation for hydrocarbon refrigerants to carry out servicing or repairs which involve the removal of covers.
Responsible disposal
At the end of its working life, do not throw this appliance out with your household waste.
Electrical and electronic products contain substances that can have a detrimental effect on the environment and human health if disposed of inappropriately. Observe any local regulations regarding the disposal of electrical consumer goods and dispose of it appropriately for recycling and recovery of the refrigerant and blowing agent.
WARNING! This refrigeration appliance contains flammable refrigerants and insulation blowing gases, which must be removed before disposal. Contact your municipal authorities for any codes or regulations concerning the disposal of such materials.
DANGER! Risk of child entrapment: When discarding this or another freezer, make sure to take off the door and leave the drawers in place so that children cannot easily climb in and get trapped inside. If the discarded appliance has a spring lock (latch) on the door or lid, make the spring lock unusable to prevent it from becoming a death trap for children.
To reduce the risk of fire, electric shock or injury, always follow basic safety precautions and accident prevention measures when using this appliance, including the following:
Electrical safety
- Voltage: Plug the appliance in a 220-240V, 50Hz, properly earthed power outlet, which must be in good working order. Make sure your outlet voltage and circuit frequency correspond to the voltage stated on the appliance rating label.
- Power connection: Do not use an adaptor; do not use an extension cord. Plug the power plug directly into a separate power point that cannot easily be turned off accidentally, and that is easily accessible so you can switch it off when required.
- Power cord: Do not kink or damage the power supply cord. Do not try to lengthen it.
Do not use a cord that shows cracks or abrasion damage along its length or at either end. Any damage to the cord may cause a short circuit, fire and/or electric shock. If the power cord is damaged, it must be replaced by the manufacturer or its service agent.
WARNING: When positioning the appliance, ensure the supply cord is not trapped or damaged.
WARNING: Do not locate multiple portable socket outlets or portable power supplies at the rear of the appliance. - Disconnection: Never unplug the unit by pulling the cord. Always grip the plug firmly and pull straight out from the power point.
- All electrical work for the installation must be carried out by a licensed electrician.
Usage conditions and restrictions
- Domestic use only: This appliance is intended to be used in household and similar applications, such as staff kitchen areas in shops, offices, in farm houses and in other working environments, use by clients in hotels, motels, bed and breakfast establishments, other residential type environments and in catering and similar nonretail applications. It is NOT suitable for commercial or industrial use. Do not use this appliance for anything other than its intended purpose, and only use it as described in this manual.
Do not attempt to alter or modify this appliance in any way. - Usage restrictions: This appliance is not intended for use by persons (including children) with reduced physical, sensory or mental capabilities, or lack of experience and knowledge, unless they have been given supervision or instruction concerning the use of the appliance by a person responsible for their safety.
- Children: Supervise children to ensure they do not play with the appliance. Close supervision is necessary when any appliance is used by or near children. Never allow children to operate, play with or crawl inside the appliance.
- WARNING! Do not use any electrical appliances (such as ice cream makers) inside refrigeration appliances, unless they are approved for this purpose by the manufacturer.
Cleaning and maintenance
- Disconnect: Switch off and unplug the appliance from the mains socket before cleaning, maintenance or servicing. Failure to do so can result in electric shock, injury or death. Do not connect or disconnect the plug when your hands are wet.
- Flames: Do not let open flames or ignition sources enter the appliance.
- Flammable/explosive substances: Never clean this appliance with flammable fluids.
Do not store or use volatile, flammable or explosive substances such as aerosol cans with a flammable propellants in or close to this or any other appliance. The fumes can create a fire hazard or explosion. - Solvents: Do not use solvent based cleaning agents or abrasives on the interior as these may damage or discolour the surfaces of the appliances.
- WARNING! Do not use mechanical devices or other means to accelerate the defrosting process, other than those recommended by the manufacturer. Never use a sharp or metal instrument to remove frost or clean the freezer. Use a plastic scraper, if necessary.
- Service: Do not attempt to repair, modify or replace any part of the appliance unless specifically recommended in this manual. Refer all other servicing to a qualified service technician, or contact the after sales support centre for advice.
Installation (see page 8 for comprehensive installation instructions)
- Heavy: This appliance is heavy, take care when moving it. To avoid back or other injury, consider a two person lift or mechanical aid when installing it. Failure to do so can result in back or other injury.
- Freestanding design: This appliance is designed to be freestanding only and should not be recessed or built in.
- Keep it upright: Do not tilt the freezer more than 45º from upright when moving it.
- Handle with care: Do not apply force to any part such as the condenser or door.
- WARNING: Ventilation: To ensure proper ventilation, keep any ventilation openings, in the appliance enclosure or in the built-in structure, clear of obstructions. Ensure adequate air circulation around the appliance to prevent overheating. Use spacers (if supplied) to prevent warm parts (compressor, condenser) coming into contact with the wall.
- Level: Install the appliance level in order to ensure proper operation (see page 8).
- Location: Install the appliance in an area that meets the following requirements:
- Ambient temperature: The ambient temperatures must correspond to the climate class (T) indicated on the rating plate of the appliance (16°C–43°C).
- Floor surface: The floor must be sturdy, level (or nearly level) and strong enough to support the unit when it is fully loaded. If you must position the appliance on carpet, use a plastic carpet protector underneath the appliance.
- Areas to avoid: Avoid areas where the appliance would be exposed to direct sunlight, sources of heat (stove, heater, radiator, etc.), extremely cold ambient temperatures or excessive moisture and high humidity (such as outdoors or exposed to wind, rain water spray or drips). Installing it in the coolest area of the room will save energy consumption and running costs.
Product Overview
Scope of delivery

Upright freezer
1 Thermostat knob
2 Transparent drawers
3 Levelling feet
4 Freezer door
Other inclusions (not shown)
Instruction manual
Warranty certificate
NOTE: Due to continued product improvement, images and illustrations in this manual may vary slightly from the product purchased. All images in this manual are for reference purposes only. Parts are not necessarily pictured to scale.
Getting Started
Unpacking
- Packaging materials: This product has been packaged to protect it against transportation damage. Remove all packaging materials from around and inside the appliance and keep the original packaging carton and materials in a safe place. It will help prevent any damage if the product needs to be transported in the future, and you can use it to store the appliance when it is not in use. In the event that the carton is to be disposed of, please recycle all packaging materials where possible. Plastic wrapping can be a suffocation hazard for babies and young children, so ensure all packaging materials are out of their reach and disposed of safely.
- Parts: Check to ensure you have all the parts listed in the Product Overview section.
- Damage: When unpacking, check the appliance carefully for damage. If it is damaged, do not install the appliance. Contact our after sales support centre for advice on examination or return of the damaged appliance.
- Power cord: Unwind the power cord to its full length and inspect it for damage. Do not use the appliance if the appliance or its cord has been damaged or is not working properly. In case of damage, contact our after sales support centre for advice on examination, repair or return of the damaged product.
- Read the manual: Before installing your new freezer, read all safety instructions, especially the sections on installation and electrical safety on pages 4–5. Installation instructions follow on the next page.
- Clean: Make sure the freezer is disconnected from the power supply before cleaning the interior surfaces and all internal accessories with lukewarm water with a little baking soda added (about 2 tablespoons of baking soda to 1 litre of water) and a soft cloth. This will remove any dust from transit and storage and help remove the typical smell of a brand new product. Then dry thoroughly.
IMPORTANT: Do not use harsh or abrasive detergents or powders as these will damage the finish. - Door opening: Your freezer has the capability of the door opening from the right or left side. If your set-up requires reversal of the door swing and/or external handle, please follow the instructions on pages 15-18.
- Your new freezer is now ready for installation.
Installation
Space requirements
- Door opening: Place the unit so there is enough space for the door to open easily (Fig. 1).
- Clearances: Ensure that air can circulate freely around the back of the cabinet, which is necessary to cool the appliance parts. Allow at least 5cm at the sides of the unit.

- Overhanging wall units: To ensure best performance, if the appliance is positioned below an overhanging wall unit, the minimum distance between the top of the cabinet and the wall unit must be at least 10cm. Ideally, however, the appliance should not be positioned below overhanging wall units.
Levelling
The appliance must be installed level in order to work properly. If the unit is not level, the doors and magnetic seal alignments will not be covered properly.
- To level the unit, adjust one or both levelling feet at the front base of the cabinet (Fig. 2).

Electrical connection
- WARNING! It must be possible to disconnect the appliance from the mains power supply; the plug must therefore be easily accessible after installation.
- Before plugging in your new freezer, let it stand upright for at least 4 hours. This will allow the refrigerant gases to settle into the compressor and reduce the possibility of a malfunction in the cooling system.
- The appliance must be earthed. The plug of the power supply cord is equipped with a contact for this purpose. Do not under any circumstances cut or remove the third (earth) prong from the power cord. If the plug does not fit your outlet, consult a licensed electrician for advice to have the outlet changed.
- Plug the unit into a dedicated, properly installed and earthed wall outlet. Ensure that your outlet voltage and circuit frequency correspond to the voltage stated on the appliance rating label.
- Secure the power supply cord behind the unit. Do not leave it exposed or dangling to prevent injury and accidental disconnection from the power supply.
- Adjust the temperature control as described on page 9.
- When first starting up, and after a period out of use, allow the unit to cool down on the MAX setting for at least 2 hours before placing food in the freezer.
Operating Instructions
Temperature setting
The temperature control is located at the top of the freezer frame (Fig. 3). The MIN mark indicates the warmest setting, NORMAL is the medium setting suitable for normal use, and MAX is the coldest setting.
- The first time you turn the unit on, set the control to the MAX position. Then, after about 24 hours, adjust the temperature control to the setting that suits your needs.

- To turn the freezer off, turn the temperature control to MIN, which will stop cooling. Then unplug the unit from the power supply.
NOTE: The unit may not work at the set temperature on particularly hot days, or if the door is opened too frequently. To ensure efficient operation, do not open the door unnecessarily or for prolonged periods of time.
The freezer compartment
The freezer compartment is suitable for freezing domestic quantities of fresh food and long-term storage (up to three months) of frozen food. It is designed to operate in ambient (surrounding air) temperatures between 16°C and 43°C. For convenient access and organised storage, the freezer compartment is equipped with seven transparent, easy to pull out drawers.
Freezing fresh food
- Only freeze fresh food that is suitable for freezing.
- Do not store food uncovered in the freezer. Always use good quality, freezer-proof packaging to maintain food quality. Remove air from packages of solid food and seal bags tightly before freezing.
- Ensure that food placed in the freezer is dated and labelled. This will help you keep track of storage times.
- Keeping portions small will ensure they are frozen (and subsequently defrosted) rapidly.
- Make sure that fresh, unfrozen food packages do not touch food that is already frozen, thus avoiding a temperature rise in the frozen food.
- When freezing food, do not push food together too much, leave some space for air to circulate around each item. Do not place packages directly against the back wall.
- When adding large amounts of fresh food to the freezer, keep in mind that it will take approximately 24 hours for fresh food to freeze to solid frozen state. For best results, do not add other fresh food to the freezer drawer during this time.
- Do not place hot foods or liquids which may evaporate in the freezer compartment.
Storing frozen food
- When buying frozen food, only buy quantities that you can store straight away; use an insulated container for your shopping and when you get home, place the food in the freezer immediately.
- When storing pre-packed, commercially frozen food, follow the food manufacturer’s instructions for storing the food in a home freezer. Do not exceed any storage times listed on the packaging.
- Once you have opened a packet of frozen food, rewrap it airtight to prevent surface evaporation which causes drying or freezer burn.
- Do not place carbonated liquids such as bottles of fizzy drink in the freezer as the container could explode under pressure and damage the freezer.
- Do not refreeze food once it has been defrosted.
- Frozen food which has thawed accidentally should either be used immediately or thrown away. Alternatively, if the food is uncooked and has not been completely defrosted, it may be cooked and then refrozen.
- CAUTION! Do not remove items from the freezer if your hands are damp or wet as this could cause skin abrasions.
Saving energy
- Locate the freezer in the coolest area of the room, away from heat-producing appliances and out of direct sunlight.
- Let hot foods cool to room temperature before placing them in the freezer. Overloading the freezer forces the compressor to run longer.
- Wrap foods properly and wipe containers dry before placing them in the freezer. This cuts down on frost build-up inside the unit.
- Do not line the freezer storage drawers with aluminium foil, wax paper or paper towelling. Liners interfere with cold air circulation, making the freezer less efficient.
- Do not pack food packages close together as this prevents air circulating.
- Organise and label food to reduce door openings and extended searches. Remove as many items as needed at one time and close the door as soon as possible.
- Do not open the freezer door unnecessarily or for too long, especially during a power failure.
- Do not run the appliance permanently on the MAX temperature setting. The MAX setting is recommended on very hot days, or when you have added a large quantity of fresh food.
Power failure
Most power failures are corrected within a few hours and should not affect the temperature inside your freezer, if you minimise the number of times the door is opened. However, if the power is going to be off for a longer period of time, you need to take proper steps to protect your food.
Do not refreeze frozen food without checking its condition first.
If in doubt, discard the food. Do not refreeze food that has thawed completely.
Going away?
Short vacation: Leave the freezer operating during vacations of less than a month.
Long vacation: If you are not going to use the freezer for longer periods, remove all food and unplug the power cord. Clean and dry the interior thoroughly. To prevent odour and mould growth, leave the door open slightly, blocking it open, if necessary.
(Restrict children’s access to the room with the open freezer to avoid creating a child entrapment risk.)
Moving the freezer
Remove all food from inside the freezer, securely tape down the drawers and tape the door shut. Turn the levelling feet up to the base to avoid damage.
Protect the outside of the unit with a blanket or similar soft material and make sure the freezer stays secure in the upright position during transportation.
Storage
If the freezer is not going to be used for an extended period of time, store the unplugged, cleaned appliance safely in the original packaging in a dry location, out of children’s reach.
FAQs & Troubleshooting Guide
If you experience a problem with your freezer, check in the following table for solutions to help you solve the problem. If after these checks you still have a problem with your freezer, call the after sales support line for advice.
CAUTION: Before troubleshooting, disconnect the power supply. Any troubleshooting that is not mentioned in this manual may only be carried out by a qualified electrician or similarly qualified person.
| Problem | Possible cause and solution |
|
Appliance does not work. | Check and ensure that the mains plug is securely plugged into the power point and power to the socket is switched on. |
| Check the fuse and replace, if it has blown or is defective, or reset a tripped circuit breaker. | |
| Ensure that there is power at the socket (plug another appliance into the outlet to check that it is working). | |
| Food freezes too much. | If the appliance runs at the MAX setting, reset the temperature control to a warmer setting temporarily. |
|
Food is not frozen enough. | Reset the temperature to a colder setting. |
| Make sure the door is only opened for as long as is necessary. Do not keep it open for an extended period. | |
| If you have added a large quantity of warm food in the appliance within the last 24 hours, turn the temperature control to a colder setting temporarily. | |
| Make sure the appliance is not located near a heat source. | |
| Heavy build-up of frost on the door seal. | This is a sign that the door seal is not air-tight. Carefully warm the leaking sections of the door seal with a hair dryer (on a cool setting). At the same time shape the warmed door seal by hand in such a way that it sits correctly. |
| The door will not open. | If the door has just been opened, leave it for a few minutes to allow the air pressure to equalise before trying again. |
| The door will not close. | Ensure the freezer is properly levelled and the door gasket is clean. |
| Unusual noises. | Check and ensure that the appliance is level. If necessary, adjust the levelling feet. |
| If the appliance is touching the wall or other objects, move it slightly. | |
| Some sounds are normal during use and no cause for concern. These include whirring or pulsating noises from the compressor, faint gurgling or bubbling sounds from the refrigerant circulation and clicking noises from the temperature control cutting in and out. |
| Problem | Solution |
| The external freezer surfaces are warm. | The exterior freezer walls (side panels) can be warmer than room temperature. This is normal while the compressor works to transfer heat from inside the freezer cabinet. If necessary, please use protective gloves when touching the sides of the appliance. |
| The com- pressor runs continuously, or turns on and off very frequently. | Select a lower temperature setting. |
| Check that the door is closed completely and that the door gasket is clean and seals properly. | |
| Large quantities of food have recently been placed in the cabinet and/or the door is frequently opened. | |
| Check that ventilation openings are not obstructed. | |
| If the freezer was recently disconnected for some time, it will need some time before it will have cooled down to the set temperature. | |
| If the room temperature is hotter than usual, the compressor has to work harder to maintain the correct temperature. | |
| Excessive frost and ice has built up. | Ensure the door is not left open. |
| Check that nothing is preventing the door from closing. | |
| Check that the door gasket is intact and clean. | |
| Ensure the freezer is defrosted periodically. | |
| Vibrations | Ensure the floor is even and the freezer is not touching a wall. |
Other Useful Information
WARNING!
Before defrosting or cleaning the freezer, make sure it is switched off and disconnected from the power supply. Failure to do so can result in electric shock or injury.
Defrosting the freezer
For efficient operation and minimum energy consumption, defrost the freezer when the frost on the freezer walls is building up; do not let it build up to more than 3–4mm thick. Turn the temperature control to the MIN position, unplug the freezer and remove the food and storage drawers. (Keep any frozen food temporarily in a fridge or cooler bag to keep defrosting to a minimum.)
Keep the door open and place a tray and old towel underneath the freezer to collect the defrost water. Discard the defrost water and clean the freezer as described below.
Cleaning the freezer
For hygienic reasons the appliance interior surfaces and accessories should be cleaned regularly. We recommend cleaning the freezer after defrosting it, while all frozen food and drawers are already removed from the compartment. Make sure the freezer is unplugged from the power supply, the temperature control is set to MIN and all food and storage drawers are removed.
Wash the inside surfaces and the interior accessories with a damp, warm cloth moistened in a water and baking soda solution. The solution should be about 2 tablespoons of baking soda to 1 litre of water. Rinse and wipe dry with a soft cloth. Clean the outside of the unit with a damp, well wrung out cloth, making sure the area of the controls remains dry. Keep the door gasket (seal) clean.
After everything is dry, place appliance back into service.
WARNING!
When defrosting the freezer:
- Never use sharp or metallic tools to scrape off frost from the evaporator as you could damage it. To scrape ice off surfaces, use a plastic scraper.
- Do not use boiling water to accelerate defrosting as it may damage the plastic parts.
When cleaning the freezer:
- Never clean the unit with an abrasive, acid, oil or solvent-based cleaning agent, or with abrasive pads or scourers. Never use flammable fluids or sprays for cleaning as the fumes from these substances can create a fire hazard or explosion.
- Never clean the appliance with a steam cleaner. Moisture could accumulate in the electrical components, danger of electric shock! Hot vapours can lead to the damage of plastic parts.
- Ethereal oils and organic solvents can attack plastic parts, e.g. lemon juice or the juice from orange peel, butyric acid, or cleansers that contain acetic acid. Do not allow such substances to come into contact with the appliance parts.
Door reversal
This appliance has the capability of opening the door from either the left or right side.
If your set-up requires changing the opening direction, proceed as follow:
IMPORTANT!
You will need:
- Make sure you have someone there to help you, do not try to do this on your own.
- It will be necessary to tilt the unit back when taking the door off. You should rest the unit on something solid so that it will not slip during the door reversal process.
- Have some soft foam packaging or similar material (blanket or towel) ready to laythe appliance door on. Do not lay the unit flat as this may damage the coolant system.
- You will need a flat-bladed and Phillips head screwdriver and a hexagonal spanner (not supplied).
Before you begin:
- Unplug the appliance from the mains electricity supply (if connected).
- Empty all food and drawers out of the appliance (if applicable).
- Adjust the levelling legs to their highest level.
- Keep all parts you remove for re-installation of the door on the other side.
- Unscrew the hinge cover (Fig. 4).
- Open the door and unscrew the top hinge (Fig. 5). Then take the door off the cabinet and place it in a safe position where it will not get damaged.

- Remove the cover and screws at the left side and fit them to the right side (Fig. 6).
- Carefully lay down the rear of the cabinet on a soft pad. Remove the two levelling feet first, then unscrew the door hinge and the left foot base (Fig. 7).
CAUTION! If there is a screw left at the front corner, remove it before installing the hinge.
- Unscrew and remove the bottom hinge pin (Fig. 8), turn the bracket over and replace it (Fig. 9).

- Install the hinge at the left side and the foot base at the right side. Then screw the two levelling feet with their original parts (Fig. 10).
- Unscrew the top hinge pin and mount it to the left hole (Fig. 11).

- Place the unit upright. Put the door on the bottom hinge, making sure the bottom hinge core is inserted in the door hole. Then fit the upper hinge with the door (Fig.12).
- Before tightly fixing the upper hinge, try to open the door to check whether the cabinet is sealed well. Finally, attach the hinge cover over the hinge.

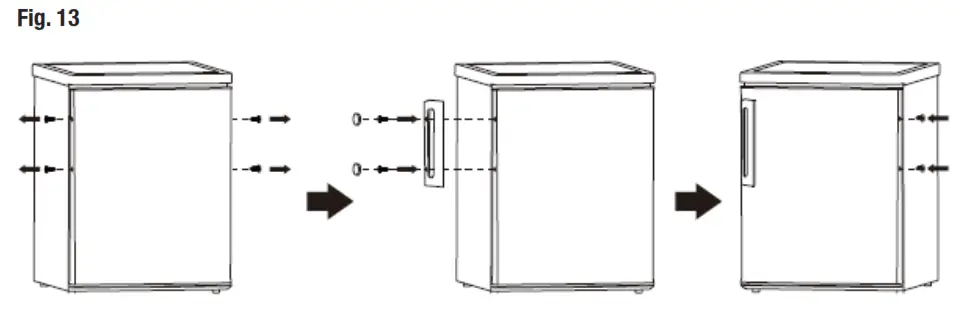
External handle installation
If the handle needs to be repositioned, please follow the pictorial instructions below (Fig. 13).
Service and repair
Do not attempt to alter or modify this appliance in any way. Do not attempt to repair or replace any part of the appliance unless it is specifically recommended in this manual. All other servicing should be referred to a qualified technician and only genuine spare parts must be used.
Technical specifications
| Model number | AK-242-UF |
| Rated voltage | 220-240 V~ |
| Rated frequency | 50 Hz |
| Rated current | 0.70 A |
| Climate class | T |
| Electrical protection class | I |
| Refrigerant | R600a (85 g) |
| Insulation blowing agent | Cyclopentane |
| Volume | 242 L |
| Dimensions | 1700 (H) x 600 (D) x 600 (W) mm |
| Net weight (approx.) | 59 kg |
Compliance
This product has been fully tested and meets all requirements as set out by standards AS/NZS 60335.1 and AS/NZS 60335.2.24.
The RCM Mark (Regulatory Compliance Mark) indicates that the product complies with the relevant guidelines of the ACMA as well as corresponding government requirements for the safety of electrical devices.
This marking indicates that the appliance is suitable for use in tropical climates under ambient temperatures of 18 °C to 43 °C.
Warranty returns
Should you for any reason need to return this product for a warranty claim, make sure to include all accessories with the product.
Product does not work?
If you encounter problems with this product, or if it fails to perform to your expectations, make sure to contact our After Sales Support Centre on (AU) 1300 886 649 or (NZ) 0800 836 761 for advice.
For an electronic copy of this manual, please contact our after sales support centre.
Distributed by Tempo (Aust) Pty Ltd ABN 70 106 100 252
PO BOX 132 Frenchs Forest, Australia NSW 1640
Customer Helpline:
(AU) 1300 886 649 (NZ) 0800 836 761
Email: [email protected]
IM Version No: V1.0
Issue: April 2021
After Sales Support
(AU) 1300 886 649 (NZ) 0800 836 761
[email protected]























