ZANUSSI ZMSN5S Microwave Oven

SAFETY INFORMATION
This appliance can be used by children aged from 8 years and above and persons with reduced physical, sensory or mental capabilities or lack of experience and knowledge if they have been given supervision or instruction concerning use of the appliance in a safe way and understand the hazards involved.Children should be supervised to ensure that they do not play with the appliance. Cleaning and user maintenance shall not be made by children unless they are aged from 8 years and above and supervised.
This appliance is not intended for use at altitudes above 2000m.
IMPORTANT!
IMPORTANT SAFETY INSTRUCTIONS: READ CAREFULLY AND KEEP FOR FUTURE REFERENCE.
WARNING!
Do not use the appliance without the turntable and turntable support. Do not use the appliance when empty.
WARNING!
If the door or door seals are damaged, the oven must not be operated until it has been repaired by a competent person.
WARNING!
It is hazardous for anyone other than a competent person to carry out any service or repair operation that involves the removal of a cover which gives protection against exposure to microwave energy.
WARNING!
Liquids and other foods must not be heated in sealed containers since they are liable to explode.
This appliance is intended to be used in household and similar applications such as: staff kitchen areas in shops, offices and other working environments; farm houses; by clients in hotels, motels and other residential environments; bed and breakfast type environments.
Only use microwave-safe containers and utensils. Metallic containers for food and beverages are not allowed during microwave cooking.
Do not leave the oven unattended when using disposable plastic, paper or other combustible food containers.
The microwave oven is intended for heating food and beverages. Drying of food or clothing and heating of warming pads, slippers, sponges, damp cloth and similar may lead to risk of injury, ignition or fire.
If food being heated begins to smoke, DO NOT OPEN THE DOOR. Turn off and unplug the oven and wait until the food has stopped smoking. Opening the door while food is smoking may cause a fire.
Microwave heating of beverages can result in delayed eruptive boiling, therefore care has to be taken when handling the container.
The contents of feeding bottles and baby food jars shall be stirred or shaken and the temperature checked before consumption, in order to avoid burns.
Do not cook eggs in their shells and whole hard boiled eggs should not be heated in microwave ovens since they may explode even after microwave cooking has ended.
CARE AND CLEANING
Door:
To remove all trace of dirt, regularly clean both sides of the door, the door seals and sealing surfaces with a soft, damp cloth. Do not use harsh abrasive cleaners or sharp metal scrapers to clean the oven door glass since they can scratch the surface, which may result in shattering of the glass.
Oven interior:
For cleaning, wipe any splatters or spills with a soft damp cloth or sponge after each use while the oven is still warm. For heavier spills, use a mild soap and wipe several times with a damp cloth until all residues are removed. Do not remove the waveguide cover. Make sure that mild soap or water does not penetrate the small vents in the walls which may cause damage to the oven.
Do not use spray type cleaners on the oven interior. Clean the waveguide cover, the oven cavity, the turntable and turntable support after use. These must be dry and free from grease. Builtup grease may overheat and begin to smoke or catch fire.
Oven exterior:
The outside of your oven can be cleaned easily with mild soap and water. Make sure the soap is wiped off with a moist cloth, and dry the exterior with a soft towel.
Control panel:
Open the door before cleaning to de-activate the control panel.
Care should be taken when cleaning the control panel. Using a cloth dampened with water only, gently wipe the panel until it becomes clean. Avoid using excessive amounts of water. Do not use any sort of chemical or abrasive cleaner. Turntable and turntable support:
Remove the turntable and turntable support from the oven.
Wash the turntable and turntable support in mild soapy water. Dry with a soft cloth. Both the turntable and the turntable support are dishwasher safe.
IMPORTANT!
Clean the oven at regular intervals and remove any food deposits. Failure to maintain the oven in a clean condition could lead to a deterioration of the surface that could adversely affect the life of the appliance and possibly result in a hazardous situation.
Care should be taken not to displace the turntable when removing containers from the appliance.
IMPORTANT!
A steam cleaner should not be used.
The microwave oven is intended to be used built-in.
The appliance and its accessible parts become hot during use.
WARNING!
Children should be kept away to prevent them burning themselves.
IMPORTANT!
Do not use commercial oven cleaners, steam cleaners, abrasive, harsh cleaners, any that contain sodium hydroxide or scouring pads on any part of your microwave oven.
INSTALLATION

INSTALLING THE APPLIANCE
- Remove all packaging and check carefully for any signs of damage.
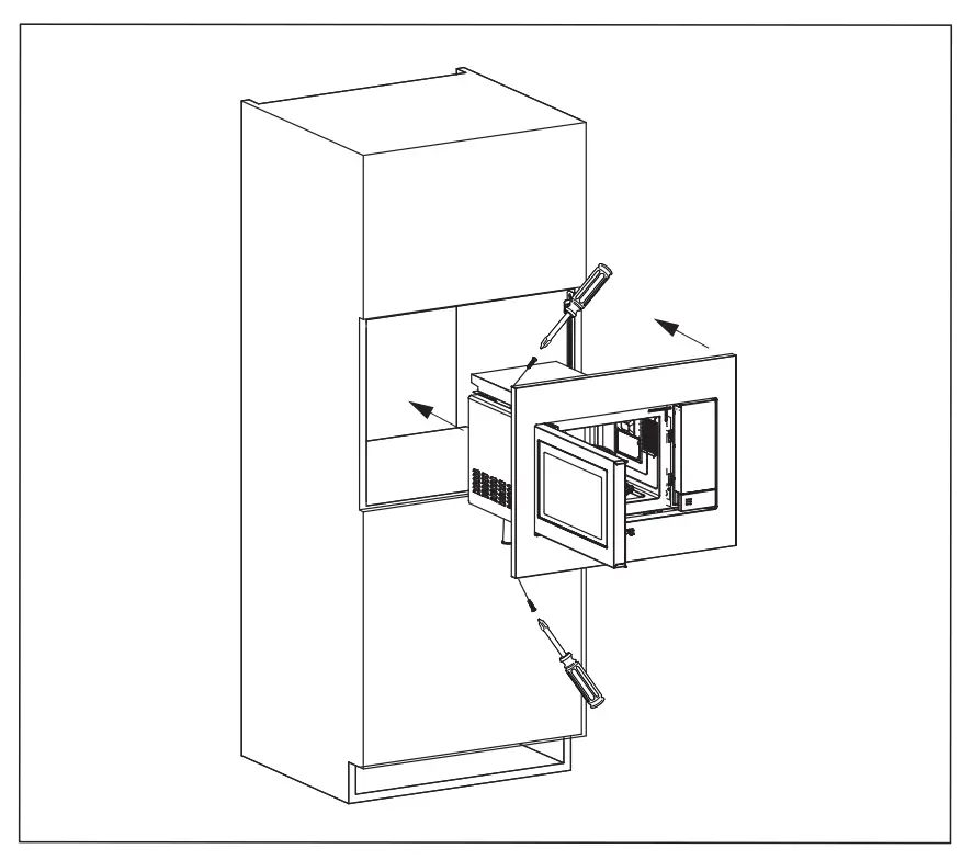
- Fit the fixing bracket to the right hand side of the kitchen cupboard using the installation sheet and two screws supplied.
- Fit the appliance into the kitchen cupboard slowly and without force until it clips into the brackets. Ensure the appliance is stable and centralised.
- Fix the oven on the left hand side using the two screws supplied.
- The front frame of the appliance should seal against the front opening of the cupboard.
IMPORTANT!
Do not install this appliance in kitchen cupboards without the specified 45mm rear chimney. Inadequate ventilation could adversely affect the performance and life of the appliance.
Do not install this appliance in kitchen cupboards that are adjacent to sources of heat and steam such as hobs and cook tops. Such sources could adversely affect the performance and life of the appliance.


CONNECTING THE APPLIANCE TO THE POWER SUPPLY

- The electrical outlet should be readily accessible so that the unit can be unplugged easily in an emergency. Or it should be possible to isolate the oven from the supply by incorporating a switch in the fixed wiring in accordance with the wiring rules.
- The power supply cord may only be replaced by an electrician.
- If the supply cord is damaged it must be replaced by the manufacturer, its service agent or similarly qualified persons in order to avoid a hazard.
- The socket should not be positioned behind the cupboard.
- The best position is above the cupboard, see (A).
- Connect the appliance to a single phase 230-240 V/50 Hz alternating current via a correctly installed earth socket.
- If the appliance is to be operated in a nonEuropean country, the supply voltage, current type and frequency of the appliance indicated on the rating plate must correspond with the specification of your power supply. The rating plate can be found on the inside face of the control panel.
- Before installing, tie a piece of string to the power supply cord to facilitate connection to point (A) when the appliance is being installed.
- When inserting the appliance into the highsided cupboard, DO NOT crush the power supply cord.
- Do not immerse the power supply cord or plug in water or any other liquid
- Do not allow the power supply cord to run over any hot or sharp surfaces, such as the hot air vent area at the top rear of the oven.
ADDITIONAL ADVICE
Do not use the microwave oven to heat oil for deep frying. The temperature cannot be controlled and the oil may catch fire. To make popcorn, only use special microwave popcorn makers.
Individuals with PACEMAKERS should check with their doctor or the manufacturer of the pacemaker for precautions regarding microwave ovens.
Never spill or insert any objects into the door lock openings or ventilation openings. In the event of a spill, turn off and unplug the oven immediately and call an authorised ELECTROLUX service agent. Never modify the oven in any way.
Only use the turntable and the turntable support designed for this oven. Do not operate the oven without the turntable.
To prevent the turntable from breaking:
- Before cleaning the turntable with water, leave the turntable to cool.
- Do not put hot foods or hot utensils on a cold turntable.
- Do not put cold foods or cold utensils on a hot turntable.
Neither the manufacturer nor the dealer can accept any liability for damage to the oven or personal injury resulting from failure to observe the correct electrical connection procedure. Water vapour or drops may occasionally form on the oven walls or around the door seals and sealing surfaces. This is a normal occurrence and is not an indication of microwave leakage or a malfunction.
Concerning the lamp(s) inside this product and spare part lamps sold separately: These lamps are intended to withstand extreme physical conditions in household appliances, such as temperature, vibration, humidity, or are intended to signal information about the operational status of the appliance. They are not intended to be used in other applications and are not suitable for household room illumination.
PRODUCT DESCRIPTION
MICROWAVE OVEN

- Front trim
- Oven light
- Control panel
- Door open button
- Waveguide cover (do not remove)
- Oven cavity
- Door seals and sealing surfaces
ACCESSORIES

Check to make sure the following accessories are provided:
- Turntable
- Turntable support
- Place the turntable support on the floor of the cavity.
- Then place the turntable on the turntable support.
- To avoid turntable damage, ensure dishes or containers are lifted clear of the turntable rim when removing them from the oven.
When you order accessories, please mention two items: part name and model name to your dealer or an authorised ELECTROLUX service agent.
WARNING! Do not operate the microwave oven without these parts fitted.
CONTROL PANEL

- Power / Action Selector
- Timer Knob
- Door open button
OPERATION
MICROWAVE COOKING
Microwave cooking allows you to customize the cooking power and time. Maximum cooking time is 30 minutes.
Example: To cook for 5 minutes on medium high.
1. Open the oven door and place the food inside. Close the door.
2. Rotate the power / action selector to medium high.
3. Rotate the timer knob to enter the cooking time and start cooking.
As soon as the timer knob is rotated the oven will start cooking. When selecting time for less than 2 minutes, turn timer past 2 minutes and then return to the correct time. Power levels that are too high or cooking times that are too long may overheat foods resulting in a fire.
CAUTION: Always return the timer back to the zero position when food is removed from the oven or when the oven is not in use. To stop the oven during cooking push the door release button
| Power Output | Description | Icon |
| 100 % | High | ![]() |
| 88 % | Medium High | ![]() |
| 73 % | Medium | ![]() |
| 52 % | Medium Low | ![]() |
| 42 % | Defrost | ![]() |
| 20 % | Low | ![]() |
HINTS AND TIPS
MICROWAVE SAFE COOKWARE
| Cookware | Microwave safe | Comments |
| Aluminium foil/ containers | Small pieces of aluminium foil can be used to shield food from overheating. Keep foil at least 2 cm from the oven walls, as arcing may occur. Foil containers are not recommended unless specified by the manufacturer. Follow instructions carefully. | |
| China and ceramics | Porcelain, pottery, glazed earthenware and bone china are usually suitable, except for those with metallic decoration. | |
| Glassware e.g. Pyrex ® | ✓ | Care should be taken if using fine glassware as it can break orcrack if heated suddenly. |
| Metal | It is not recommended to use metal cookware when using microwave power as it will arc, which can lead to fire. | |
| Plastic/polystyrene e.g. fast food containers | ✓ | Care must be taken as some containers warp, melt or discolour at high temperatures. |
| Freezer/roasting bags | ✓ | Must be pierced to let steam escape. Ensure bags are suitable for microwave use. Do not use plastic or metal ties, as they may melt or catch fire due to the metal arcing. |
| Paper-plates, cups and kitchen paper | ✓ | Only use for warming or to absorb moisture. Care must be taken as overheating may cause fire. |
| Straw and wooden containers | ✓ | Always attend the oven when using these materials as overheating may cause fire. |
| Recycled paper and newspaper | May contain extracts of metal which will cause arcing and may lead to fire. |
MICROWAVE COOKING ADVICE
| Microwave cooking advice | |
| Composition | Foods high in fat or sugar (e.g. Christmas pudding, mince pies) require less heating time. Care should be taken as overheating can lead to fire. |
| Size | For even cooking make all the pieces the same size |
| Temperature o food | The initial temperature of food affects the amount of cooking time needed. Cut into foods with fillings (e.g. jam doughnuts) to release heat or steam |
| Arrange | Place the thickest parts of food towards the outside of the dish (e.g. chicken drumsticks). |
| Cover | Use vented microwave cling film or a suitable lid. |
| Pierce | Foods with a shell, skin or membrane must be pierced in several places before cooking or reheating as steam will build up and may cause food to explode (e.g. potatoes, fish, chicken, sausages
|
| Stir, turn and rearrange | For even cooking it is essential to stir, turn and rearrange food during cooking. Always stir and rearrange from the outside towards the centre. |
| Stand | Standing time is necessary after cooking to enable the heat to disperse equally throughout the food. |
| Shield | Warm areas can be shielded with small pieces of foil, which reflect microwaves (e.g. legs and wings on a chicken). |
Use pot holders or oven gloves when removing food from the oven to prevent burns. Always open containers, popcorn makers, oven cooking bags, etc., away from the face and hands to avoid steam burns.
Always stand back from the oven door when opening to avoid burns from escaping steam and heat. Slice stuffed baked foods after heating to release steam and avoid burns.
TROUBLESHOOTING
| Problem | Check if . . . |
| The microwave appliance is not working properly? |
|
| The microwave mode is not working? |
|
| The turntable is not turning? |
|
| The microwave will not switch off? |
|
| The interior light is not working? |
|
| The food is taking longer to heat through and cook than before? |
|
TECHNICAL INFORMATION
| AC Line Voltage | 230-240 V, 50 Hz, single phase |
| AC Power required: Microwave | 1.2 kW |
| Output power: Microwave | 700 W (IEC 60705) |
| Microwave Frequency | 2450 MHz1) (Group 2/Class B) |
| Outside Dimensions: ZMSN5S | 595 mm (W) x 390 mm (H) x 312 mm (D) |
| Cavity Dimensions | 315 mm (W) x 198 mm (H) x 294 mm (D)2) |
| Oven Capacity | 17 litres2) |
| Turntable | ø 245 mm, glass |
| Weight | approx. 12.7 kga |
- This Product fulfils the requirement of the European standard EN55011. In conformity with this standard, this product is classified as group 2 class B equipment. Group 2 means that the equipment intentionally generates radio-frequency energy in the form of electromagnetic radiation for the heat treatment of food. Class B equipment means that the equipment is suitable to be used in domestic establishments.
- Internal capacity is calculated by measuring maximum width, depth and height. Actual capacity for holding food is less.
ENVIRONMENT CONCERNS
Recycle materials with the symbol
. Put the packaging in applicable containers to recycle it.
Help protect the environment and human health and recycle waste electrical and electronic appliances.
Do not dispose of appliances marked with the symbol with household waste. Return the product to your local recycling facility or contact your municipal office.
Type Approved Safety
Regular Production Surveillance
www.tuv.com
ID 1419066680

























