NEC NP02LK DLP Projector Instruction Manual
Introduction
This is the handling instructions of the support kit for the fixed focus lens NP44ML.
This document describes how to attach the support kit and how to adjust it.
For USA:
About the procedures for mounting the lens unit, please refer to the projector User’s Manual.
For other countries:
To mount the lens unit and the support kit, consult your dealer.
Supported projectors
PA1004UL-W/PA1004UL-B/PA804UL-W/PA804UL-B
NOTE: Illustrations on this instructions may slightly differ from the actual products.
CAUTION
- After installing the lens unit, be sure to secure it to the projector using the support kit. Failure to do so could cause the lens unit to fall, resulting in injury.
- Power off the projector and unplug the power cord before installing the lens unit and the support kit.
Things to prepare
- Phillips head screwdriver
- For ceiling mount or portrait position, a mounting bracket with sufficient strength to support the combined weight of the projector, the lens unit, and the support kit
Included items
- Support bracket
- Screw (M4×10) 8 pcs
- Screw (M4×20) 1 pc
- Adapter

Preparation
Return the projector lens position to the home position without the lens mounted.
For details on connecting the power cord and turning on/off, refer to the projector User’s Manual.
- Connect the power cord to the projector, and then press the
(POWER) button to turn on the power. - Press and hold the ZOOM/L-CALIB button for 2 seconds or longer.
- After the lens movement is finished, press and hold the SHIFT/HOME POSITION button for 2 seconds or longer.
- After the lens movement is finished, wait for 10 seconds or more and then press the
(POWER) button twice to turn off the power to the projector. - Remove the power cord from the projector.
How to install the support kit
Turn over the projector
Lay down the projector cabinet upside down on a table with soft cloth laid. While doing this, align the front of the projector with the end of the table.
CAUTION
- For moving the projector, make sure you have at least two people. Attempting to move the projector alone could result in back pain or other injuries.
Fix the adapter to the lens unit.
As describing on the illustration, put the adapter on the lens unit whose protrusions meet with the screw holes on the adapter and fasten them by 2 screws (M4×10).
NOTE: Do not touch the glass on the lens unit.
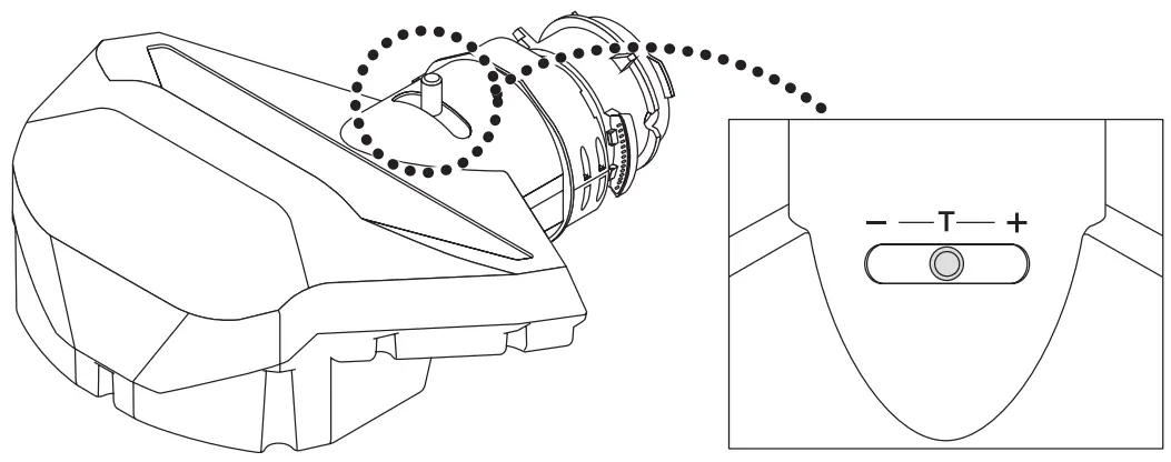
Adjust the tilt of the lens unit.
Adjust the focus balance at the periphery of the projected image.
- For table use: Move the tilt lever to the “+” position.
- For ceiling use: Move the tilt lever to the “-“ position.
- For other uses: Move the tilt lever to the center (around “T” letter)

Mount the lens unit on the projector and adjust the lens position
- According to the instructions on the projector manual, mount the lens unit onto the projector.
- Connect the power cord to the projector and power it on.
- Press and hold the SHIFT/HOME POSITION button for 2 seconds or longer to move the lens to the home position for NP44ML.
- When the lens movement is finished, wait 10 seconds or longer before turning off the power and removing the power cord.

Adjust the support bracket.
- Loosen the wing nut on the support bracket and pull out the L-shaped metal fitting.
- Rotate the dial to align its hole with its top position.

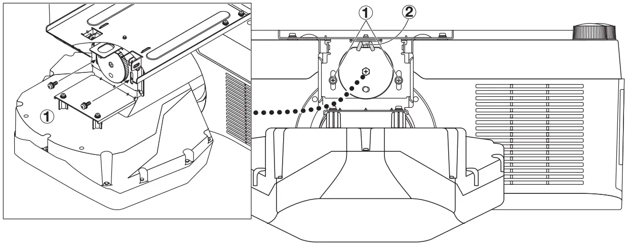
Fix the support bracket to the projector.
As shown on the illustration, place the support bracket and use four screws (M4×10) to tighten them.
Connect the support bracket to the adapter.
Move the L-shaped metal fitting of the support bracket to meet with the adapter, and insert the adapter pin into the hole of dial.
When doing this, make sure that the L-shaped metal fitting and the adapter are so securely fixed that the adapter pin can be seen through the hole of dial.
Tighten a screw to fix the support bracket and the adapter.
- Tighten two screws (M4×10) to fix the L-shaped metal fitting and the adapter.
- Tighten the wing nut.

This completes mounting the support kit.
After installing the projector, connect the power cord and video cables, and then turn on the projector. Finally, adjust various items.
Adjusting the vertical position of a projected image (Lens shift)
To shift the lens, loosen the wing nut and screws that were fastened in step 8 for the support kit installation procedure.
- To adjust the horizontal direction, loosen the wing nut
- To adjust the vertical direction, loosen the two screws
For details on lens shift operations, refer to the projector User’s Manual.
- Tilt adjustment (→ page 18) may be required when the vertical direction is adjusted.
After adjusting, tighten the loosened wing nut and two screws.
Adjusting the focus
- Please read the precautions in the projector user’s manual carefully before using the optional lens NP44ML.
Press the FOCUS button.
The [LENS FOCUS] control screen will be displayed on.
Press ◀▶ buttons to adjust focus of screen center.
- [PERIPHERY] LENS FOCUS is not available for this lens unit.


Press the ZOOM/L-CALIB. button on the cabinet.
The [LENS ZOOM] control screen will be displayed on.
- In another way, press the ZOOM button on the remote control

Press ◀▶ buttons to align the focus of screen peripheral area.

Adjusting the tilt
- Loosen the two screws that were tightened in step 8 for the support kit installation procedure.
- Use your hand or a Phillips head screw driver to rotate the dial of the support bracket, and then adjust the vertical focus balance of the projected image.
- Tighten the two screws that were loosened in step 1.
- Adjust the focus again and check if you have obtained the best focus balance in the vertical direction.

Tilt adjustment during portrait projection
If the lens unit tilts downward when portrait orientation is used with the projector installed vertically, follow the procedure below to adjust the tilt.
- The stand that supports the projector is omitted in the drawings for clarity.
- Loosen the wing nut that were tightened in step 8 for the support kit installation procedure.
- Insert the screw (M4×20) through the screw insertion port on the upper side of the support bracket.
- Turn the screw to adjust the tilt of the lens unit.
- Tighten the wing nut that were loosened in step 1.






























