
Labnet ProBlot™ Rocker 25 and 25XL
Instruction Manual
Catalog Numbers:
S2025-B
S2025-B-230V S2025-D-B
S2025-D-B-230V S2025-XL-B
S2025-XL-B-230V
S2025-XLD-B S2025-XLD-B-230V

![]()
Introduction
Congratulations on purchasing your Labnet ProBlot™ Rocker. This high-capacity benchtop rocker is a basic bench-rocking platform that has been designed for a long life and trouble-free service. The bench rocker speed is adjustable to provide the gentle motion required for staining fragile gels, as well as the more vigorous action necessary for washing blots.
Packaging
| Description | Quantity |
| ProBlot Rocker | 1 |
| Platform | 1 |
- S2025-B and S2025-B-230V models: Single platform
- S2025-D-B and S2025-D-B-230V models: Double platform
- S2025-XL-B and S2025-XL-B-230V models: Large single platform
- S2025-XLD-B and S2025-XLD-B-230V models: Large double platform
| Instruction manual | 1 |
Specifications
Electrical requirements
| Rocker 120V | 120V± 10% – 50/60Hz, 0.3A |
| Rocker 230V | 230V± 10% – 50/60Hz, 0.15A |
| Fuse | |
| Rocker 120V | 2 x 1A (120V) |
| Rocker 230V | 2 x 1A (230V) |
| Speed settings | 5 to 120 tilts/minute |
| Motion | Rocking |
| Tilt range | Fixed 7° |
| Timer | from 0 to 2 hrs., or continuous |
| Maximum load | 11 lbs. (5 kg) |
| Dimensions | |
| Rocker 25 | 11.4 x 12.6 x 5.7 in. (29 x 32 x 14.5 cm) |
| Rocker 25 XL | 12.8 x 14.2 5.7 in. (32.5 x 36 x 14.5 cm) |
| Platform dimensions | |
| Rocker 25 | 11.4 x 8 in. (28.9 x 20.3 cm) |
| Rocker 25 XL | 11.8 x 11.8 in. (30 x 30 cm) |
| Weight | 11.7 lbs. (5.6 kg) |
| Operating conditions | 5°C to 40°C, up to 85% RH, non-condensing |
This device is intended for use in a basic electromagnetic environment (Basic, class B), and it is in compliance with IEC 61326-1.
The Labnet ProBlot Rocker is designed to be safe at least when operated under the following conditions:
- Indoor use
- Altitude up to 2,000 meters
- Pollution Degree 2
Safety Information
Do not use the rocker near water. Ensure that water doesn’t get on the device, particularly during cleaning.
- If the unit is used in a manner not specified by the manual, the degree of protection may be impaired.
- The plug should only be used in a wall outlet with protective earthing.
- The unit should be used with a power supply cord of at least 18 AWG.
- The equipment will not restart if mains power is interrupted.
- The equipment will restart in cases of mechanical interruption.
- Do not expose the rocker to aggressive vapors (e.g., organic solvents).
- Do not insert any objects into the rocker (such as a screwdriver or metal rods).
- Never operate the rocker without the platform securely attached.
- Hazardous samples should be shaken only in appropriate containment vessels.
Do not put your fingers between the rocking platform and the housing. Danger of mechanical injury.
Installation
5.1. Device Placement
When selecting the right place for the device, consider the following:
- Place the device on a smooth, horizontal, and stable surface.
- Leave enough space around the device for normal air circulation (6 in./15 cm minimum).
- Leave enough space around the device, for easy access and maintenance.
- Avoid locations subject to shocks and vibrations.
- Avoid locations subject to frequent power fluctuations or power losses, as this may affect rocker performance.
5.2. Attaching the Power Cord
First, connect the main power cord to the rocker, then connect the plug into a grounded wall socket. Avoid sockets where powerful electric motors, refrigerators and similar devices are also connected.
- Be careful when you plug the cord into the grounded wall socket.
- Do not touch the plug with wet hands.
- Do not pull the plug by the cord.
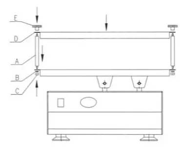
5.3. Installation of Double Stacking Platform
- Set posts (A) through the four holes at the corners of the bottom platform.
- Add a washer (B) and nut (C) to each post.
- Fit the upper platform (D) onto the top of the four posts through the corner holes.
- Screw on the four metal knurl nuts (E) to secure the upper platform.

Operating Instructions
6.1. Control Panel
- POWER switch: Turns the rocker ON (power switch illuminates) or OFF.
- SPEED controller: Sets the rocker speed.
- TIME controller: Sets the timer.
- RUN: Green light illuminates when the rocker is operating.
- START/STOP button: START or STOP the shaking operation.
- HOLD function: Yellow light illuminates, and the rocker operates continuously.
6.2. Basic Operation
- Switch on the POWER.
- Set the SPEED to the desired value.
- Set the TIME to the desired value or to HOLD (the rocker will operate continuously and the yellow light will illuminate).
- Press START/STOP button to start rocking.
- Press START/STOP button to stop rocking when in HOLD position. The device will automatically stop after the set time when using the timer.
NOTE: Pressing the START/STOP button during timed operation will reset the timer.
Troubleshooting
Should you have a question about the Labnet ProBlot™ Rocker 25 and 25XL or require service for the unit, contact Corning Customer service at 800.492.1110 or 978.442.2200. Do not send the unit for service without first calling to obtain a repair authorization (RA) number. The unit should be properly packaged to avoid damage. Any damage resulting from improper packaging shall be the responsibility of the user.
| Problem | Explanation/Solution |
| POWER switch doesn’t illuminate when turned ON | Check the connection to main power supply. Check fuses. |
| Rocker doesn’t start when you press START/STOP key | Check the connection to main power supply. Check fuses. |
Maintenance and Cleaning
- No routine maintenance or lubrication is required.
- It is recommended that the rocker is kept clean to ensure long trouble-free operation.
8.1. Cleaning
Prior to any cleaning or maintenance of the device, unplug the power cord from the wall socket.
The outside housing can be cleaned with a soft, damp cloth when needed. Do not use any aggressive or abrasive cleaners (acetone,
nitro, polish, etc.) as this may permanently damage the rocker finish.
Limited Warranty
Corning Incorporated (Corning) warrants that this product will be free from defects in material and workmanship for a period of one (1) year from date of purchase. CORNING DISCLAIMS ALL OTHER WARRANTIES WHETHER EXPRESSED OR IMPLIED, INCLUDING ANY IMPLIED WARRANTIES OF MERCHANTABILITY OR OF FITNESS FOR A PARTICULAR PURPOSE. Corning’s sole obligation shall be to repair or replace, at its option, any product or part thereof that proves defective in material or workmanship within the warranty period, provided the purchaser notifies Corning of any such defect. Corning is not liable for any incidental or consequential damages, commercial loss or any other damages from the use of this product.
This warranty is valid only if the product is used for its intended purpose and within the guidelines specified in the supplied instruction manual. This warranty does not cover damage caused by accident, neglect, misuse, improper service, natural forces or other causes not arising from defects in original material or workmanship. This warranty does not cover motor brushes, fuses, light bulbs, batteries or damage to paint or finish. Claims for transit damage should be filed with the transportation carrier.
In the event this product fails within the specified period of time because of a defect in material or workmanship, contact Corning Customer Service at: USA/Canada 1.800.492.1110, outside the U.S. +1.978.442.2200, visit www.corning.com/lifesciences, or contact your local support office.
Corning’s Customer Service team will help arrange local service where available or coordinate a return authorization number and shipping instructions. Products received without proper authorization will be returned. All items returned for service should be sent postage prepaid in the original packaging or other suitable carton, padded to avoid damage. Corning will not be responsible for damage incurred by improper packaging. Corning may elect for onsite service for larger equipment.
Some states do not allow limitation on the length of implied warranties or the exclusion or limitation of incidental or consequential damages. This warranty gives you specific legal rights. You may have other rights which vary from state to state. No individual may accept for, or on behalf of Corning, any other obligation of liability, or extend the period of this warranty. For your reference, make a note of the serial and model number, date of purchase, and supplier here.
Serial No. ___________________ Date Purchased ___
Model No. __________________ Supplier ___________
Equipment Disposal
According to Directive 2012/19/EU of the European Parliament and of the Council of 4 July 2012 on waste electrical and electronic equipment (WEEE), this product is marked with the crossed-out wheeled bin and must not be disposed of with domestic waste.
Consequently, the buyer shall follow the instructions for reuse and recycling of waste electronic and electrical equipment (WEEE) provided with the products and available at www.corning.com/weee.
To request certificates, please contact us at www.labnetlink.com.
Warranty/Disclaimer: Unless otherwise specified, all products are for research use or general laboratory use only.* Not intended for use in diagnostic or therapeutic procedures. Not for use in humans. These products are not intended to mitigate the presence of microorganisms on surfaces or in the environment, where such organisms can be deleterious to humans or the environment. Corning Life Sciences makes no claims regarding the performance of these products for clinical or diagnostic applications. *For a listing of US medical devices, regulatory classifications or specific information on claims, visit www.corning.com/resources.
CORNING
| NORTH AMERICA t 800.492.1110 t 978.442.2200 ASIA/PACIFIC Australia/New Zealand t 61 427286832 Chinese Mainland t 86 21 3338 4338 India t 91 124 4604000 Japan t 81 3-3586 1996 | Korea t 82 2-796-9500 Singapore t 65 6572-9740 Taiwan t 886 2-2716-0338 EUROPE [email protected] LATIN AMERICA [email protected] Brazil t 55 (11) 3089-7400 Mexico t (52-81) 8158-8400 |
Corning Incorporated
Life Sciences
www.corning.com/lifesciences
For a listing of trademarks, visit www.corning.com/clstrademarks. All other trademarks are the property of their respective owners.
© 2021, 2022 Corning Incorporated. All rights reserved. 3/22 CLSLN-AN-1021DOC REV2
www.labnetlink.com


















